Оборудование на каждой из секций электровоза ЧС7 (в кузове, под кузовом и на крыше) располагается в основном одинаково. В кузове электровоза оборудование размещается в кабине машиниста, поперечном проходе и машинном отделении.
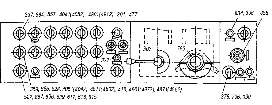
Расположение оборудования в обеих кабинах машиниста (рис. 1 и 2) одинаковое. Всю переднюю часть кабины занимает пульт управления. На средней части пульта с левой стороны расположены (см. рис. 1) кнопки подачи песка 777*, тифона 781, свистка 786 помощника машиниста. Правее от них размещаются (см. рис. 2):
в верхнем ряду: выключатель электродинамического тормоза 337, переключатель реле АЛСН 884, выключатель водоотвода и обогрева влагосборников 557, выключатель мотор-компрессора головной секции 4041 (4052), выключатель токоприемника и разъединителя головной секции 4801 (4812), выключатель управления и быстродействующего выключателя (БВ) 301, отключающая красная кнопка БВ 477;
в среднем ряду: выключатель жалюзи 359, переключатель Д31 (Д32) 885. выключатель вспомогательного компрессора 528, выключатель мотор-компрессора задней секции 4051 (4042), выключатель токоприемника и разъединителя задней секции 481 (482),
Здесь и далее цифровое обозначение аппарата соответствует его обозначению на электрических схемах электровоза. Как правило, в тексте приводятся обозначения из трех цифр. Пели требуется уточнение секции, к которой относится тот или иной аппарат, к его обозначению добавляется четвертая цифра (1 или 2).

Рис. 1. Расположение оборудования в кабине машиниста

Рис. 2. Расположение приборов на средней части пульта управления
выключатель мотор-вентиляторов 418, указатели состояния БВ 0211 486 и БВ 0212 487, кнопка сброса "СП — С" 327;
в нижнем ряду: выключатель освещения тележек 627 (на электровозах до № 41 находится в поперечном проходе), кнопка КГП (2) АЛСН 887, переключатель питания радиостанции 896, выключатель освещения кабины машиниста 629, выключатели левых и правых буферных фонарей 617, 618, выключатель прожектора 615.
Далее на средней части пульта находятся реверсивная рукоятка с реверсивным барабаном 303, штурвал контроллера машиниста с кнопкой свистка 783, сигнальная лампа дефектов 834, главный выключатель ЭПТ 396, ручной переключатель тормоза 358, переключатель ограничения силы электродинамического торможения 378, кнопка выравнивания осевых нагрузок 796. кнопка отпуска тормозов электровоза 390.
Краны управления автотормозами электровоза и поезда расположены справа от машиниста. Рядом с ними на наклонной панели установлены пять манометров для контроля давления в главных резервуарах, тормозной магистрали, уравнительном резервуаре, тормозных цилиндрах и задатчике тормозной силы ЭДТ. Здесь же размещен скоростемер СЛ2М (см. рис. 1) с лампой освещения скоростемера 676.
В верхней части пульта управления расположены (слева направо): розетка и лампа для освещения пульта со стороны помощника машиниста 681, реостат регулирования яркости ламп освещения измерительных приборов 638, выключатель отопления поезда 704, указатели включения контакторов отопления поезда 708, 709, кнопка для проверки напряжения аккумуляторной батареи задней секции 842, вольтметр аккумуляторной батареи 840, киловольтметр 114, пять сигнальных ламп ("О", "С", "СП", "П", "X") положения промежуточного контроллера (ПБК) 850— 854, амперметры силовой цепи тяговых двигателей 120 — 123, амперметр ЭПТ 801, вольтметр ЭПТоШ, три сигнальных лампы
("Т", "П", "С") ЭПТ і<97,сигнальная лампа отпуска тормозов электровоза 670, лампы освещения приборов 666.
Па вертикальной стенке пульта установлены: аппараты поездной радиосвязи 731, 732, рукоятка бдительности 892, переключатель обогрева стекол 718, штепсельная розетка 684, выключатель отопления под ногами 532, переключатель отопления и кондиционера 437. На электровозах до № 41 здесь же расположены выключатели ЭДТ 337 и выключатели жалюзи 359. Внизу под полом находятся обогреватели для ног 535, 534. Под пультом со стороны машиниста находятся педали подачи звуковых сигналов 779 и песка 776. Под боковым окном со стороны машиниста установлен электропневматический клапан автостопа ЭПК-150. Пульт для управления электровозом при маневрах с кнопками "+1" 326, "—" 325, свистка 785 и подачи песка 775 расположен справа от подлокотника со стороны машиниста (на рис. 1 не показан).
На потолке кабины размещены кнопка ВК1 (2) АЛСН 886, вентиляторы 540, 542 с соответствующими выключателями 541, 543, лампы освещения кабины 665, громкоговорители радиостанции 734, 735. Вверху над пультом управления со стороны машиниста находятся панели сигнализации 827, 828 соответственно для 1-й и 2-й секций с сигнальными лампами (справа налево): "Защита ход", "Защита тормоз", "Вентиляция тяговых двигателей", "Нагрев подшипников редуктора", "Боксование", "Обогрев влагосборников" или (для 2-й секции) "Контроль работы жалюзи", "Включение заземлителей", "Работа вспомогательного компрессора", "Замкнута цепь ЭДТ", "Работа мотор-компрессора".
Для доступа к приборам, расположенным иод пультом около штурвала контроллера машиниста, необходимо снять две крышки. Под ними размещаются (на рис. ] не показаны): электромагнитная защелка 304 реверсивной рукоятки, блок-контакты (левые) реверсивного барабана 303, блок-контакты главного барабана 305 и барабана ослабления возбуждения 306.
Доступ к приборам, расположенным под пультом в средней части, обеспечивается подъемом пульта с фиксацией его в верхнем положении упором. Здесь расположены штепсельные соединения — ХБ10(Х811—Х8І9 — под пультом во 2-й кабине), 8 диодов, рейка зажимов ХББ с 44 зажимами проводов 3041 (3042), 3111 (3112), 3131 (3132), 4650, 4680, 5200, 5210, 5340, 5360, 5370, 7490, 7540, 7550 и др. В нижней части пульта размещены всасывающие и напорные каналы кондиционера и нагревательные элементы отопления кабины. Для выхода нагретого или охлажденного воздуха в верхней части за пультом имеются по краям отверстия с предохранительными сетками. Такие же отверстия расположены внизу под пультом; открытие их регулируется вручную заслонками.
Под полом кабины машиниста с левой стороны установлены устройства кондиционирования воздуха (на рис. 1 не показаны): двигатель кондиционера 460, двигатель вентилятора кондиционера 451,
защитный термостат 433, защитные реле давления фреона 441, 442. Устройства кондиционирования соединены с распределительными каналами при помощи мехов.
В поперечном проходе со стороны машинного отделения установлен шкаф защиты от боксования и юза 750, иод которым расположен распределительный щит (РЩ) 500. На лицевой панели шкафа 750 расположены: табло 802 бленкерных сигнализаторов, сигнальные лампы включения контактора "Ход" 855 и открытия дверей между секциями 845, кнопка восстановления сигнальных реле 836, кнопка подачи песка 764, выключатель автоматического сброса позиций при боксовании 794, выключатель секций 312, выключатель защиты от боксования 751. Рядом размещается шкаф с автоматическими защитными выключателями (АЗВ). Внизу этого шкафа в закрытом дверцей отделении находятся: контактор двигателя вентилятора кондиционера 445 с добавочным резистором 449, разъемы XRM1 —XRM4, XRM10 (XRM5 — XRM9 — во 2-й секции), плавкий предохранитель двигателя кондиционера 461 (на электровозах с № 76), рейка XRS с зажимами проводов 5000, 5121 (5122), 5141 (5142), 5131 (5132), 1991(1992), 9991 (9992).
На торцовой стенке поперечного прохода 1-й секции установлен шкаф с аппаратурой АЛСН, радиосвязи и блок питания ЭПТ. Сбоку от переключателя направления АЛСН находятся главный выключатель АЛСН, выключатель преобразователя ЭПТ, АЗВ радиостанции, цепей АЛСН и ЭПТ. В поперечном проходе второй секции размещается санитарный узел. Здесь же расположены выключатели обогревателя воды 554, электроплитки 555, контрольные лампы электроплитки 550 и обогревателя воды 553. В обоих поперечных проходах находятся ящики для инструментов. У входной двери расположены выключатели освещения машинного отделения и поперечного прохода.
В средней части машинного отделения в направлении от кабины машиниста последовательно расположены: мотор-вентилятор 214 (с конденсатором 218) охлаждения тяговых двигателей первой тележки с закрепленным на корпусе вентилятора генератором управления (ГУ) 502, промежуточный контроллер ПБК 330, высоковольтная камера, импульсный преобразователь 100 с установленным рядом конденсатором 101, мотор-вентилятор 215 охлаждения тяговых двигателей второй тележки с генератором управления 503, двигатель вспомогательного компрессора 522, пневматическая панель с резервуарами, мотор-комнреесор 207 (с конденсатором от перенапряжений 206).
На стене машинного отделения со стороны продольного прохода в направлении от кабины машиниста последовательно расположены: зеленые и красные сигнальные лампы заземлителей и разъединителей 488, 489, вентили свистка и тифона, вентиль токоприемника, приводы жалюзи. На торцовой стене машинного отделения слева от дверей между секциями установлены блоки диагностики. Рядом находится лестница
для подъема на крышу электровоза через люк, имеющий блокировочную защиту. К торцовой стене справа от дверей прилегает релейный шкаф и шкаф центральной рейки зажимов (ЦКР). В релейном шкафу находятся (сверху вниз): промежуточные реле, реле времени, реле кон-такторного типа, реле "Набор", "Сброс" и шаговое (все три закрыты общим кожухом), реле замедления защиты от пониженного напряжения 808. импульсное реле сигнализации 8332. диоды, предохранитель 516 двигателя вспомогательного компрессора, АЗВ обогревателя масла в картере двигателя вспомогательного компрессора 525. В левой стороне релейного шкафа расположены штепсельные соединения ХР81 — На торцовой стене машинного отделения во второй секции на электровозах до № 76 установлен резистор 576 с разъединительными диодами. На электровозах с № 76 этот резистор размещен внизу под РЩ 500.
Расположение оборудования между секциями электровоза показано на рис. 3. Здесь проходят: кабели цепей управления от разъемов ХКО 1 —6 (на электровозах до № 76) или / — 8 (на электровозах с № 76); провода 5000, 5001, 5031 (последние два — только на электровозах до № 76), крепящиеся к рейке 224; кабели силовых цепей 03— 08; силовые кабели шунтов амперметров А1 —А4; силовой кабель 02 отопления поезда; рукава между концевыми кранами напорной (НМ) и тормозной (ТМ) магистралей, а также трубопроводов от кранов вспомогательного тормоза № 254 1-й и 2-й секций. На крыше машинного отделения 1-й секции около релейного шкафа находится привод межсекционного разъединителя, переключаемый выключателем, расположенным на релейном шкафу. Приводы разъединителей и заземлителей размещены под крышей машинного отделения между высоковольтной камерой и промежуточным контроллером.
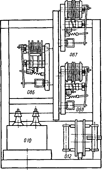
В высоковольтной камере оборудование расположено в двух приборных блоках. На приборном блоке сосредоточены включающие, управляющие и измерительные аппараты. Монтаж этих блоков с помощью разъемов позволяет производить сборку непосредственно на электровозе за минимальное время.


Рис 4 Расположение аппаратов в высоковольтной


Каркас блока сварен из тонкостенных замкнутых профилей и перегородок. Аппараты расположены главным образом в передней части блока. В задней его части находятся соединяющие эти аппараты медные шины.
В блоке 1, расположенном со стороны продольного коридора, размещены следующие аппараты (рис. 4):
в верхнем ряду счетчик электроэнергии для отопления поезда 813, элсктропневматические контакторы 701, 030, 032 — 038, 042 — 048. 057, 058, два реле боксо-вания 067, 068;
в нижнем ряду счетчик электроэнергии для тяги поезда 800, предохранитель 707 счетчика 813, дифференциальное реле силовой цепи 015, шунт амперметра 119, безындуктивный шунт импульсного преобразователя (тиристорного возбудителя) 117, делитель напряжений 113, переключатель "Ход — Тормоз" 072, зажимы разъединителей 076. 077. 078 для ввода электровоза в депо под низким напряжением, реле перегрузки 088 возбуждения электродинамического тормоза, линейные контакторы 059, 0601 (или 0292),040, 041, предохранитель 110 реле напряжения и вольтметров сети, предохранитель 011 защитного конденсатора 010. нож сушки 226, установленный при нормальной эксплуатации (НЭ) в нижних зажимах, измерительные трансдуктори 105 — 108, реле перегрузки 025 — 028, добавочные резисторы 111 к реле напряжения 112, добавочные резисторы 069, 070 к реле боксования, переключатель "Ход — Тормоз" 071, реверсор 075.
Внутри высоковольтной камеры в приборном блоке 1 со стороны кабины машиниста расположены (рис. 5): дифференциальное реле 086 двигателей мотор-вентиляторов пускотормозных резисторов, защитный конденсатор 010, разрядный резистор 012 конденсатора 010.
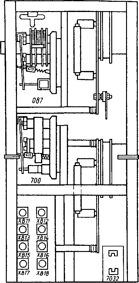
Со стороны пневматической панели на торцовой стороне блока I находятся (рис. 6): дифференциальное реле 087 двигателей мотор-вентиляторов пускотормозных резисторов, реле перегрузки отопления поезда
Рис. 5. Расположение аппаратов внутри высоковольтной камеры со стороны кабины машиниста
700, штепсельные соединения ХВ11 —XBI8, зажимы разъединителя 7032 (только во 2-й секции). В середине высоковольтной камеры внизу установлено реле напряжения 112 (на рис. 4 — 6 не показано).
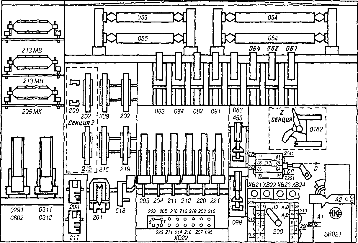
В приборном блоке 2, расположенном со стороны, противоположной продольному проходу, установлены следующие аппараты (рис. 7):
в верхней части резисторы мотор-компрессоров 205 и мотор-вентиляторов 213, резисторы 054. 055 ослабления возбуждения тяговых двигателей, предохранители (в 1-й секции -
202, 209, 216, 219; во 2-й секции
— 202, 219 и свободные зажимы для постановки в аварийной ситуации предохранителя 209) вспомогательных машин, электропневматические контакторы ослабления возбуждения 061 — 064, 081 —084;
в нижней части линейные контакторы (в 1-й секции — 0291, 0311; во 2-й секции — 0602, 0312), тепловые реле 208, 217, дифференциальное реле 201, контактор 518 двигателя вспомогательного компрессора (на электровозах до № 76 этот контактор установлен в релейном шкафу), электромагнитные контакторы вспомогательных машин
203, 204, 211, 212, 220, 221, контактор 453 двигателя кондиционера, контактор 099 подключения тиристорного возбудителя, переключатель вентиляторов 2101 (во 2-й секции в этом месте установлен переключатель 0182 "Авария БВ"), отключатсль мотор-вентиляторов 200 (на корпусе отключателя 200 установлены штепсельные соединения ХВ21
— ХВ24), быстродействующий выключатель 021. Внизу в средней части блока находится рейка зажимов XD21 (в 1-й секции) или XD22 (во 2-й секции), на которой крепятся провода силовых цепей вспомогательных машин.

Рис. 6. Расположение аппаратов внутри высоковольтной камеры со стороны пневматической панели

Рис. 7. Расположение аппаратов в высоковольтной камере со стороны, противоположной
продольному коридору
На стене машинного отделения, являющейся частью высоковольтной камеры, находятся приводы всасывающих жалюзи.
Под кузовом электровоза расположены: аккумуляторные батареи, индуктивные шунты в специальных шкафах, розетки для ввода электровоза в депо от источника низкого напряжения. Между секциями проходят межсекционные кабели силовых цепей и соединительные рукава.
На крыше электровоза размещены токоприемники, разъединители, заземлители, разрядник, дроссель для подавления радиопомех, главные резервуары, антенна для радиостанции. Для прохода по крыше установлены мостики и рядом с ними находятся люки песочниц.
На крыше 1-й секции электровоза расположен межсекционный разъединитель 0131.
|
|