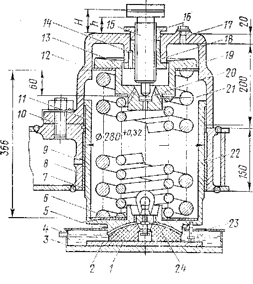
Масса кузова делится поровну между тележками и передается на каждую в четырех точках через упругие опоры. Выполняя одни и те же функции опоры кузова электровозов ЧС4 и ЧС4Т конструктивно выполнены по-разному. На электровозе ЧС4 (рис. 24) в месте установки опоры в раскосную балку рамы кузова вварено литое гнездо 8, расточенное внутри под цилиндр. В него запрессована направляющая
втулка 7, вдоль которой может скользить стакан 11. Дно стакана служит опорой для комплекта внутренней 5 и^наружной 6 пружин. Сверху на пружины уложена опорная чашка 13 с прокладкой 12, которую болтами 10 жестко крепят к раме кузова, т. е. в сборе она составляет с рамой единое целое. В центре крышки имеется отверстие, в которое запрессована и зафиксирована штифтом 14 втулка 18. Втулка имеет трапецеидальную упорную резьбу для регулировочного болта 15. Болт своим концом через сухарь 20 упирается в опорную чашку.
Таким образом, нагрузка от кузова через крышку, регулировочный болт и комплект пружин передается на стакан. Стакан в свою очередь через вкладыш / передает ее на скользун 2, являющийся деталью рамы тележки. Регулировочный болт дает возможность менять величину статической нагрузки, передаваемой опорой от кузова на раму тележки. От самовывинчивания болт стопорят контргайкой 16. Кроме того, после регулировки дополнительно ставят специальное стопорное устройство.
При вертикальных перемещениях кузова относительно рамы тележки стакан скользит вдоль образующих направляющей втулки. Угловые вертикальные перемещения кузов-тележка компенсируются в месте опоры стакана на вкладыш, для чего контакт между этими деталями осуществлен по сферической поверхности. -
Площади контактов деталей, имеющих взаимные перемещения, обеспечивают смазкой. Между стаканом и направляющей втулкой смазка попадает через канал 9 и кольцевой зазор 22. Кроме того, смазка попадает сюда и при стекании по стенкам крышки, при заливке ее (через каждые 20 тыс. км пробега) под пробку 17. На поверхность сферы
вкладыша смазка попадает через каналы 21 и 24 в опорной чашке и днище стакана.
Регулировка опор электровоза ЧС4Т (рис. 25) производится натяжными болтами /, с помощью которых направляющая опоры 2 может перемещаться относительно гнезда, вваренного в балку-плечо. Головка натяжного болта, ввернутого в тело гнезда, находится под действием упругих сил пружин. На головку болта в статике приходится сила, равная половине нагрузки на опору. Поскольку динамические силы всегда меньше статической нагрузки, головки болтов никогда не разгружаются до нуля, т. е. перемещение направляющей опоры вдоль оси болта

Рис. 24. Боковая опора кузова электровоза ЧС4

Рис. 25. Боковая опора кузова электровоза ЧС4Т
невозможно. Таким образом, направляющая опоры 2 с натяжными болтами / в опорах электровоза ЧС4Т выполняет те же функции, что и опорная чашка 13 (см. рис. 24) с регулировочным болтом 15 в опорах электровоза ЧС4, при этом нагрузка от кузова на тележку передается (см. рис. 25) последовательно через натяжные болты /, направляющую опоры, комплект пружин 3 и 4, собственно опору 7 и вкладыш 8, опирающийся на скользун 9 тележки.
При вертикальных относительных перемещениях тележка-кузов цилиндрическая часть направляющей опоры 13 скользит вдоль стакана опоры 5, внутрь которого вставлена сменная втулка 10. К поверхности трения через каналы 6 подается смазка. Смазка заливается через трубку 11, из которой через отверстия 12 попадает в полость направляющей опоры. Внутри трубки имеется щуп-указатель уровня масла. В отличие от электровозов ЧС4 на электровозах ЧС4Т выпукло-сферическую поверхность имеет не вкладыш, а опора, что способствует удержанию смазки в зоне их контактирования и самоустановки опоры при боковой качке и галопировании тележки. Скользуны в обеих конструкциях выполняют одни и те же функции.
При горизонтальных перемещениях кузова относительно тележки вкладыш движется по скользуну. Развивающиеся при этом силы
трения демпфируют горизонтальные колебания локомотива. Пара скольжения помещена в масляную ванну 3 (см. рис.24), закрепленную на боковине рамы тележки. Ванну заполняют маслом через патрубок 4, закрываемый после этого заглушкой. Сверху ванна закрыта щитком 23, что предупреждает попадание в нее и влаги. Присутствие влаги в масляной ванне может сильно сказаться на качестве работы пары скольжения. Обладая большим, чем у масла удельным весом, вода скапливается на дне ванны и может отделить слой масла от поверхности скольжения. При этом коэффициент трения в паре резко меняется. Кроме того, в зимнее время (при минусоЁой температуре) вода может замерзнуть и лишить опору свободы перемещений в горизонтальной плоскости.
Поэтому необходимо периодически проверять состояние смазки, беря пробы из ванны через сливной патрубок. При замене или доливе масла не следует превышать установленный для него уровень в ванне. В противном случае при движении локомотива оно будет выплескиваться (выдавливаться из-под щитка) и, стекая по боковине рамы тележки, может попасть на резину сайлентблоков поводковой группы, чем в значительной степени может снизить ее долговечность. Для установления нормального уровня после доливки открывают заглушку верхнего патрубка ванны, предварительно подставив под него емкость для масла. После того как масло перестанет стекать из патрубка, заглушку ставят на место.
Горизонтальные перемещения в скользунах ограничиваются зазорами между боковинами рамы тележки и упругими резиновыми упорами, установленными на внутренних вертикальных станках боковик рамы кузова. Ограничение упругих вертикальных перемещений в опоре определяется зазорами между вертикальными упорами, установленными на рамах кузова и тележек. Они не служат предохранительными упорами на случай просадки кузова при изломе пружин боковой опоры. Характеристики пружин, входящих в комплекты боковых опор, следующие:
|
Пружина |
Наружная |
Внутренняя, |
|
Наружный диаметр, мм |
250 |
135 |
|
Диаметр прутка, мм |
50 |
26 |
|
Число рабочих витков |
155 |
42 |
|
Жесткость, кгс/мм |
5 |
8 |
|
Высота в свободном состоянии, мм |
400 |
-340 |
|
Допуск по высоте, мм |
±10 |
+8 |
|
Контрольная нагрузка, кгс |
6500 |
1750 |
|
Высота под контрольной нагрузкой, |
||
|
мм: |
||
|
для группы I |
356,5—358 |
296,5—298 |
|
» » II |
358—359,5 |
298—299,5 |
Как видно из табл. 1, высота внутренней пружины боковой опоры электровоза ЧС4 (по номиналу) на 60 мм меньше, чем наружной. Разность уровней опорных площадок под пружины на опорной чашке также 60 мм. Таким образом, пружины начинают воспринимать нагрузку одновременно, а следовательно, статический и динамический прогибы на боковой опоре определяются суммарной жесткостью комплекта пружин, которая равна 197 кгс/мм.
Для упрочнения пружин пруток шлифуют. Торцы замыкающих витков также подвергаются шлифовке, чем достигают их параллельность и ликвидируют зазор по периметру прилегания (допуск на последний составляет 0,3 мм на длине 40 мм). Марка стали пружин 14260 по ЧСН соответствует стали 60С2 по ГОСТ 2052—53. После изготовления пружины окрашивают.
Для сохранения развески электровозов (см. § 13) при замене пружин целесообразно подбирать новые так, чтобы они совпадали по характеристикам с заменяемыми. Более удобным показателем является высота пружины под контрольной нагрузкой. Она позволяет учитывать сразу и разброс по высоте в свободном состоянии, и разброс по упругой характеристике (жесткости). Пружины по этому признаку разбиты на I и II группы.
Группу и действительную высоту пружины под контрольной нагрузкой выбивают на ее торцовой опорной поверхности.
Замена пружины требует демонтажа опоры. Для этого в первую очередь ее необходимо разгрузить, в связи с чем применяют следующую технологическую "операцию. Электровоз ставят на локомотивные домкраты. Перед подъемкой кузова пружины 1-й ступени подвешивания заклинивают (см. §9) с тем, чтобы при разгрузке опор рама тележки не перемещалась вверх. Кузов электровоза приподнимают на 60 — 65 мм, что можно сделать без разборки элементов, соединяющих его с тележкой (ручной тормоз, кабели тяговых двигателей и т. д.). При этом пружины опоры распустятся. После того, как опора будет разгружена, крепежные болты 10 (см. рис. 24) или натяжные болты / (см. рис. 25) вывертывают и крышку с регулировочным болтом или направляющую опоры снимают. Затем извлекают пружины, предварительно сняв на опоре электровоза ЧС4 опорную чашку ипроставоч-ные кольца 19. Стакан этой опоры тоже может быть извлечен в кузов, для чего его захватывают крючком за рым-болт, ввернутый в днище. Для смены вкладыша достаточно отвернуть поддерживающий болт, который служит только для того, чтобы при подъемке кузова вкладыш перемещался вместе со стаканом опоры. Сборку опоры производят в обратном порядке.
Если новые пружины по характеристике соответствуют замененным (высоты под контрольной нагрузкой или, в крайнем случае, группа совпадают), то после установки крышки опоры с зафиксированным в ней регулировочным болтом никакой дополнительной регулировки не требуется. В этом случае, если такие пружины подобрать не удается, необходимо произвести регулировку опоры, обеспечив этим передачу той же нагрузки, которая была установлена при заводской развеске (см. § 13).
|
|