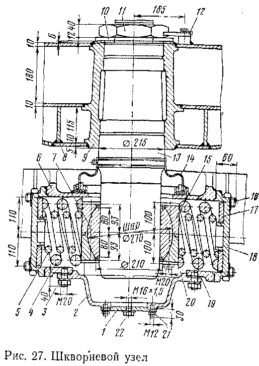
Шкворень передает только горизонтальные силы, возникающие между кузовом и тележкой от тяги, торможения, продольной динами-состава и горизонтальных поперечных колебаний локомотива. Продольные силы передаются шкворнем жестко. С целью улучшения го-изонтальной динамики в поперечном направлении обеспечены упругие линейные перемещения. Конструктивно это осуществлено следующим образом (рис. 27).
В шкворневую балку кузова 8 вварено гнездо шкворня 9, представляющее собой отливку. Внутренняя часть отливки обработана под посадку шкворня. На электровозах ЧС4Т (рис. 28) шкворень / запрессован в гнездо 2 по ,;вум цилиндрическим поверхностям. На электровозах ЧС4 -ч'м. рис. 27) запрессовка ■нкворня 13 осуществлена по конусу 1:15. В том и другим случае через опорную п;айбу 10 осуществляется до-нэлнительная затяжка шкворня гайкой 11. Гайка сто-пэрится планкой 12. Связь ;нкворня с рамой тележки . существляется через шкворневую коробку 6. Она пред-гавляет собой отлитую из гали деталь, на внутренних . горонах вертикальных сте-нэк которой крепятся направ-пяющие. Вдоль этих направляющих в поперечном по от-пэшению к тележке направ-:ении может перемещаться -кользун 15. Скользун состоит из двух частей, верх-ей и нижней, соединенных

между собой шпильками 20. Разъемность деталей скользуна позволяет замонтировать в нем шаровой подшипник 7. Сквозное отверстие в подшипнике является посадочным местом для цилиндрической части шкворня. Шаровой подшипник обеспечивает свободные угловые перемещения кузова относительно тележек (или наоборот), возникающие при колебаниях локомотива, в продольной и поперечной вертикальных плоскостях.
Перемещению скользуна в поперечном направлении (вдоль направляющих) противодействует упругая сила пружинных комплектов. Каждый комплект состоит из двух витых пружин: наружной 4 и внутренней 5. Характеристики пружин следующие:
|
Пружины |
Наружные |
Внутренние |
|
Диаметр прутка, мм |
35 |
22 |
|
Наружный диаметр пружины, мм |
215 |
134 |
|
Высота в свободном состоянии, мм |
145 |
145 |
|
Число рабочих витков |
2 |
3 |
Пружины установлены в горизонтальном положении и размещены в свободном пространстве шкворневой коробки между скользуном и упорными прокладками 17. Установку и объем комплектов пружин производят через отверстия в шкворневой коробке, закрываемые крышками 18. Крышки крепят шпильками 16, ввернутыми в тело коробки. Наблюдение за состоянием пружин шкворневого возвращающего устройства в процессе эксплуатации локомотива практически невозможно. Поэтому, несмотря на невысокий уровень напряжений, возникающий в пружинах при их работе (ттах = 5900 кгс/см2), технологии изготовления и. особенно операциям, повышающим прочность указанных деталей, уделяют особое внимание. К упрочняющим технологическим операциям относится шлифовка прутка пружины и дробеструйная обработка его с целью получения поверхностного наклепа. После изготовления пружины покрывают маслостой-кой краской. Материал пружин соответствует стали 60С2.
Весь возвращающий аппарат погружен в масляную ванну, которую образует шкворневая коробка, закрытая снизу поддоном 2. Крепление поддона осуществлено с помощью болтов 3. Между корпусом коробки и поддоном установлена уплотняющая прокладка 19, предупреждающая просачивание масла. В поддоне имеется смотровой люк, закрытый крышкой 1, которая удерживается болтами 21. Между крышкой и поддоном тйкже имеется уплотняющая

Рис. 28. Посадка шкворня на электровозе ЧС4Т
::рокладка. Масло из масляной вапны сливают через отверстие в крышке люка, лля чего необходимо вывернуть болт-пробку 22.
Гибкий кожаный чехол 15, закрывающий масляную ванну сверху, защищает ее :<г пыли и влаги. Таким' образом, шкво-гень может совершать свободные вертикальные перемещения относительно шаро-ього подшипника, свободные угловые перемещения вместе с шаровым подшипником тносительно скользуна и упругие поперечные перемещения вместе со скользуном относительно центра шкворневой коробки.
Характеристика упругой поперечной связи кузова с тележками имеет большое влияние на качество горизонтального хода локомотива, особенно при движении в прямых участках пути, и поэтому не может выбираться произвольно. Желательно иметь как можно меньше начальную жесткость упругого соединения, однако она должна быть достаточной для возвращения кузова в соосное с тележками положение.
Для ограничения перемещений и исключения жестких ударов кузова о тележку при исчерпании зазоров с некоторого момента :кесткость упругой системы должна резко возрастать. На электровозах ЧС4 этим требованиям соответствуют следующие конструктивные 'чтиения. Жесткость комплекта пружин составляет около 190 кгс/мм. Пружины предварительно сжаты усилием 1500 кгс*. В результате перемещению на первых 8 мм соответствует жесткость, равная удвоен-чой жесткости комплекта пружин (рис. 29), что способствует возвра-пению кузова в соосное с тележками положение. В интервале перемещений 8— 20 мм нарастание возвращающей силы определяется жесткостью одного комплекта пружин. При перемещениях более 20 мм •азор между рамой тележки и рамой кузова исчерпывается, а в парал-:ель с жесткостью комплекта пружин включается жесткость резинового упора, установленного на боковые рамы кузова. Упругая харак-'с-ристика резины нелинейна. Суммарная жесткость упругой системы .•редняя жесткость) в диапазоне перемещений 28 — 30 мм равна 15 кгс/мм.
Дальнейшее смещение (более 30 мм) кузова относительно тележки в горизонтальной плоскости в районе шкворня ограничено величиной зазора между скользуном и корпусом шкворневой коробки (см. рис. 27). Как следует из экспериментальных данных, этот зазор на всем диапа-
* Предварительное сжатие не следует путать с преднатягом, при котором еремещение начинается не от пуля, а после приложения силы, большей вели-••!!!ы преднатяга.

Рис. 29. Кривые изменения действительной жесткости возвращающего устройства (/), комплекта пружин (2) и резинового упора ограничителя горизонтальных перемещений (3)
зоне скоростей в прямых участках пути практически никогда не исчерпывается. Относ кузова под действием допустимого непогашенного ускорения в кривых участках пути, определяемый расчетом, также меньше 30 мм. Исчерпание зазора может произойти только при движении электровоза с максимально допустимой скоростью в кривых малого радиуса, если в плане кривая будет иметь значительные по величине случайные неровности.
Изменение в процессе эксплуатации начальных упругих качеств одной из пружин возвращающего устройства или излом ее приведет к несоосному положению кузова и тележек. Учитывая влияние сочленения тележки, стремящегося удержать их внутренние торцы в постоянном соосном положении, неуравновешенная сила в возвращающем устройстве заставит тележку принять положение перекоса по отношению к кузову и плану пути в прямом участке, т. е. продольные оси тележек не будут совпадать и не будут параллельны продольной оси кузова и оси пути. На динамике локомотива это обстоятельство скажется в том, что у него появится повышенная склонность к извилистому движению. В связи с изменением зазоров между кузовом и тележкой и характеристики возвращающего устройства это движение может сопровождаться жесткими толчками в поперечном направлении. При длительной эксплуатации с указанным дефектом возвращающего аппарата на бандажах колес (как правило, на крайних) может появиться односторонний подрез гребней.
Указанные изменения в динамике локомотива отрицательно влияют на работоспособность ряда узлов и деталей его экипажной части. Кроме того, в связи с ростом горизонтальных сил в контакте колес с рельсами снижается и критерий безопасности движения. Поэтому установленный дефект должен быть немедленно устранен.
Обнаружить отклонения в нормальной работе возвращающего аппарата можно замером горизонтальных зазоров между рамой кузова и рамой тележки, для чего локомотив устанавливают в прямом участке пути. Для удобства контроля этих зазоров на боковинах рамы кузова в районе шкворней установлены специальные кронштейны. Если разница в зазорах с левой и правой стороны тележки окажется больше 5 мм, следует прокатить локомотив (желательно при этом иметь на пути движения стрелочные переводы), чтобы убедиться в том, что зафиксированное взаимное положение кузова и тележек не было случайным. В случае подтверждения ранее полученных результатов при повторном замере зазоров узел шкворневого возвращающего устройства следует демонтировать. Несмотря на несколько большую затрату времени, демонтаж рекомендуется производить не под кузовом, а на включенной тележке. Это дает возможность после замены деталей точнее произвести регулировку пружин.
Перед демонтажем из шкворневой коробки сливают масло. Затем открывают смотровой люк или снимают поддон и проверяют положение скользуна. При съеме торцовых крышек крепежные гайки 16 (см. рис. 27) отворачивают постепенно, не допуская перекосов и заеданий крышек на шпильках. Извлеченные из шкворневой коробки пружины переносят на пресс и испытывают подконтрольной нагрузкой.
'■"эмплект пружин под нагрузкой 1500 кгс должен прогибаться на 8 мм.
' ідиночная внутренняя пружина тот же прогиб должна иметь под нагрузкой 456 кгс, наружная — 1050 кгс.
Пружины имеют допуск ±10% на отклонение от номинальной вы-'.ты под контрольной нагрузкой. Сломанную или отбракованную
: :■, время испытаний пружину заменяют новой, после чего производят стулировку упругой системы возвращающего аппарата. При регули-і'Вке, т. е. при установке необходимых нажатий от комплектов пру-
.;.;:н на скользун, находящийся в среднем положении (на продольной ,:и тележки), разрешается в случае необходимости варьировать тол-;;шами опорных колец 17.
После сборки узла смотровой люк до подкатки тележек под кузов . тавляют открытым. При опускании кузова через него следят за сов-
•адением шкворня с отверстием в шаровом подшипнике. Опустив зов на тележки, люк закрывают, в шкворневую коробку заливают
■:-.:сло и устанавливают на место кожаный защитный чехол. Заверяющими операциями являются прокатка локомотива и контрольный •.мер горизонтальных зазоров между рамой кузова и рамами тележек.
|
|