На электропоездах ЭР9М и ЭР9Е применено опорно-рамное подвешивание тяговых двигателей. При таком подвешивании тяговый двигатель жестко укреплен на поперечной балке рамы тележки и связан с колесной парой упругой муфтой. При опорно-рамном подвешивании двигателя уменьшается вес неподрессоренных частей вагона, так как вес двигателя полностью обрессорен и упруго передается

через надбуксовое подвешивание. Применение такого подвешивания позволяет значительно снизить динамические удары, получаемые двигателем при движении, а также динамическое воздействие экипажа на рельсовый путь. Кроме того, опорно-рамная подвеска смягчает толчки при пуске двигателя.
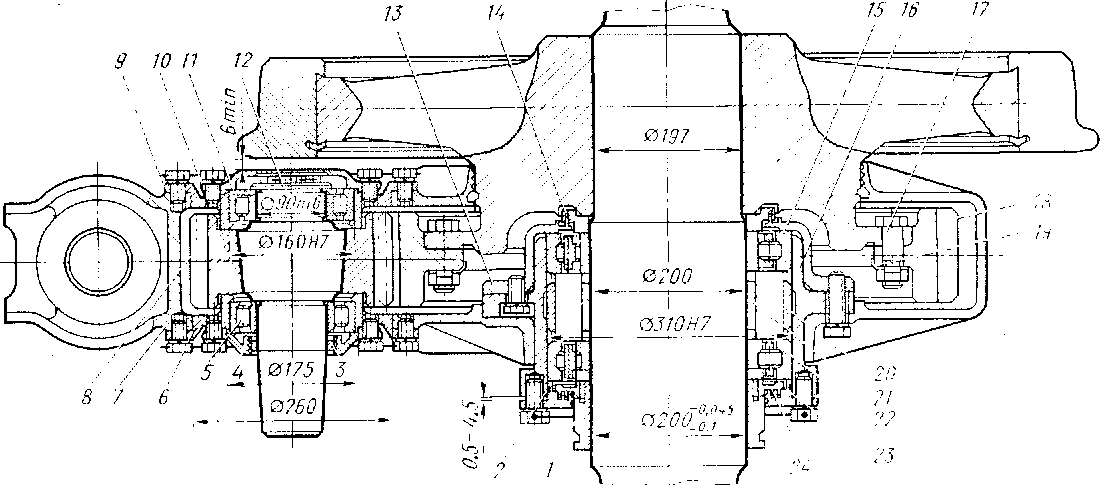
Для крепления двигателя к поперечной балке рамы тележки в верхней части остова двигателя имеются два прилива с уступами (лапы) 4 (рис. 29), а в нижней части остова — две опорные поверхности, расположенные на одной линии с лапами. В опорных поверхностях просверлены отверстия, через которые проходят болты 2 с резьбой М36. Нижними опорными поверхностями двигатель опирается на поддерживающие кронштейны / поперечной балки 3.
Для обеспечения плотного прилегания тягового двигателя 6 нижнюю часть остова с опорными поверхностями притягивают болтами к поперечной балке. Верхние лапы 4 опираются на выступы поперечной балки. Между выступами и лапами вставляют клинья 5 с ввернутым в них распорным болтом 7. Распорный болт имеет по концам левую и правую резьбу, благодаря чему при вращении болта клинья расходятся и притягивают двигатель к верхним опорным площадкам поперечных балок.
Поскольку тяговый двигатель при опорно-рамном подвешивании является полностью обрессоренным, а колесная пара не обрессорена, он не может быть непосредственно связан с ней зубчатой передачей. В этом случае для передачи вращающего момента от двигателя к зубчатой передаче, установленной на ведущей колесной паре, применяют упругие муфты.
Двигатель / (рис. 30) лапами 2 подвешивают жестко к раме тележки. Большое зубчатое колесо 7 насажено на ось движущей колесной пары 6 и находится в зацеплении с малой шестерней 5. Вал малой шестерни укреплен в подшипниках, установленных в корпусе редуктора 8, который одной стороной опирается на подшипники на оси колесной пары, а другой подвешивается к раме тележки на амортизаторах 4. Тяговый двигатель соединен с концом вала малой шестерни 5 упругой муфтой 3.
Тяговая передача моторных вагонов электропоездов ЭР9М и ЭР9Е состоит из редуктора и упругой муфты.

Рис. 29. Крепление тягового двигателя на раме тележки моторного вагона

Редуктор (рис. 31) состоит из двух сцепленных между собой цилиндрических зубчатых колес: ведущего (шестерни) 8 и ведомого, заключенных в стальной литой корпус 7.
Количество зубьев шестерни — 23, колеса—73, передаточное число равно 3,17. Профиль зубьев зубчатых колес эвольвент-ный, угол зацепления исходного контура рейки 20°, модуль 10 мм.
Зубчатое колесо представляет собой венец 18, прикрепленный к фланцу ступицы колесного центра 11 призонными (входящими в отверстие с натягом) болтами 17. Райки болтов 17 от самоотвинчивания застопорены пластинчатыми шайбами 19. Венцы зубчатых колес (рис. 32) изготовляют из стали марки ЗОХНЗА. Заготовки венцов подвергают термообработке — закалке с последующим отпуском. Затем производят черновую и чистовую нарезку зубьев и шлифовку рабочих поверхностей зубьев и впадин на специальном зубошлифовальном станке. Для увеличения срока службы зубчатого венца производят закалку рабочей поверхности зубьев, включая впадину (рис. 33). Закалку производят на глубину (3,5+1,5) мм до твердости 46—52 единиц по Роквеллу (шкала С). После обработки зубья проверяют на отсутствие трещин методом магнитной дефектоскопии. Для улучшения работы передачи особое значение имеет повышение точности зубчатого зацепления и чистоты поверхности зубьев.
Рис. 30. Схема тяговой передачи с упругой муфтой

Рис. 31. Редуктор колесной пары моторного вагона:
I - кольцо упорное. - кольцо уплотнительное; ,5 —упорное кольцо подшипника шестерни; 4- крышка передняя; .5 - подшипник 80-32518 ЛІ 6 — большая крышка переднего подшипника, 7 — корпус редуктора, » — шестерня; 9 — большая крышка заднего подшипника' 10 - крышка задняя; //-подшипник 80-92518 ЛІ; 12 - шайба, 13- крышка упорная. 14 - кольцо лабиринтное, 15 - подшипник 80-32140 Л-!; 16 -стакан опорный, 17- болт прнзонный. /Я -венец зубчатый /Ч- шайба стопорная; 20 — наружное распорное полукольцо; 21 — внущеннее распорное кольцо; 22 - подшипник 80-92140 .43, .3 крышка лабиринтная, 24 -- мэелоотбойное кольцо

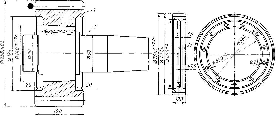
Рис. 32. Малая шестерня и венец большого зубчатого колеса редуктора
Малая шестерня состоит из венца 1 (см. рис. 32, а) и вала 2 с коническим хвостовиком. Венец 1 шестерни изготовляют из стали марки 20ХНЗА. Зубья шестерни после нарезки фрезерованием подвергают цементации на глубину 1,5—2 мм с последующей закалкой. Твердость цементированной и закаленной поверхности должна быть (58±3) единиц по Роквеллу.
После термообработки рабочие поверхности зубьев, впадины и конусное отверстие шлифуют. Вал 2 изготовляют из стали Ст5 или стали 45. Посадочные поверхности (конуса для посадки венца, хвостовика для посадки фланца и шейки под роликовые подшипники) шлифуют. Перед посадкой венца на конус вала сопрягаемые поверхности притирают и обработанный венец нагревают в масляной ванне до 190—200 °С. После посадки в горячем состоянии зубчатый венец должен сесть глубже на 1,25—1,75 мм, чем при пробной посадке в холодном состоянии.
Малая шестерня вращается (см. рис. 31) на двух цилиндрических роликовых подшипниках — переднем 5 (со стороны конического хвостовика) 80-32518 Л1 и заднем 11 — 80-92518 Л1, установленных в верхней половине корпуса редуктора.
Подшипники смонтированы в крепительных крышках 6 и 9 и укреплены в корпусе редуктора передней (с отверстием для хвостовика вала) и задней (глухой) крышками 4 и 10. Наружные кольца подшипников входят в крепительные крышки со скользящей посадкой, а внутренние кольца установлены на вал с тугой посадкой.
Задний подшипник // через упорное кольцо закреплен шайбой 12 и четырьмя болтами, завернутыми в торец вала. Крепительные, переднюю и заднюю крышки крепят болтами с пружинными шайбами. Для предотвращения самоотворачивания головки болтов попарно связывают проволокой. Подшипниковые узлы за-

полнены пластичной смазкой для роликовых подшипников ЖРО в количестве 0,9 кг. Для периодического добавления смазки в подшипники в крышках предусмотрены приливы с резьбовым отверстием (рис. 34), в который ввернут штуцер 6,
закрываемый пробкой.
Зубчатая передача заключена в кожух, удерживающий смазку и защищающий ее от попадания посторонних предметов и пыли. Кроме того, жесткий корпус редуктора обеспечивает постоянство межцентрового расстояния (централи) зубчатой пары. Корпус редуктора несущей конструкции состоит из двух половин, верхней / и нижней 5. Обе половины отливают из стали марки 25ЛШ
повышенного качества.
Боковые стенки корпуса усилены ребрами, соединяющимися с горловинами отверстий редуктора. Для осмотра состояния зубчатой передачи в верхней части половины корпуса редуктора имеется люк. На люк установлена крышка с сапуном-трубкой 2, закрытая защитным колпачком. Сапун-трубка служит для выравнивания давления внутри редуктора с атмосферным.
Между колпачком и сапуном-трубкой уложена фильтрующая набивка 7 из конского волоса.
В приливе нижней половины корпуса редуктора имеется горловина, закрываемая пробкой 3, через которую добавляют свежую смазку и контролируют уровень заливки. Отработанную смазку сливают через отверстие на боковой стенке нижней половины редуктора, закрытое пробкой 4. Верхняя и нижняя половины редуктора скреплены между собой 10 болтами и двумя фиксирующими штифтами.
Для получения точных размеров отверстий для подшипников малой шестерни и опорного стакана, а также межцентрового расстояния обе половины редуктора обрабатывают совместно в собранном виде.
Корпус 7 редуктора (см. рис. 31) прикреплен к фланцу опорного станка 16 восемью болтами, проходящими через отверстия в боковой стенке корпуса. Опорный стакан опирается на два цилиндрических роликовых подшипника — задний 15 (со стороны ступицы колесной пары) 80-32140 Л4 и передний 22 80-92140 ЛЗ.

Рис. 34. Корпус редуктора
Посадка внутренних колец подшипников на ось колесной пары выполнена с натягом 0,025—0,065 мм. Внутренняя полость стакана 16 при сборке роликовых подшипников заполнена пластичной смазкой ЖРО в количестве 1,6 кг.
Передний подшипник 22 имеет бурт на внутреннем кольце и упорное кольцо. Задний подшипник 15 не имеет бурта на внутреннем кольце и упирается в упорную крышку 13. Между передним и задним подшипниками установлены наружное 20 и внутреннее 21 распорные кольца, фиксирующие положение подшипников на оси. Опорный стакан с обеих сторон закрыт лабиринтным кольцом 14 и лабиринтной крышкой 23, предотвращающими вытекание смазки из внутренней полости редуктора. Для смазки роликовых подшипников, на которые опирается опорный стакан, во фланце горловины верхней половины редуктора имеется резьбовое отверстие, закрываемое пробкой, и против него второе отверстие, обеспечивающее подвод смазки к подшипникам. Задняя стенка корпуса редуктора обхватывает своей горловиной с зазором не менее 0,25 мм цилиндрическую часть ступицы колесного центра, расположенную между спицами и фланцем для крепления зубчатого венца. Для предотвращения вытекания смазки на поверхности горловины имеются лабиринтные канавки, а на ступице — маслоот-бойный гребень.
В редуктор заливают осерненные смазки: летом — ОСЛ, зимой — ОСЗ. Чтобы залитая смазка не выбрасывалась через лабиринтные уплотнения, ее уровень не должен быть выше впадины зубьев зубчатого колеса. Для проверки уровня смазки в отверстие для залива вворачивают пробку с магнитным щупом. Щуп представляет собой алюминиевую трубку, в которую вставлен постоянный магнит, улавливающий металлические продукты износа зубчатых колес и очищающий таким образом масло. Шуп имеет кольцевые риски, которыми отмечены допускаемые изменения уровня масла.
Редуктор подвешивают к кронштейну на поперечной балке рамы тележки при помощи специальной подвески, которая допускает необходимый поворот редуктора относительно оси колесной пары в зависимости от прогиба пружин буксового рессорного подвешивания. Поэтому все перемещения вала двигателя относительно вала шестерни во время движения вагона могут быть восприняты упругой муфтой привода без нарушения работы всей передачи.
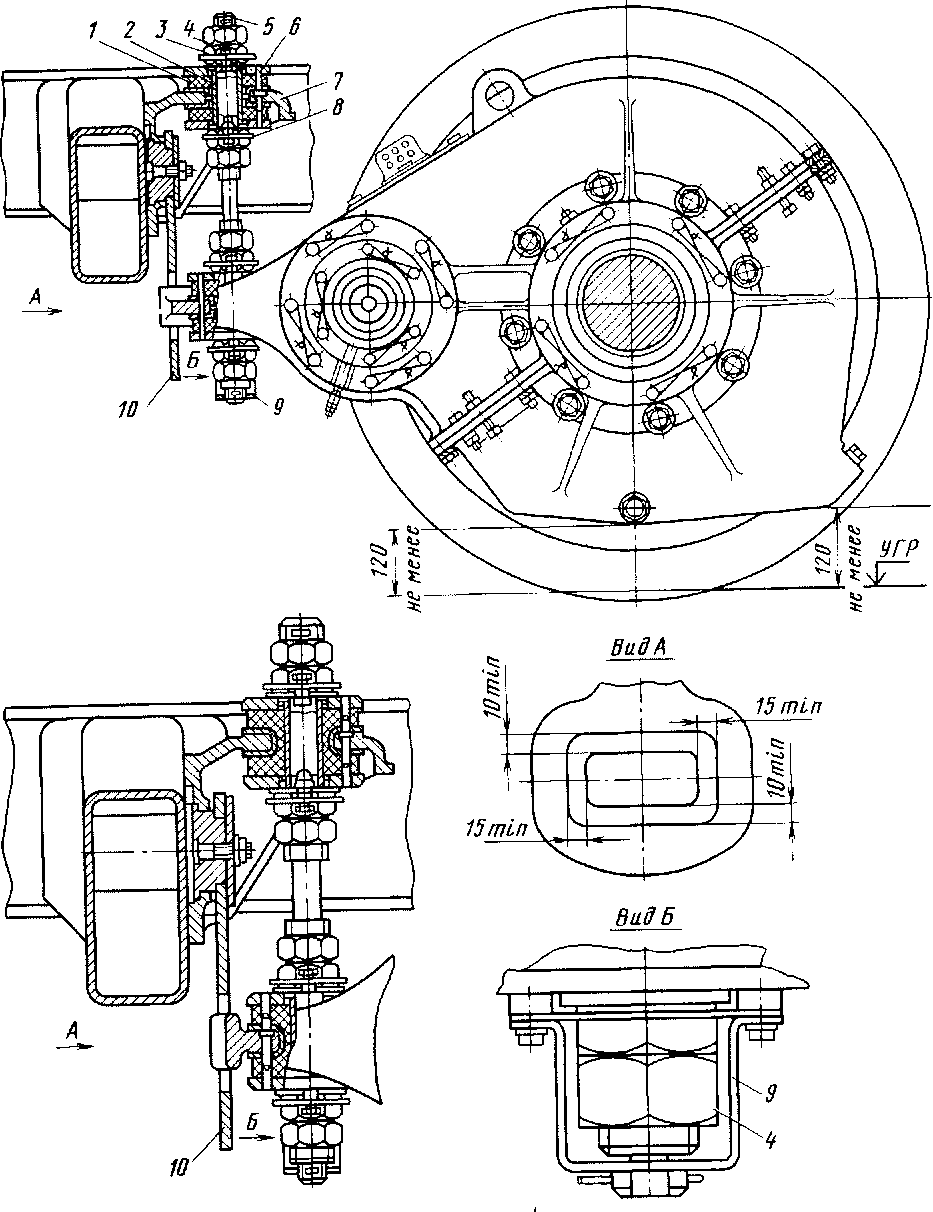
Подвеска редукторов тележек моторных вагонов электропоездов ЭР9М и ЭР9Е представлена на рис. 35. Верхняя половина корпуса редуктора имеет кронштейн с отверстием, которым он крепится к нижнему концу подвесного стержня 5, имеющего резьбу на обоих концах. Верхний конец стержня подвешен к кронштейну поперечной балки рамы тележки при помощи двух резинометалли-ческих амортизаторов 1, двух специальных гаек 3 и контргаек 4.
К нижнему концу стержня подвешен кронштейн корпуса редуктора при помощи таких же амортизаторов и гаек. Гайки предохранены от самоотвинчивания стопорными пластинчатыми шайбами 8 с шестиугольным отверстием, которое крепят болтами к бобышкам верхней армировки резинометаллического амортизатора. Амортизаторы зафиксированы от проворота штифтами 6, запрессованными в кронштейн 7 на поперечной балке рамы тележки и в кронштейн корпуса редуктора. Стопорная скоба 9 удерживает от вращения стержень 5. Для этого на нижнем конце резьбового стержня имеются лыски, на которые надевается скоба, предохраняющая стержень от проворота. Для ограничения деформации амортизаторов при затяжке служат дистанционные втулки 2. Для предохранения от падения редуктора на путь служит предохранительная пла-

Рис. 35. Подвеска редуктора
стина 10, на которую (в случае обрыва стержня или поломки кронштейна) опирается хвостовая часть редуктора.
Для передачи вращающего момента от тягового двигателя к редуктору применяют упругую муфту. Муфта служит также для компенсации несоосности валГдвигателя и вала редуктора, возникающей в результате перемещения укрепленного на раме тележки двигателя и колесной пары при движении вагона.
Муфты допускают параллельное смещение осей валов якоря двигателя и малой шестерни до 15 мм, продольное — до 20 мм и угловое — до 40 мм.
Муфта состоит из двух фланцев / и 6 (рис. 36), насаженных в горячем состоянии (140 °С) на конические хвостовики валов двигателя и шестерни редуктора, резинокордной упругой оболочки 4 и деталей крепления оболочки к фланцам. Упругую оболочку крепят к фланцам полукольцами 5 и восемью болтами 2 с шайбами <?, ввернутыми в запрессованные втулки 8 колец. Втулки предназначены в то же время для разгрузки болтов 2 от действия поперечных срезывающих усилий.
Центрирующий пояс фланцев 1 и 6 входит в отверстие в основании полуколец 5. Этим самым упругая оболочка и кольца предохранены от смещающих действий центробежных сил. Во втулки 8 полуколец со стороны редуктора запрессованы четыре фиксатора У, которые служат для облегчения монтажа муфты. Для удобства сборки и разборки колец и фланцев на болты 2 надеты прорезные шайбы 7, входящие в углубления на корпусе фланца. Для предохранения от самоотворачивания головки болтов 2 попарно связаны проволокой 10.
Для изготовления деталей муфты не требуется дефицитных и дорогостоящих материалов. Металлические части муфты изготовлены из стали 45. Эластичная оболочка 4 изготовлена из морозостойкой резины с прослойкой из кордной ткани.
Посадочные места оболочки усилены армировкой из стальной проволоки. Наружный диаметр оболочки 580 мм, ширина 130 мм.
Рис. 36. Упругая муфта

Регулировка муфты заключается в установке правильной ширины ее по фланцам (размер 158—170 мм) и относительного смещения оси вала шестерни ниже оси вала тягового двигателя на 3 + 1 мм. Равномерность затяжки упругой оболочки необходимо проверять щупом через отверстия D во фланцах шестерни и двигателя. Разница замеров на одном фланце не должна превышать 2 мм.
|
|