Все моторные, прицепные и головные вагоны электропоездов оборудованы автосцепкой нежесткого типа СА-3. Она допускает взаимное вертикальное перемещение сцепок в пути следования и сцепление при разнице в их уровне над головками рельсов до 100 мм.
Автосцепка предназначена для соединения вагонов друг с другом и для передачи тяговых усилий, а также для поглощения ударов, возникающих при движении и маневровой работе. Автосцепка с поглощающим аппаратом воспринимает горизонтальные растягивающие усилия (при тяге), горизонтальные сжимающие усилия (в момент соединения вагонов) и ударные нагрузки (на маневрах и при следовании с поездом). Автосцепка сцепляется автоматически, а разъединяется при воздействии человека на расцепной привод. Поглощающий аппарат гасит
значительную часть энергии ударов, приходящихся на автосцепку, за счет сил трения и сжатия резинометаллических элементов.
Комплект автосцепного оборудования состоит из корпуса / (рис. 48), тягового хомута 5, поглощающего аппарата 9, упорных угольников 8, упорной плиты 6, ударной розетки. Автосцепка представляет собой стальной литой корпус /, имеющий хвостовик с вертикальным отверстием и «голову», внутри которой помещается механизм сцепления. Голова автосцепки имеет большой 12 и малый // зубья с пространством между ними, называемым зевом.
Сцепной механизм автосцепки состоит из замка 4 (рис. 49), замкодержа-теля / с противовесом 2, собачки (предохранителя замка) 3 и полочки 5. При сцеплении малый зуб // (см. рис. 48) одной головы скользит по скошенной поверхности большого зуба 12 другой головы, а замки 4 (см. рис. 49) утапливаются внутрь голов автосцепки. После того как малый зуб одной автосцепки войдет в зев другой автосцепки, замки под действием собственного веса опускаются и, расклинивая друг друга, препятствуют обратному выскальзыванию малых зубьев. Для предупреждения саморасцепления верхнее плечо собачки 3 западает в паз замкодержателя /. При сцепленном положении механизмов сигнальные отростки замков не должны быть видны.


Рис. 49. Положение механизмов автосцепки (а — при сцеплении, б— при расцеплении):
/ —замкодержатель, 2— противовес, — предохранитель замка (собачка}, 4 — замок, ,5 —полочка замкодержателя, в — подъемник, 7 --- расцепной \год замкодержателя. Л — палец; 9, 10 — плечо собачки, // — сигнальный огросгок
Расцепление автосцепки происходит тогда, когда замок одной головы может переместиться внутрь нее (см. рис. 49). Для расцепления автосцепок необходимо поднять и повернуть расцепной рычаг 14 (см. рис. 48). При этом натяжение цепочки 2 приведет к вращению валика подъемника и самого подъемника 6 (см. рис. 49).
Подъемник 6 верхним пальцем 8 нажимает на плечо 10 собачки, в результате чего другое верхнее плечо 9 поднимается и занимает положение выше противовеса замкодержателя /. При дальнейшем движении палец 8 подъемника нажимает на выступ замка и отводит его в положение расцепа, а подъемник 6 подходит к расцепному углу 7 замкодержателя /, нажимает на него снизу, поднимает вверх и проскакивает его. Замкодержатель под действием собственного веса опускается вниз, при этом сигнальный отросток // замка выходит из отверстия наружу, что характеризует расцепленное положение автосцепки. Механизм автосцепки будет находиться в расцепленном положении и останется в нем, пока головы автосцепок не будут разведены.
Для смягчения ударов и рывков, передаваемых от автосцепки к раме кузова, служит резиновый поглощающий аппарат, расположенный внутри тягового хомута 5 между задними упорными угольниками 8 и упорной плитой 6 (см. рис. 48).
Поглощающий аппарат Р-2П состоит из корпуса / (рис. 50), нажимной плиты 2, девяти резинометаллических элементов 3 и промежуточной плиты 4. Резино-металлический элемент аппарата состоит из двух стальных листов толщиной 2 мм, между которыми расположена специальная морозостойкая резина, жестко связанная с листами. Она имеет в сечении параболическое очертание, благодаря чему предотвращается выжимание резины за пределы металлических листов при полном сжатии резины. Поперечные размеры каждого элемента 265X220 мм,

Рис. 50. Поглощающий аппарат Р-2П

Рис. 51. Детали автосцепного устройства
толщина 41,5 мм. Чтобы исключить смещение резинометаллических элементов и соприкосновение их с кромками корпуса при сжатии аппарата, на днище корпуса, нажимной и промежуточных плитах, а также на стальных листах резинометаллических элементов имеются фиксирующие выступы и соответствующие им углубления. Полный ход аппарата при сжатии 70 мм, наибольшее усилие в конце сжатия не превышает 1 МН (100 тс). Масса составляет 116 кг.
Тяговый хомут / (рис. 51, а) представляет собой стальную отливку, состоящую из двух горизонтальных полос, соединенных по концам вертикальными связями. Передняя часть хомута имеет окно для прохода хвостовика автосцепки и отверстия для клина. В верхней части хомута под отверстием для клина есть два ушка с отверстиями для постановки болтов 3 с планкой, служащих опорой клину. Клин 2, соединяющий хвостовик автосцепки с тяговым хомутом, ставят снизу. От подъема вверх клин удерживается заплечиками. Изготавливают его штамповкой из Ст5.
Автосцепка присоединяется к тяговому хомуту 5 (см. рис. 48) с помощью клина 10, для чего в хвостовике корпуса / имеется вертикальное продолговатое отверстие. Во время пуска электропоезда автосцепка при помощи клина перемещает тяговый хомут, который тянет за собой корпус поглощающего аппарата. При этом резинометаллические элементы сжимаются и поглощают энергию воспринятого автосцепкой удара.
После полного сжатия поглощающего аппарата непоглощенная часть энергии через передний упор передается на буферный брус рамы кузова через розетку 5 (рис. 51, б). Розетку используют также для подвешивания маятникового устройства, состоящего из центрирующей балочки 6 и двух маятниковых подвесок 4. При отклонении корпуса автосцепки, лежащего на балочке 6 в горизонтальной плоскости, это маятниковое подвешивание стремится вернуть корпус автосцепки в среднее положение. При сжатии вагонов усилие, воспринимаемое автосцепкой, передается через хвостовик на нажимную плиту -и далее через поглощающий аппарат и задние упорные угольники на хребтовую балку вагона.
Высота оси корпуса автосцепки над головками рельсов у моторных и прицепных вагонов электропоездов ЭР9М и ЭР9Е (1150±20) мм. На головном вагоне со стороны лобовой части высота оси автосцепки от головки рельса 1070±ло мм. Автосцепки на заднем конце головного вагона, а также на моторном и промежуточном прицепном вагонах расположены на равных уровнях относительно рельсового пути, что улучшает условия приложения продольных сил к раме вагона.

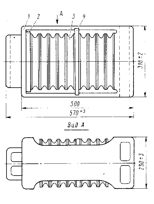
Рис. 52. Переходная площадка
Для снижения продольных динамических усилий, возникающих при трогании или торможении из-за наличия зазоров в автосцепных приборах, установлены переходные площадки с упругими резиновыми уплотнениями (баллонами). Их используют также для перехода людей из вагона в вагон.
Плотность переходного соединения обеспечивается за счет упругости резиновых баллонов. Баллоны замкнутого сечения изготовляют из резиновой пластины специального профиля. Вертикальные /, 3 (рис. 52) и горизонтальный 2 баллоны закрепляют с помощью болтов 8 на профилях торцовой стены вокруг дверного проема.
Под вертикальными баллонами расположено амортизирующее устройство, состоящее из двух амортизаторов 6, к которым крепится упорная балка 4. Переходный мостик состоит из двух стальных листов 5, 7, один из которых прикреплен к порогу торцовой двери, а другой — к верхнему профилю упорной балки.
|
|