Рессорное подвешивание предназначено для передачи веса электровоза на шейки колесных осей, распределения этого веса равномерно между осями, смягчения ударов, получаемых колесами или при неровностях пути, или при неправильной форме колесного бандажа и уменьшения воздействия электровоза на путь.
Рессоры и пружины должны быть достаточно прочными, чтобы выдержать вес электровоза. Они также должны обладать достаточной упругостью, т. е. способностью под воздействием усилия прогибаться на некоторую величину и затем по прекращению воздействия вновь принимать свою прежнюю форму.
Система рессорного подвешивания рам тележек на буксах колесных пар носит название первичного подвешивания, кузова на рамах тележек — вторичного рессорного подвешивания.
На электровозе применяют листовые рессоры и цилиндрические пружины. В системе первичного подвешивания установлены как листовые рессоры, так и цилиндрические пружины (статический прогиб 62 мм); в системе вторичного подвешивания — только листовые рессоры (статический прогиб 73 мм).

Рис. 29. Листовая подбуксовая рессора
Листовые рессоры. Рессоры первичного подвешивания собраны из постепенно укорачивающихся и наложенных друг на друга закаленных стальных пластин или листов / (рис. 29), связанных в одно целое хомутом 2, который надевают на них в горячем состоянии и опрессовывают. Верхние листы, идущие вдоль всей рессоры, называются коренными и имеют длину 1308 мм; на концах этих листов сделаны отверстия, через которые проходят подвески.
Остальные листы рессор имеют длину 1126; 966; 806; 646; 486 и 326 мм, т. е. каждый лист короче другого на 160 мм. Толщина листов равна 16 мм, ширина — 120 мм. Для того чтобы листы рессоры не смещались относительно друг друга, они имеют сверху продольные желоба, а снизу — выступы. Таким образом, выступ вышележащего листа всегда попадает в желоб нижележащего. Чтобы исключить продольный сдвиг, в центре каждого листа вы-штамповывается сферическая впадина, а за счет выдавленного материала на нижней стороне соответственно образуется сферический выступ. При сборке рессоры выступ каждого вышележащего листа попадает во впадину, сделанную в хомуте. Над верхним коренным листом ставят прокладку 4, также имеющую желобок, впадину и выступы. Между прокладкой и хомутом загоняют клин 3. Жесткость листовой рессоры составляет 192 кгс/мм.
Кроме листовых рессор с продольными желобами и выступали, на электровозах используются рессоры с плоскими листами.
На электровозах до № 305 ставились листовые рессоры вторичного подвешивания (рис. 30), которые имели десять листов ширили 120 мм и толщиной 20 мм. На концах крайнего коренного листа сделаны загибы, через которые пропускают валики рессорного ".эдвешивания. Длина его в распрямленном состоянии равна • 785 мм; длина второго коренного листа — 1420 мм; остальных — ответственно 1280; 1140; 1000; 860; 720; 580; 440 и 300 мм. Хомут •?меет боковой обработанный прилив с отверстиями для болтов,
с помощью которых рессору прикрепляют к поперечной балке. Верхняя часть хомута обработана для установки масляной ванны.
Между нижним коренным листом и хомутом, как и у листовой подбуксовой рессоры, установлена прокладка и клин. Для предотвращения продольного и поперечного сдвига вдоль листов предусмотрены желоба и выступы, а в середине — впадины и выступы.
Листы рессор изготовляют из стали марки 14260.7 с разрывным усилием 145—150 кгс/мм2 и максимальным пределом текучести 120 кгс/мм2. На электровозах с № 305 стоят рессоры, собранные из 15 листов толщиной по 16 мм. При ремонте электровозов можно ставить 12-листовые рессоры (ширина листа 130 мм, толщина 16 мм), изготовленные из стали 55С2 ГОСТ 1425-62. Жесткость этих рессор составляет 156 кгс/мм.
При изгибе рессоры ее листы могут взаимно перемещаться только в продольном направлении — от середины хомута до краев, листов.
Для того чтобы листовые рессоры были чувствительны к изменению нагрузки и меньше изнашивались, поверхности листов смазывают невысыхающей смазкой, например смесью сала с графитом или графита с цилиндровым маслом.
Цилиндрические пружины. Вследствие значительного внутреннего трения между отдельными листами листовых рессор последние недостаточно сглаживают мелкие удары, что вредно отражается на электрическом оборудовании электровоза. Поэтому, помимо листовых рессор, на электровозе поставлены цилиндрические винтовые пружины, не имеющие трения между своими частями.
Цилиндрические пружины изготавливают из стального прута диаметром 40 мм (рис. 31), который навивается на цилиндр диаметром 120 мм, равным внутреннему размеру пружины. Для придания пружине необходимой упругости ее, как и листовую рессору, подвергают закалке. Концы цилиндрической пружины стачивают по плоскости, перпендикулярной геометрической оси рессоры.

Рис. 30. Листовая рессора вторичного подвешивания

Рис. 31. Цилиндрическая пружина
Балансиры. Вследствие неровностей пути электровоз при движении все время колеблется и покачивается, поэтому один из рессор во время хода электровоза перегружаются, а другие, наоборот, разгружаются. Кроме того, упругость отдельных рессор с течением времени уменьшается. Уменьшение упругости вызывает уменьшение нагрузки на их буксы. За счет этого перегружаются соседние рессоры и их буксы. Перегрузка рессор и букс может вызвать излом рессоры, а недогрузка букс — боксование колесных пар. Во избежание перегрузки отдельных рессор электровозные рессоры соединяются
между собой балансирами, такие рессоры называются сопряженными. Балансиры, соединяющие две рессоры рядом расположенных букс, называются продольными. Балансир представляет собой брусок, откованный из стали.
Если при движении электровоза одна из сопряженных рессор перегрузится, то эта перегрузка передается балансиру, а последний передает часть излишнего груза другой (соседней) рессоре и нагрузка между ними выравнивается. Так как при этом каждой рессоре приходится воспринимать только часть ударов от толчков колеса, то они могут делаться более тонкими и поэтому более гибкими.
Рессорное подвешивание тележек (первичное подвешивание). Тележки электровоза ЧС2 имеют различную систему рессорного подвешивания.
У первой (со стороны кабины машиниста 1) тележки (рис. 32) рессоры каждой стороны второй и третьей колесных пар соединены продольными балансирами, а рессоры первой колесной пары связаны только с рамой тележки. У второй (со стороны кабины машиниста 2) тележки все рессоры каждой стороны соединены продольными балансирами. Между листовыми рессорами рамами, а также между этими рессорами и балансирами размерены цилиндрические пружины.
При связанных балансирами двух или трех листовых рессо-- лх равнодействующая их нагрузка всегда проходит через одну ! ту же точку независимо от нагрузки, передаваемой рессорами на -дельные колеса. Поэтому первая тележка с каждой стороны меет по две точки подвешивания. Одной из них являются сбалан-••;:лованные рессоры второй и третьей колесных пар, а другой точ-и — первая колесная пара. Всего, таким образом, на первой .лежке имеется четыре точки подвешивания. У второй тележки :-->го две точки подвешивания — по одной на каждую сторону, где балансированы рессоры всех колесных пар. Для этой тележки *7-*тьей точкой опоры служит межтележечное соединение, через

Рис. 32. Схема рессорного подвешивания тележек электровоза
которое передаются вертикальные усилия с рамы одной тележки на другую.
Передача вертикальной нагрузки от рамы тележки на буксы колесных пар осуществляется цилиндрическими пружинами, балансирами, листовыми рессорами и соединяющими их деталями (рис. 33).
Рама тележки 7 опирается через кронштейн 6, валик 8, болт 14, гайку 24, тарелку 23, цилиндрическую пружину 22, тарелку 21 и фасонную накладку 20 на коренные листы листовой рессоры 1 (рис. 34). Болты 14 откованы из стали 1421.1 и имеют в верхней части головку с отверстием, резьбу для гайки 24 и контргайки 25, а в нижней — резьбу для корончатой гайки 17. Эта гайка удерживает втулку 19, которая предохраняет болт 14 от износа. От вывертывания гайку 17 удерживает шплинт 16. Между стенками отверстий приливов кронштейна 6 и валиком 8 помещены втулки 26.
Между стенками отверстия в болте 14 и валиком 8 установлены силоновые втулки 13, допускающие высокие удельные давления.

Рис. 33. Рессорное подвешивание первой (а) и второй (б) тележек электровоза

Они служат одновременно изоляцией, препятствующей прохождению тока от рамычтележки через болты 14 и листовые рессоры / к корпусу буксы, т. е. через роликовые подшипники. Валик 8 по отношению к кронштейну фиксируется болтом 11 и планкой 10, помещенной в прорезь валика. Для подачи консистентной смазки :а трущиеся поверхности валика служит масленка 12.
На рис. 35 показана конструкция опоры балансира 4 (9), кото-:ля опирается на конец листовой рессоры /. Все детали этой опо-' ъ:. за исключением валика 3 (5) и стальной закаленной втулки 27, ■- ■ а логичны деталям опоры рамы, опирающейся на конец листовой - -;соры (см. рис. 34).
Опора рамы 7 на середину балансира 4 (9) (рис. 36) осуществ-гся валиком 30, вокруг которого балансир может поворачи-?.т:.ся. В балансир впрессована втулка 29, изготовленная из мар-^••цовистой стали, содержащей 11—13% марганца. Валик 30

фиксируется относительно кронштейна 6 планкой 28, укрепленной болтами. Листовая рессора / подвешивается к корпусу 31 буксы (рис. 37) с помощью щек 33 и 36, цапфы которых вставлены в отверстия нижних приливов корпуса буксы и на нижний выступ которых опирается хомут листовой рессоры. В щеки впрессованы втулки 32, В нижней части щеки стянуты двумя болтами 34, самопроизвольному вывертыванию которых препятствуют пластины 35.
После опускания кузова на тележки гайками 24 (см. рис. 35) устанавливают горизонтальное положение листовых рессор 1

Рис. 38. Рессорное подвешивание кузова (вторичное подвешивание)

Рис. 39. Соединение листовых рессор вторвчного подвешивания ,'
и заданный зазор между корпусом букс и рамами тележек — 35 мм. Для того чтобы при подъеме тележек за их рамы одновременно поднимались и колесные пары, к рамам укреплены предохранительные скобы 2 (см. рис. 33), в которые входят горизонтальные приливы корпусов букс.
Предохранительные скобы 2 используются также для вывешивания колесной пары при ее повреждении, когда необходимо транспортировать электровоз.
Рессорное подвешивание кузова (вторичное подвешивание). Кузов электровоза опирается на каждую тележку через две боко-зые опоры и ванны 2, укрепленные на хомутах 13 листовых рес-;ор 14 (рис. 38 и 39). Хомуты соединены между собой фасонной поперечной балкой, состоящей из трубчатой части 18 и приваренных к ней кронштейнов 12; хомуты рессор прикреплены к балке болтами 17 (по восемь болтов у каждой рессоры),
Концы листовых рессор с помощью валиков 11 (см. рис. 38 и 40), щек 10 и валиков 19 шарнирно связаны с люлечными подвесками 9 и 21. Последние своими проушинами опираются на седла камней 6 и 20. Камни в свою очередь укреплены на валике 16 (с гайкой 22), проходящем через втулку 23, впрессованную в отверстие кронштейна 7 (1). Последние шпильками и гайками прикреплены к раме тележки. Точное положение кронштейнов 7 и 1 на балках тележек фиксируется штифтами 24.
К раме прикреплены также предохранительные крюки 15, на которые при обрыве люлечных подвесок опирается конец листовой рессоры.
Для того чтобы исключить перемещение листовых рессор люльки в продольном направлении под воздействием сил трения, между скользуном и опорной поверхностью ванн один из кронштейнов 7 каждой стороны тележки соединяют через палец 8, поводок 5, валик 4 и вилку 3 с корпусом ванны 2 (см. рис. 38).
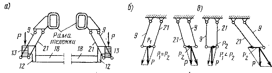
Во время движения электровоза по прямому участку пути подвески 9 и 21 обеих сторон кузова (рис. 41,а) располагаются симметрично относительно вертикали. Система находится в равновесии (рис. 41,6) и продольные оси кузова и тележек совпадают между собой.
При входе электровоза в кривую его передняя тележка под действием силы, направленной от головки наружного рельса к гребню бандажа первой по ходу колесной пары, поворачивается относительно кузова и одновременно смещается в сторону от его

Рис. 40 Комплект вторичного подвешивания рессоры

Рис. 41. Схема люлечного подвешивания (а) в состояние равновесия (б) и при движении электровоза в кривой (в):
Р—нагрузки кузова на листовую рессору
продольной оси. Кузов же еще некоторое время продолжает прямолинейное движение. При этом подвески 9 и 21, расположенные со стороны наружного рельса, займут положение, близкое к вертикальному, а подвески, расположенные со стороны внутреннего рельса, наклонятся еще больше (рис. 41, в). В результате возникает горизонтальная сила, стремящаяся вернуть систему в равновесие, и под действием этой силы балка вместе с листовыми рессорами и опирающимся на них кузовом отклоняется вслед за тележкой.
Применение нежесткой связи кузова с тележкой в поперечном направлении значительно снижает воздействие электровоза на путь при входе его в кривые. В этом случае первоначально на наружный рельс действует только сила от массы тележки, а затем постепенно по мере отклонения люлечного подвешивания увеличивается горизонтальная сила от массы кузова.
При движении электровоза по прямому участку пути и отклонении тележки от продольной оси кузова (например, при сильном боковом ветре) также изменяется величина наклона правых и левых подвесок 9 и 21. Возникает горизонтальная сила, стремящаяся возвратить тележку в положение, при котором ее продольная ось совпала бы с продольной осью кузова.
В поперечном направлении тележка может отклоняться от оси кузова на величину ±30 мм. Если внешняя горизонтальная сила, направленная от головки наружного рельса к гребню бандажа колесной пары тележки, по каким-либо причинам окажется больше максимальной горизонтальной возвращающей силы от изменения наклона подвесок, то тележка сместится в поперечном направлення по отношению кузова на 30 мм и разница между внешней и возвращающейся силами передается через шкворень от рамы тележки на раму кузова.
При прогибе листовых рессор вторичного подвешивания кузов приближается к раме тележки. Шкворень в этом случае скользит внутри шара поперечной балки. Перемещение кузова ограничивается зазором между его рамой и специальными упорами 2 (см. рис. 10) на рамах тележки. Величина этих зазоров составляет 30— 36 мм.
|
|