На электровозе ЧС7 применена система реостатного торможения с независимым возбуждением и подключением якорей тяговых двигателей к отдельным секциям резисторов, что позволяет осуществить быстрое нарастание тормозной силы и уменьшает возможность юза (остановки колеса). Переход из режима тяги в режим реостатного торможения может производиться на любой позиции КМЭ, включая ступени ослабления возбуждения. При включении ЭДТ в действие в силовой цепи электровоза происходит следующее.
1. Размыкаются силовые контакты 01 — 03, 04 — 06, 07 — 09, 10 — 12, 13 — 15, 16 — 18 переключателей "X — Т" 071, 072 и замыкаются их контакты 01 —02.04 — 05 , 07 — 08, 10— 11, 13— 14, 19 — 20, 22— 23.
2. После включения реле торможения 334 и 335 через их блок-контакты получают питание катушки ЛК 030, 031, 0402, 041, 0571, 0581, 0602, 0292, 0591, а также контакторов 099.
3. Контакты переключателей 071, 072 и ЛК обеспечивают подключение якорей ТД к соответствующим пускотормозным резисторам и последовательное соединение обмоток возбуждения всех ТД одной секции.
Якорь ТД 1 (0501) подключается к секции В1 — С ПТР 0901 по цепи: зажим вывода AI ТД 1, РП 0251, кабель 0101, контакты 11 — 10 переключателя 0711, кабель 0821, ЛК 0581, кабель 0301, зажимы выводов В1, В2 катушки ДР 0861, кабель 0331, зажим вывода В1 ПТР 0901, зажим вывода G, кабель 0341, контакты 22 — 23 переключателя 0711, кабель 0121, зажим вывода В2 ТД 1.
Якорь ТД 2 (0511) подключается к секции G — К ПТР 0901 но цепи: вывод AI ТД 2, кабель 0121, контакты 23 — 22 переключателя 0711, кабель 0341, зажим вывода G ПТР 0901, зажим вывода К, ЛК 0571, шунт амперметра 1181, контакты 19 — 20 переключателя 0711, кабель 0141, РП 0271, зажим вывода В2 ТД 2.
Якорь ТД 3 (0521) подключается к секции Bl — G ПТР 0921 по цепи: зажим вывода AI ТД 3, РП 0281, кабель 0581, ЛК 0311, кабель 0831, контакты 10—11 переключателя 0721, кабель 0041, зажимы выводов Bl, В2 катушки ДР 0871, зажим вывода В1 ПТР 0921. зажим вывода G, кабель 0501, контакты 20 — 19 переключателя 0721, кабель 0601, зажим вывода В2 ТД 3.
Якорь ТД 4 (0531) подключается к секции G — К ПТР 0921 по цепи: зажим вывода AI, ТД 4, кабель 0601, контакты 19 — 20 переключателя 0721, кабель 0501, зажим вывода G ПТР 0921, зажим вывода К. ЛК 0411, кабель 0451, контакты 01 — 02 переключателя 0711, кабель 0631, РП 0261, зажим вывода В2 ТД 4.
Якорь ТД 5 (0502) подключается к секции Bl — С ПТР 0922 через Л К 0602.
Якорь ТД 6 (0512) подключается к секции G — К ПТР 0922 через Л К 0402.
Якорь ТД7 (0522) подключается к секции Bl — G ПТР 0902 через ЛК 0302.
Якорь ТД 8 (0532) подключается к секции G — К ПТР 0902 через ЛК 0412.
В цепи якоря каждого ТД включен один из транедукторов 105. 106, 107, 108, сигналы от которых, пропорциональные токам якорей, поступают в блок 366.
Цепь последовательно соединенных обмоток возбуждения ТД 1-й секции замыкается следующим образом: вывод D импульсного преобра-


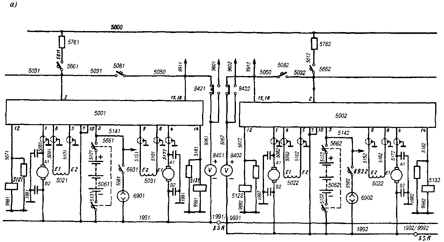
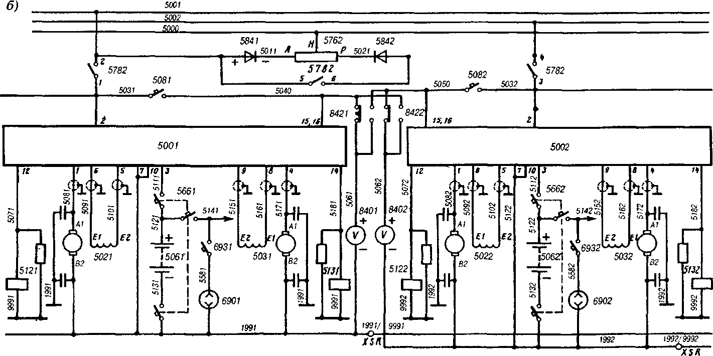
Рис. 9. Схема подключения источников питания на электровозах: а — № 76 — 150; б — до № 76
зоватсля (тиристорного возбудителя) 1001, кабель 0851, катушка РП 0881, кабель 0191, контакты 05 — 04 переключателя 0711, обмотка возбуждения Dl —D2 ТД 1, обмотка возбуждения D2 — DI ТД 2, ЛК 0301, кабель 0281, контакты 07 — 08 переключателя 0711, кабель 0291, контакты 05 — 04 переключателя 0721, обмотка возбуждения DI—D2 ТД 3, обмотка возбуждения D2 — DI ТД 4, Л К 0591, шунт амперметра 1191, безындуктивный шунт 1171, вывод Е тиристорного возбудителя 1001.
Последовательное соединение обмоток ТД во 2-й секции обеспечивается Л К 0292, 0312.
Подключение возбудителя 100 к выводам // ПТР 0901 (0922) осуществляется контактами 13—14 переключателя 0711 (0722). Контактор 099 подключает к возбудителю аккумуляторную батарею и генераторы управления в начальный момент торможения.
В режиме ЭДТ контроль тока цепи якоря осуществляется при помощи амперметров 120 (122), а по показанию амперметров 121 (123) контролируется ток в обмотках возбуждения.
При снижении скорости до 60 км/ч включаются реостатные контакторы 035, 045, шунтирующие часть ПТР для увеличения тока в обмотках якорей ТД — режим Т2. При снижении скорости до 40 км/ч дополнительно включаются реостатные контакторы 034 , 036, 044 , 046 для дальнейшего шунтирования ПТР — режим ТЗ.
|
|