Для обеспечения сжатым воздухом пневматических приборов цепей управления электропоезда и автоматических тормозов на каждой электросекции устанавливается мотор-компрессор, расположенный под кузовом головного вагона и состоящий из компрессора и электродвигателя. Кроме того, для подъема токоприемника в шкафу моторного вагона устанавливается вспомогательный мотор-компрессор, электродвигатель которого питается напряжением 110 В от аккумуляторной батареи.
На электропоездах ЭР9М и ЭР9Е в качестве основного мотор-компрессора устанавливается компрессор ЭК-7В с электродвигателем 548А. Основные технические данные мотор-компрессора:
101
|
Тип мотор-компрессора |
ЭК-7В |
|
Производительность, м3/мин |
0,58 |
|
Частота вращения коленчатого вала, об/мин |
540 |
|
Рабочее давление сжатого воздуха, кгс/см" |
|
|
(МПа) |
8 (0,8) |
|
Потребляемая мощность, кВт |
4,7 |
|
Диаметр цилиндра, мм |
112 |
|
Ход поршня, ММ ' |
92 |
|
Передаточное число редуктора |
1,81 |
|
Общая масса, кг |
428 |
|
Габаритные размеры, мм |
940X702X510 |
|
Электродвигатель |
|
|
Тип |
548А |
|
Частота, Гц |
50 |
|
Напряжение, В |
220/380 |
|
Ток пусковой, А |
53,5 |
|
Мощность номинальная, кВт |
5 |
|
Частота вращения якоря, об/мин |
975 . |
|
Масса, кг |
310 |
Мотор-компрессор работает в повторно-кратковременном режиме, так как необходимость подкачки воздуха возникает лишь по мере его расходования. Характер этого режима оценивается продолжительностью включения (ГШ), которая для мотор-компрессоров электропоездов составляет около 35—50% с продолжительностью цикла до 10 мин. Хотя такой режим и облегчает их работу, однако частые пуски создают дополнительные динамические усилия на основные детали мотор-компрессора. Устанавливаемый на электропоездах мотор-компрессор воздушный ЭК-7В относится к типу горизонтальных однорядных одноступенчатых поршневых машин низкого давления и малой производительности.
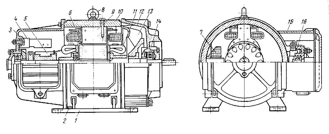
Компрессор состоит из корпуса / (рис. 77), коленчатого вала 2, шатунно-поршневой группы, блока цилиндров 6, всасывающих 7 и нагнетательных 8 клапанов, крышки 9 клапанов и двухступенчатого редуктора. Корпус 1 компрессора отливается из серого чугуна и является базой, на которой монтируют все остальные узлы и детали. Доступ в корпус осуществляется через окна, закрываемые крышками. Двухкривошипный коленчатый вал опирается на два радиальных однорядных шариковых подшипника, один из которых 19 вмонтирован в горизонтальную расточку торцовой стенки корпуса, а другой 21 — в переднюю крышку 22 подшипника.
Два горизонтальных шатуна 10 смонтированы на шатунных шейках коленчатого вала. Нижние головки шатуна залиты баббитом и образуют шатунные подшипники 3, в верхние головки запрессованы бронзовые втулки 4. На обеих крышках шатунов предусмотрено по одному маслоразбрызгивателю 20, которые крепятся в разъемах шатунов.
Поршни 5 изготовляют из серого чугуна. На головке каждого поршня имеется по три ручья: два верхних — для компрессионных колец и один нижний — для маслосъемного кольца. На юбках поршней проточены ручьи для вторых масло-съемных колец.
Блок 6 цилиндров выполнен из серого чугуна и установлен на корпусе. Наружная поверхность блока цилиндров для увеличения теплоотдачи изготовлена ребристой.
Клапаны всасывающие и нагнетательные (рис. 78) выполнены самопружинящими ленточными в одном блоке. Каждый из клапанов имеет по 12 пластин: шесть нагнетательных и шесть всасывающих. Крышка клапанной коробки изго-


товлена из серого чугуна. Наружная поверхность крышки для обеспечения необходимой теплоотдачи сделана ребристой. Внутренняя полость ее имеет перегородку, отделяющую всасывающую полость крышки от нагнетательной.
Во фланцевом приливе между цилиндровой частью компрессора и электродвигателем установлен двухступенчатый редуктор. Он предназначен для снижения числа оборотов от электродвигателя к компрессору. Двухступенчатый редуктор состоит из шестерни 24 (см. рис. 77), расположенной на валу электродвигателя, шестерни 23, находящейся на коленчатом валу компрессора, и блока шестерен, вращающегося на эксцентриковой оси 16. Эксцентриковая ось на концах имеет две опорные шейки 18 и изготовлена из стали 38ХС. Возможность регулировки зубчатого зацепления при износе зубьев обеспечивается тем, что ось может занимать пять различных положений, для чего на одной из опорных шеек имеется пять отверстий. Для фиксации в каком-либо положении из пяти ось стопорится винтом 12.
Для улучшения условий смазывания эксцентриковая ось внутри делается полой с четырьмя сквозными масляными каналами 17. Блок шестерен состоит из двух шестерен, изготовляемых из стали 40Х. В него запрессовываются две бронзовые втулки 13. Блок имеет свободное вращение на эксцентриковой оси.
Система смазки компрессора барботажная. Шестерни редуктора частично погружаются в масло и смазывают весь редуктор. При вращении коленчатого вала масло из картера захватывается разбрызгивателями, укрепленными на шатунах. При этом создается масляный туман, оседающий на рабочих поверхностях трущихся деталей. Корпус компрессора наполняется маслом до верхнего уровня маслозаливочного отверстия, уровень которого контролируется масляным щупом (рис. 79).
На щупе имеется риска, соответствующая нижнему уровню масла, ниже которого эксплуатация компрессора не допускается.
Фланцы электродвигателя и компрессора скрепляются шестью болтами М16. На конец вала электродвигателя насажена шестерня, которая находится в зацеплении с блоком шестерен компрессора и передает вращательное движение коленчатому" валу.
Поршневые компрессионные кольца для уменьшения выброса масла в нагнетательный воздухопровод и ускорения процесса приработки выполнены конусными. Устанавливают такое кольцо 2 (рис. 80) торцом меньшего диаметра, на котором имеется метка Верх, к днищу / поршня. Если метка Верх по каким-либо причинам отсутствует, определение направления конусной рабочей поверхности кольца производится, как показано на рис. 81. Метка Верх должна быть на торце, в сторону которого наклонено кольцо.
Электродвигатель 548А, на, который с помощью фланца устанавливают компрессор, представляет собой асинхронный двигатель, активные части которого, т. е. ротор со специальным валом и сердечник статора, встроены в корпус электродвигателя постоянного тока. Электродвигатель имеет пусковую и рабочую обмотки. Изоляция его выполнена по классу В.
При эксплуатации необходимо внимательно следить за состоянием и работой мотор-компрессоров как в целом, так и отдельных его узлов. Необходимо периодически проверять состояние узлов и механизмов компрессора, смазку, регулировку их, затягивать резьбовые соединения и содержать компрессор в чистоте.
При ТО-3 необходимо производить наружный осмотр компрессора с электродвигателем и устранять выявленные дефекты. Проверяют надежность крепления всех деталей и узлов, уровень масла в картере компрессора. При необходимости
масло доливают. Во время проверки работы компрессора контролируют его нагрев и отсутствие посторонних шумов.
На ТР-1 дополнительно необходимо очищать компрессор от пыли, грязи. Снимают головку блока цилиндров, проверяют рабочие поверхности цилиндров (на рабочей поверхности цилиндров допускаются продольные риски глубиной не более 1 мм, не выходящие за крайнее положение второго кольца поршня в цилиндре), разбирают клапаны, тщательно очищают от грязи и нагара, промывают в керосине, проверяют клапанные пластины. При очистке клапанов запрещается применять стальные проволочные щетки. Если нагар затвердел, его следует размочить керосином, а потом очистить мягкой_тряпкой. Необходимо снять, осмотреть, очистить и смазать компрессорным маслом поршневые кольца, очистить днища и ручьи поршней от грязи и нагара. При установке поршня в цилиндр замки поршневых колец необходимо сдвинуть один по отношению к другому на 120°.
Осматривают зубчатые передачи, при необходимости регулируют зазоры. Через один ТР-1 добавляют смазку в подшипники. После окончания ревизии проверяют производительность компрессора.
При ТР-2 и ТР-3 дополнительно производят полную разборку компрессоров, очистку, дефектировку, выявление трещин, неисправностей и износов, проверку состояния резьбовых отверстий.
Ревизию, связанную с разборкой узлов и механизмов компрессора, следует проводить только в ц/хе для предохранения разбираемых узлов от пыли и грязи.
После ремонта производят сборку и испытание компрессора. При этом зазоры между шейками коленчатого вала и подшипниками головок шатуна регулируют прокладками. Поршни устанавливают отверстиями для стока масла вверх. Поршневые кольца в цилиндрах должны работать всей поверхностью. Расстояние от торца поршней в верхнем крайнем положении до плиты клапанов (вредное пространство) должно быть выдержано в пределах норм. После сборки компрессор необходимо залить маслом до определенного уровня и испытать на холостом ходу в течение 30 мин для проверки нагрева и подгонки всех деталей. В компрессоре не должно быть чрезмерного нагрева деталей, ударов, заеданий, шумов.
Испытывают компрессор вместе с электродвигателем. При испытании проверяют утечку воздуха, производительность компрессора и нагрев его деталей согласно паспортным данным. После испытания ком-


Рис. 82. Электродвигатель типа П-31 вспомогательного компрессора:
/—лапы; 2 — винт заземления; 3, 12 — подшипниковые шиты; 4 — траверса; 5 — коллектор; 6 — якорь; 7—добавочные полюсы; 8 — подъемное кольцо; 9- главные полюсы; 10 — станина; //—обмотка якоря; 13 — центробежный вентилятор, 14 — шариковые подшипники; 15 — зажимная коробка; 16 — доска зажимов
прессора в масле корпуса не должно быть металлических включений. Отремонтированный компрессор с наружной стороны окрашивают масляной краской или покрывают лаком.
Для подъема токоприемника служит вспомогательный компрессор ЗИЛ-150 с электродвигателем П-31, который питается от аккумуляторной батареи. Электродвигатель П-31 (рис. 82) имеет горизонтальное исполнение. Основные технические данные электродвигателя П-31:
Мощность 0,7 кВт
Напряжение 110 В
Ток 8,7 А
Частота вращения 1000 об/мин
Масса 54,5 кг
Электродвигатель П-31 является электродвигателем постоянного тока со смешанным возбуждением, имеет два главных 9 и два дополнительных 7 полюса. Марка провода обмотки главных полюсов ПБД, класс изоляции В. Количество щеткодержателей — два.
Якорь 6 имеет петлевую обмотку. Корпус двигателя отлит из силумина. С про-тивоколлекторной стороны вал якоря имеет свободный конец со шпонкой для установки соединительной муфты с компрессором ЗИЛ-150. Корпус имеет выступы / для установки двигателя на общей с компрессором раме.
Поскольку электродвигатель П-31 является коллекторным двигателем постоянного тока, обеспечивающим работу вспомогательного компрессора для подъема токоприемника, то в эксплуатации необходимо тщательно следить за состоянием и чистотой коллектора и щеточного аппарата.
Поверхность нормально работающего коллектора 5 должна быть гладкой, полированной и иметь красноватый цвет с фиолетовым оттенком. Такой цвет политуры коллектора необходимо сохранять и без надобности не чистить шкуркой.
Правильно отполированная поверхность удлиняет срок службы коллектора и улучшает коммутацию машины.
Если имеются следы подгара на коллекторе, его зачищают шлифовальной шкуркой на полотне С № 4-6, которой обертывают деревянную колодку, хорошо пригнанную по окружности коллектора, или шлифовальными абразивными брусками марок Р-16, Р-17, которые закрепляют на двигателе специальным приспособлением.
Шлифовка без колодки недопустима, так как это вызывает неравномерное по длине коллектора устранение подгаров.
Если в результате износа коллектора поверхность коллекторных пластин сравнялась с межламельной миканитовой изоляцией, следует произвести про-дорожку на глубину 1 —1,5 мм и снять фаски 0,2 мм под углом 45° с каждой пластины, удалить щеткой остатки изоляции и прошлифовать коллектор.
При невозможности привести коллектор в нормальное состояние шлифовкой его следует проточить на станке. Однако обточку можно производить только в крайних случаях и очень осторожно, так как она значительно снижает прочностные свойства коллектора.
Во время эксплуатации необходимо постоянно следить за состоянием щеточного аппарата и износом щеток (допустимый минимальный размер 15 мм).
Вновь устанавливаемые щетки обязательно притирают по коллектору. Притирку производят шлифовальной шкуркой С № -20-16. Щетки должны свободно передвигаться в щеткодержателе.
Допускается зазор по ширине щетки вдоль оси коллектора не более 0,15 мм при изношенной щетке.
Периодически проверяют нажатие щеток на коллектор. Нормальное давление на поверхность прилегания щеток для марок ЭГ-2А, ЭГ-61 составляет 150— 200 кгс/см2 (0,015—0,02 МПа). На двигателе П-31 нажатие на щетку составляет 0,5 кгс.
Слишком сильное нажатие приводит к чрезмерному нагреву коллектора и быстрому износу щеток и пластин, а слабое — к опасному искрению. Зазор между нижней кромкой обоймы щеткодержателя и поверхностью коллектора должен составлять 1,5—2,5 мм.
Шариковые подшипники не должны нагреваться выше нормы, т. е. превышение температуры подшипника не должно быть выше 60 °С. При появлении повышенной температуры, неравномерного или повышенного шума подшипники следует разобрать и устранить неисправность. При посадке нового подшипника его необходимо подогреть в масляной ванне до температуры 80—90 °С. После нагрева подшипник должен насаживаться на вал с помощью легких ударов по нему через медную прокладку. Подшипниковая камера заполняется смазкой ЖР01-13 на 2/3 объема.
После сборки подшипниковых узлов якорь вращают вручную в течение 2—3 мин, а потом на холостом ходу — 5 мин. Необходимо строго следить за уплотнениями в двигателе.
Перегрузка машины по току и напряжению не разрешается. Сопротивление изоляции машины должно быть не менее 0,3 МОм в нагретом состоянии.
Для проверки сопротивления изоляции используют мегаомметр на 500 В.
Компрессор ЗИЛ-150 — двухцилиндровый поршневой одноступенчатый. Цилиндры компрессора отлиты из чугуна в одном блоке, закрыты сверху общей чугунной головкой на прокладке и укреплены на картере. В цилиндрах установлены чугунные поршни, каждый из которых имеет четыре уплотнительных кольца.
Поршень с помощью пальца соединен с верхней головкой шатуна. Нижняя разъемная головка шатуна с баббитовой заливкой и регулировочными прокладками укреплена на шатунной шейке коленчатого вала. Коленчатый вал с двумя кривошипами установлен в картере в двух шариковых подшипниках. Передний подшипник крепится на шейке вала гайкой.
Наружный конец вала уплотняется сальником, и на нем закрепляют полумуфту. Охлаждение цилиндров воздушное. Компрессор дает возможность создавать давление воздуха для подъема токоприемника до 8 кгс/см2 (0,8 МПа).
|
|