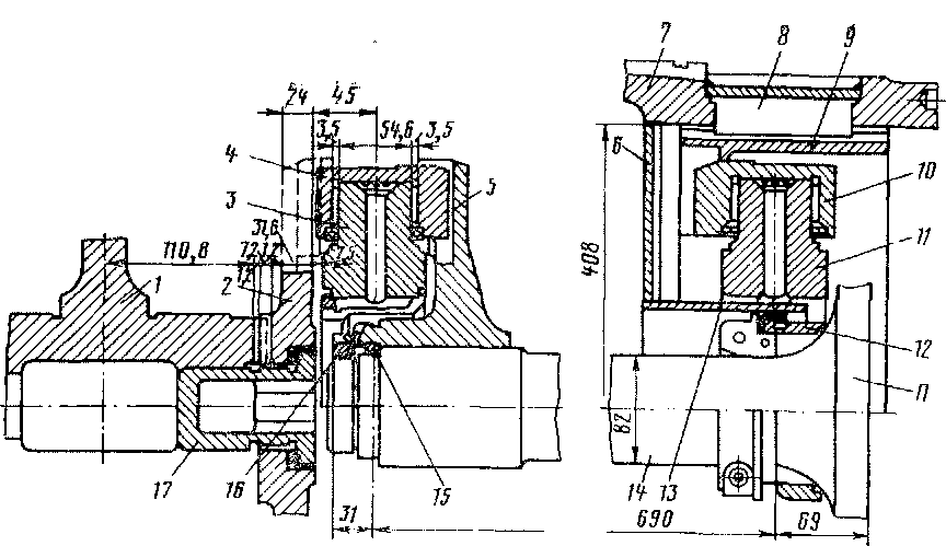
Для передачи вращающего момента от вала тягового двигателя к шестерне зубчатой передачи служит карданный привод. Он позволяет оси колесной пары иметь относительно тягового двигателя некоторые перемещения, которые происходят как при прогибе рессор первичного подвешивания, так и при некотором аксиальном (осевом) смещении колесной пары по отношению к раме тележки. Основными частями карданного привода (рис. 73, 74 и 75) являются цилиндры 9, карданный вал 14 и две карданные муфты. Цилиндр имеет 12 продольных канавок (шлиц), в которые входят зубья 8, прикрепленные к полому валу 7.
К цилиндру прикреплены два игольчатых подшипника (кулачка), в которые входят пальцы крестовины 11. На два других пальца посажены подшипники (кулачки) 10, прикрепленные болтами к поводку П карданного вала 14.
Со стороны зубчатой передачи карданный вал имеет шлицы и нарезку для гайки 16. На шлицевую часть вала помещен поводок 5, положение которого фиксируется кольцом 15 и гайкой 16.

Рис, 73. Карданный привод
На поводке болтами укреплены два подшипника 4, в которые входят пальцы крестовины 3. На два других пальца крестовины посажены подшипники 18, укрепленные болтами на поводке 2. Поводок торцовыми шлицами и центральным болтом 17 связан с шестерней /.
Карданная муфта со стороны коллектора помещена в камеру, образованную полым валом, приваренной к нему стенкой 6 (шайбой), цилиндром 13 и фланцем вала. В эту камеру через канал в подшипниковом щите наливают около 5 л масла. Для предотвращения потерь масла на карданном валу смонтировано устройство, состоящее из резиновой прокладки 19, удерживающего 12 и уплот-

Рис. 74. Карданный привод с зубчатой передачей
няющего 20 колец. При вращении якоря масло смазывает трущиеся поверхности (шлицы) цилиндра 9 и игольчатые подшипники 10 карданной муфты.
Вертикальные перемещения колесной пары относительно тягового двигателя приводят к повороту карданного вала на небольшой угол из-за смещения подшипников на пальцах крестовин. При аксиальном перемещении колесной пары относительно якоря карданный привод перемещается вдоль полого вала 7, зубья 8 которого скользят по шлицам цилиндра 9.
|
|