Трансформатор 1 ТР.071. Назначение и технические данные. Трансформатор 1 ТР.071 предназначен для исключения электрического соединения между цепями управления и заземленными частями в системе питания цепей управления. Технические данные трансформатора 1 ТР.071:
Мощность 9 кВ-А
Частота 50 Гц
Род тока переменный
Марка стали Э12 ^
Площадь сечения сердечника 80 см'
Объем масла 35 л
К. п. д. 95%
Масса без масла, не более 125 кг Первичная обмотка (&'вх):
номинальное напряжение 220 В
номинальный ток
сопротивление при 4-20 °С
число витков Тип провода Вторичная обмотка:
номинальное напряжение
номинальный ток
сопротивление при +20 °С
число витков:
Ш| и:'2
Тип провода
50 А
0,057+0,0057 Ом 54X2
ПБД-2,44Х6,9 мм
188 В 50 А
0,053±0,0053 Ом
23X2
23
23
11БД-2,44Х6,9 мм
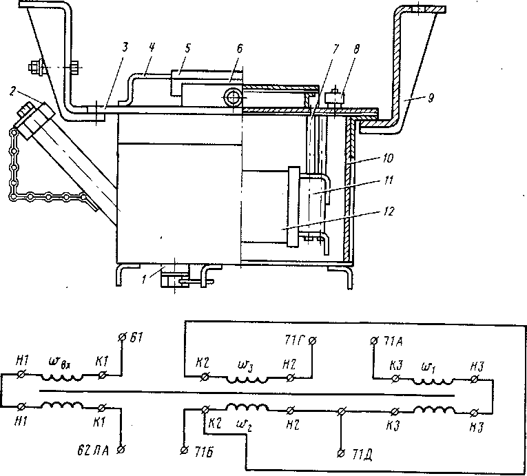
Устройство. Общий вид и схема трансформатора показаны на рис. 98 и 99. Магнитопровод // имеет О-образную форму, набран из отдельных прямоугольных пластин и расположен горизонтально. На каждом стержне магнитопровода имеется катушка 12 — бескаркасная многослойная. Первичная и вторичная обмотки состоят из двух секций, расположенных в разных катушках. Первой намотана секция первичной обмотки, а затем секция вторичной обмотки. Магнитопровод // с катушками 12 подвешивается на стягивающих его шпильках 7 к крышке 3. На крышке смонтированы выводы. Выводы катушки закрыты коробкой 5, обеспечивающей пылебрызгозащиту выводных зажимор. Трансформатор помещается в баке 10 с трансформаторным маслом. К баку приварены кронштейны 9 для подвески под вагоном.
Бак имеет сбоку наливной патрубок, к пробке 2 которого прикреплен щуп для контроля уровня масла. На дне бака расположено маслосливное отверстие, закрытое пробкой /. На крышке 3 расположены отверстие для выхода воздуха,

Рис. 98. Трансформатор 1ТР-071
Рис. 99. Схема трансформатора 1ТР-071
закрытое пробкой 8 с отверстиями, и ручки 4 для подъема трансформатора. Бак 10 и пробки 2 и 1 имеют резиновые уплотнения, а пробка 8 — войлочное. Монтаж проводов осуществляют через втулку 6 коробки 5.
Трансформаторы 1ТР.033, 1ТР.068, 1ТР.069 и 1ТР.070. Назначение и технические данные. Трансформаторы предназначены для использования в системе тиристорной стабилизации:
1ТР.068 (рис. 100) —входные трансформаторы Тр1, Тр2 блока управления БУС;
1ТР.033 (рис. 101) —импульсный трансформатор ТрБ блокинг-генера-тора БГ;
1ТР.069 (рис. 102) — понижающий трансформатор ТрП для питания АЛС; 1ТР.070 (рис. 103) — трансформатор тока ТрО — датчик ограничителя тока. Технические данные трансформаторов:


Рис. 100. Трансформатор 1 ТР.068:
„ — габаритный чертеж, б — схема обмоток


Рис. 102. Трансформатор 1ТР.069:
а — габаритный чертеж, 6 — схема обмогок

Устройство. Магнитопровод / трансформатора 1ТР.033 (см. рис. 100) набран из Ш-образных пластин. Катушка 2 каркасная. Трансформатор крепится к панели лапками коробки 3. Магнитопровод / трансформатора 1 ТР.068 (см. рис. 101) набран из Ш-образных пластин. На среднем стержне магнитопровода насажена каркасная катушка 2, от 730-го витка обмотки Н2-К2 и от 200-го витка обмотки НЗ-КЗ сделаны отводы. Выводы катушки крепятся к лепесткам панели 3. Коробка 4 предназначена для стяжки магнитопровода и крепления к панели.
Магнитопровод / трансформатора 1ТР.069 (см. рис. 102) набран из Ш-образных пластин. На среднем стержне магнитопровода насажена каркасная катушка 2, от 198-го и 205-го витков обмотки Н2-К2 сделаны отводы. Выводы катушки крепятся к лепесткам панели 3. Угольники 4 предназначены для крепления трансформатора к панели.
Магнитопровод / трансформатора 1ТР.070 (см. рис. 103) Ш-образный. Первичная обмотка намотана на каркасную катушку 2. Вторичная обмотка 3 намотана непосредственно на средний стержень магнитопровода проводом ПС-1000 с площадью сечения 10 мм2. Трансформатор крепится к панели с помощью угольников 4.
|
|