Тяговый трансформатор ЬТБ 7,85/25 (рис. 89) состоит из активной части магнитопровода с обмотками, помещенной в бак 4, который в верхней части закрыт крышкой 10 с резиновым уплотнением. Бак опирается на раму кузова плитой 5 с ребрами. Все обмотки трансформатора— регулировочная, первичная, вторичные, собственных нужд и отопления поезда—расположены на общем трехстержневом магнитопроводе. На крышке бака трансформатора установлены высоковольтные проходные изоляторы 2, шинные вводы 6 вторичных обмоток, расширитель-

Рис. 89; Тяговый трансформатор 1Л"87,85/25
ный бак 8 с воздухоосушителем /, газовое реле 3; на боковой стенке — проходные изоляторы обмоток собственных нужд 7 и отопления поезда 9. К баку трансформатора крепится переключатель ступеней //.
Бак трансформатора сварен из листовой стали и имеет прямоугольную форму с размерами 2150 X 1450 X 1500 мм. Толщина стенок бака 5 мм, дна —10 мм. Между опорной плитой и опорным фланцем кузова установлены амортизационные резиновые прокладки. Крепление опорной плиты к раме кузова выполнено болтами М25. После сварки для снятия напряжений бак подвергают термоулучшению. Плотность сварных швов проверяют давлением 0,5 кгс/см2. Все уплотнения бака изготовлены из маслостойкой и морозостойкой резины.
Для демонтажа тягового трансформатора и транспортировки его мостовым краном на баке предусмотрены четыре цапфы. Для фиксации выемной части трансформатора служат специальные цапфы, расположенные вверху бака.
В процессе работы трансформатора из-за непостоянства температуры объем масла меняется. Поскольку бак трансформатора должен быть заполнен маслом полностью, изменение объема масла происходит в расширительном баке.
Расширитель прямоугольной формы, сварен из листовой стали толщиной 3 мм. Он установлен над крышкой бака трансформатора и соединен с ним трубами. Емкость расширителя и уровень масла в нем должны обеспечивать постоянное заполнение бака трансформатора маслом при колебании окружающей температуры от —50 до +40° С во всем диапазоне нагрузок трансформатора.
Уровень масла в расширителе контролируют по маслоуказателю, который состоит из рамки 3 (рис. 90) со смотровыми окнами, масломер-ной трубки из неорганического стекла /, уплотнения 2, регулировочного болта 5, предназначенного для перекрытия доступа масла в указатель, и крепежных винтов 4. При смене масломерного стекла болт 5 вывинчивают в положение II. После отвертывания винтов 4 демонтируют рамку 3, удаляют уплотнение 2, после чего снимают масломерную трубку 1. Устанавливают масломерную трубку в обратном порядке. На стенке расширительного бака около маслоуказателя нанесены контрольные отметки, указывающие уровень масла при различных его температурах: —40, +20 и -Ь40° С.

На стенке расширительного бака имеется дистанционный контактный термометр, контролирующий температуру верхних слоев масла в баке тягового трансформатора. При повышении температуры масла выше допустимой величины термометр включает сигнальную лампу «Перегрев трансформаторного масла» на пульте управления электровозом. Контакты термометра устанавливают на +60° С—нормальная температура и на +90° С — максимальная температура. Расширитель снабжен предохранительным клапаном, пробкой для спуска масла и воздухоосушителем.
Магнитопровод тягового трансформатора броневого типа состоит из трех вертикальных стержней 4 (рис. 91) и ярма /. Стержни выполнены шихтованными из листов холоднокатаной трансформаторной стали толщиной 0,35 мм с высокой магнитной проницаемостью. Магнитные потери не превышают 0,7 Вт/кгс при индукции 10 000 Гс. Применение холоднокатаной стали позволяет уменьшить вес активных материалов и снизить потери энергии в трансформаторе. Для уменьшения потерь на вихревые токи листы покрывают анорганической изоляцией •— карлитом. После механической обработки такую сталь можно отжигать без повреждения изоляции и тем самым восстанавливать ее магнитные свойства, которые ухудшаются при резке и штамповке.
Листы в стержнях стянуты шпильками 3. Собранный магнитопровод опрессован с помощью стяжных шпилек 5 и ярмовых балок 2.
Для выемки магнитопровода используют специальное приспособление (рис. 92), состоящее из четырех подвесных шпилек 3 с резьбой М48 X 3, четырех рым-болтов 2 с проушинами и четырех распорок /.
На правом стержне магнитопровода размещены регулировочная обмотка 5 (рис. 93), обмотка собственных нужд 3 и обмотка отопления поезда от электровоза 4. К обмотке собственных нужд подключен дополнительный повышающий трансформатор (на рис. 93 не показан).
На двух других стержнях магнитопровода расположены первичная 6 и две вторичные обмотки /. Для обеспечений симметрии напряжения при коротком замыкании на каждом стержне магнитопровода находятся две параллельные ветви первичной обмотки. С каждой ветвью первичной обмотки связана разделенная на две части вторичная обмотка. Таким образом, на каждом стержне магнитопровода находятся два независимых трансформатора. Одноименные обмотки обоих стержней соединены последовательно, и обе вторичные обмотки выведены на крышку трансформатора посредством шинных выводов. Такое расположение обмоток трансформатора позволяет значительно увеличить

Рис. 91. Магнитопровод

Рис. 92. Приспособление для выемки магнитопровода
поверхность соприкосновения их с маслом и тем самым улучшить условия охлаждения.
Обмотки изолированы между собой и от стержней магнитопровода гетинаксовыми прямоугольными трубками и прокладками. Группы катушек первичной обмотки изолированы от катушек вторичных обмоток изоляционными прокладками, образующими барьеры 2. В качестве обмоточного материала применен медный провод прямоуголь-

Рис. 93. Обмотки тягового трансформатора ЬТБ7:85/25

Рис. 94. Катушки регулировочной (а) и вторичной (б) обмоток
ного сечения, изолированный несколькими слоями кабельной бумаги и одним слоем хлопчатобумажной пряжи.
Регулировочная обмотка состоит из двойных катушек, изготовленных из прямоугольной меди и изолированных кабельной бумагой (рис. 94, а). При намотке в середине двойной катушки вкладывают дистанционную прокладку из прессшпана, на которой наклеены изоляционные элементы, образующие каналы для охлаждения. Для обеспечения симметрии напряжения двойные катушки соединены между собой, как показано на рис. 95. Соединение выполнено медными стержнями диаметром 8 мм, изолированными трубками из гетииакса. Выводы удлинены медным тросом сечением 50 мм2, изолированным кабельной бумагой. Концы тросов соединены мягкой пайкой со штепсельными разъемами, установленными на отделяющей изоляционной перегородке трансформатора.
Первичная обмотка состоит из двойных катушек, намотанных из профильной меди, изолированной кабельной бумагой. Между двойными катушками установлены дистанционные прокладки, предназначенные для увеличения изоляционного расстояния между катушками и создания каналов для охлаждения.
Катушка вторичной обмотки изготовлена из полосовой меди (см. рис. 94, б). Отдельные витки обмотки изолированы между собой такими же прокладками, как и первичные обмотки.
Обмотка отопления поезда от электровоза изготовлена из двух последовательно соединенных катушек, аналогичных по конструкции катушкам регулировочной первичной обмотки.
Обмотка собственных нужд состоит из двух параллельно


Рис. 96. Схема соединения обмоток
соединенных катушек. Выводы выполнены из медных полос с наконечниками.
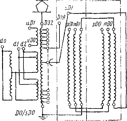
Выводы регулировочной и первичной обмоток £>32 и £Ю/5Л0 (рис. 96), атакже Ю19 (для работы при напряжении контактной сети 12 кВ) выполнены с помощью конденсаторных проходных изоляторов типа ККР37/630, установленных на крышке трансформатора. Выводные кабели этих обмоток проходят через встроенные трансформаторы тока. К ним подключены измерительные приборы и аппаратура защиты тягового трансформатора. Выводы вторичных обмоток рйО — тОО и рВ1— т01 выполнены из медных шин. Обмотки собственных нужд и отопления поезда от электровоза выведены с помощью проходных изоляторов типов ТРУШООО и ТРУЗ/630.
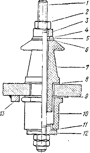
Проходной изолятор ТРУЗ/630 (рис. 97) состоит из контактной шпильки / с гайками 2, фарфоровых изоляторов 7, 10, уплотнений 5, 6, 8, прокладок 9, 11, шайб 3, 4, 12 и ограничителя 13.
Охлаждение трансформатора осуществляется принудительной циркуляцией масла, проходящего через маслоохладители, вентилируемые воздухом (рис. 98). Система охлаждения включает в себя два маслоохладителя /, два масляных моноблочных центробежных насоса 3, трубопроводы 2 с кранами, позволяющими демонтировать маслоохладители и насосы без выпуска масла из бака трансформатора.
Маслоохладитель (рис. 99) состоит из охлаждающего радиатора 2 с ребрами, напрессованными на алюминиевые трубы круглого сечения. Трубы закрыты крышками 1; в нижней крышке имеются трубки 3 для соедине-


Рис. 97. Проходной изолятор ТРУ 3/630
Рис. 98. Принципиальная схема охлаждения тягового трансформатора ЬТ5> 7,85/25
ння с масляной системой трансформатора. Крышки уплотнены маслостойкой резиной.
Циркуляция масла осуществляется по двум замкнутым системам с помощью двух насосов. Насосы имеют всасывающие и нагнетательные патрубки. Крышки насоса глухие. Внутренняя полость насоса герметически закрыта. Количество масла, протекающего по маслоохладителю, составляет 300 л/мин при расходе воздуха 166,5 м8/мин с наибольшей допускаемой температурой входящего воздуха +50° С.
На патрубке масляного трубопровода установлено маслоструйное реле, предназначенное для контроля за работой масляного насоса: при выключении масляного насоса на пульте управления электровозом загорается сигнальная лампа «Мотор-насосы». Диапазон уставок реле давления 0,6— 1,5 кгс/см2.
Соприкасаясь с окружающим воздухом, с течением времени масло увлажняется и окисляется, ухудшая при этом свои диэлектрические свойства. Для исключения возможности попадания влаги из окружающей среды в бак трансформатора предназначен воздухоосушитель типа \*Т8-1 (рис. 100), состоящий из корпуса 3, масляного затвора 1, стеклянного цилиндра 7, верхней крышки 8, трубы 6 и наполнителя 4. Воздухоосушитель соединяется с расширителем трубой 10 со специальной гайкой 9. В качестве наполнителя применяют вещество, поглощающее влагу: блаугель или смесь силикагеля с блауге-лем. Блаугель в сухом состоянии имеет ярко синий или синий цвет, изменяя его при увлажнении в розовый. Силикагель белого цвета, и его цвет не меняется. При заполнении воздухоосу-шителя смесью силикагеля и блаугеля на влажность реагирует только блаугель. Максимальный размер зерен блаугеля, силикагеля или их смеси 3 мм. При смене стеклянного цилиндра 7 или наполнителя 4 следует снять масляный затвор 7, приподнять и повернуть его по часовой стрелке, отвинтить гайку 9 и отсоединить воздухоосушитель от трубы 10. После этого крышка свободно снимается с трубы 6, которая соединена с корпусом воздухоосушителя шплинтом 5. Сборку воз-духоосушителя производят в обратной последовательности. Масляный затвор предназначен для очистки воздуха от пыли и грязи. Масло в затвор заливают до винта 2,

Рис. 99. Маслоохладитель тягового трансформатора ЦТ Б 7,85/25

Рис. 100. Воздухоосушитель УУБ-І
Воздухоосушительную смесь можно высушить, для чего ее нужно поместить в сушильный шкаф при температуре 120—180° С и сушить в течение 3 ч. Окончание регенерации воздухоосушительной смеси определяется по изменению цвета, который превращается из розового в синий. Регенерацию блаугеля или силикагеля можно производить максимально 50 раз. Смесь должна быть защищена от попадания в нее масла, так как оно поглощает влагу из воздуха, резко ухудшая свойства смеси.
Газовое реле типа BR22 (реле Бухгольца) предназначено для защиты тягового трансформатора от внутренних повреждений, связанных с выделением газа из масла, а также при недопустимом снижении уровня масла. Реле воздействует на ГВ и сигнальные лампы на пульте управления электровозом.
Газовое реле BR22 (рис. 101) состоит из корпуса / с двумя фланцами для подсоединения к трубопроводу системы масляного охлаждения тягового трансформатора. В верхней части реле имеются четыре зажима 3, закрытые крышкой 2. Пробка 4 закрывает отверстие для выпуска воздуха при наполнении реле маслом, а другая пробка 10 служит для слива масла.
Внутри реле установлены два сигнальных поплавка 5 и 9. Они расположены один под другим и прикреплены к металлической рамке поворотными рычагами 6, 11, которые позволяют поплавкам поворачиваться. К поворотному рычагу каждого поплавка прикреплены ртутные датчики 7, 12 с контактами. Контакты ртутных датчиков соединены с контактными зажимами гибким проводом 8. Верхний' ртутный датчик с замыкающими контактами работает на сигнал, нижний воздействует на отключение главного выключателя электровоза.
При повреждении трансформатора, обусловленном местным перегревом или возникновением электрической дуги, в масле образуются пузырьки газа. Интенсивность образования пузырьков зависит от характера повреждения и воздействует на реле по-разному.
Если газовые пузырьки медленно попадают в реле, они собираются в верхней его части, представляющей собой газовую камеру. Часть масла вытесняется и его уровень понижается. В этом случае верхний поплавок опустится и ртутный контакт замкнет сигнальную цепь. Аналогично работает реле при понижении уровня масла в баке тягового трансформатора.
Таким образом, срабатывание верхнего сигнального ртутного датчика свидетельствует либо об утечке масла, либо о локальных замыканиях в трансформаторе. В этом случае следует проверить наличие газа в реле. Если пространство

над уровнем масла в верхней камере реле мутное, значит, в реле имеется газ. Наличие газа в реле проверяют также специальным прибором— газоанализатором или с помощью горящей спички, поднесенной к верхней контрольной пробке 4. Если пространство над уровнем масла в реле прозрачное, а уровень масла понизился, это значит, что в тяговом трансформаторе появилась утечка масла. В этом случае необходимо устранить утечку в трансформаторе или маслопроводе.
При более серьезных повреждениях, возникших в трансформаторе (например, короткое замыкание), происходит интенсивное выделение газовых пузырьков в масле; при этом в масле возникают ударные волны. Если скорость перемещения масла достигла уставки срабатывания нижнего датчика (поплавка), он опустится и нижний ртутный контакт разомкнётся, в результате чего отключится главный выключатель.
Срабатывание выключающего ртутного датчика свидетельствует о недопустимой потере масла через неплотности в трансформаторе или масляной системе охлаждения или о коротком замыкании в тяговом трансформаторе. В этом случае необходимо тщательно проверить состояние трансформатора, выяснить причину срабатывания реле и устранить ее.
Нижний датчик отрегулирован на срабатывание при скорости масла 100 м/с» Пределы регулировки датчиков 50—150 м/с. Номинальное напряжение контактов газового реле 220 В, номинальный ток замыкающих контактов 10 А, размыкающих 5 А.
На электровозах начиная с ЧС4-212 установлены газовые реле типа BF 50/10, которые по своему назначению и принципу действия соответствуют реле типа BR22. Отличие заключается в конструктивном оформлении.
|
|