Групповыми контакторами называются аппараты, состоящие из нескольких контакторных элементов, связанных между собой механически таким образом, что при работе привода аппарата контакторные элементы замыкаются и размыкаются в заданной последовательности.
По роду привода групповые контакторы разделяют на аппараты с ручным, пневматическим и электродвигательным приводом.
В зависимости от функций, выполняемых кулачковыми контакторами группового контроллера, последние подразделяются на: реостатные контроллеры— для переключения ступеней сопротивлений; групповые переключатели — для переключения тяговых двигателей с одного соединения на другое; реверсоры — для изменения направления тока в обмотках возбуждения тяговых двигателей; тормозные переключатели; контроллеры — для переключения ступеней напряжения трансформатора и ослабления поля тяговых двигателей.
По роду электрических цепей, для которых предназначаются групповые контакторы, их разделяют на силовые и управления.
На электропоездах переменного тока применяют следующие групповые контакторы: силовой контроллер, переключатель реверсивный и контроллер управления.
Основными частями группового контактора являются кулачковые контакторы, кулачковый вал с кулачковыми шайбами или кулачками, привод аппарата, блокировочное устройство и корпус.
Контроллер силовой пневматический 1КС-006 (рис. 150) является основным аппаратом автоматического управления пуском поезда путем переключения ступеней трансформатора и ослабления поля тяговых двигателей.
а)

Переключение ступеней трансформатора осуществляется без разрыва тока, так что большинство контакторов контроллера не имеют дугогасительных устройств и только два контактора ослабления поля могут разрывать небольшой ток.
Контроллер установлен в закрытом ящике. Каркас его состоит из двух продольных стальных угольников 2 и трех поперечных алюминиевых рам 1, 4, 5, которые крепят на угольниках, и в них вращается вал 15 с кулачковыми шайбами 14. Вал вращается пневматическим приводом 17 системы Л. Н. Решетова через зубчатую передачу 6 с передаточным отношением 10:3. По обе стороны кулачкового вала на текстолитовых рейках 8 установлены 14 кулачковых контакторов // силовой цепи КР-6А-1 и два кулачковых контактора 10 силовой цепи КР-8А-1, а на стальных рейках 3 — восемь кулачковых контакторов 7 цепей управления КР-ЗА-1.
На средней и задней рамах контроллера над кулачковым валом прикреплена изоляционная перегородка 9, разделяющая противоположные ряды контакторов. На этих же рамах установлена экранирующая перегородка, состоящая из набора изоляционных перегородок 13 между силовыми контакторами. Перегородки предназначены для деионизации при искровых разрядах и смонтированы на шпильке 12. Шпилька заземлена, поэтому при случайных перебросах высокого напряжения на силовых контакторах возникает заземленный контур тока, что приводит к срабатыванию реле заземления и защиты поезда.
Для управления вращением контроллера служит кулачковый вал переключателя вентилей с тремя контакторами КР-ЗА-1*.
Работа контроллера осуществляется при помощи многопозиционного пневматического привода системы Л. Н. Решетова, который состоит из двух цилиндров 1 (рис. 151) с картером и поршнями 3 (диаметром 50 мм, ход 56 Мм), соединенными общим штоком 6.
Шток по концам имеет вырезы для установки роликов 7, вращающихся на игольчатых подшипниках* 8, посредством которых движение поршней передается трехконечной звезде 5. Звезда напрессована и приварена к валику 4, вращающемуся в двух шариковых подшипниках, запрессованных в подшипниковый щит 2. Последний укрепляется на цилиндрах привода винтами с потайной головкой. Цилиндр резиновым трубопроводом 9 соединен через коллектор 11 с электропневматическими вентилями 10 типа ВВ-ЗГ, которые в свою очередь соединены с воздушной магистралью.
Для регулировки подачи сжатого воздуха в полости цилиндров служат два регулировочных вентиля 12. При возбуждении одной из катушек электропневматического вентиля сжатый воздух будет давить на поршень и заставит его, а вместе с ними и рейку начать продольное перемещение в одно из крайних положений. При этом ролик приблизится к звезде и, катясь по профилю звезды, заставит последнюю повернуться на 60°. Для последующего поворота звезды, а следовательно, и кулачкового вала контроллера необходимо возбудить другой вентиль, который был до этого обесточен, и поршень с рейкой переместится в другое крайнее положение и повернет звезду еще на 60° и т. д.
Особенностями этого привода являются:
обязательное равенство углов между всеми позициями кулачкового вала, в том числе между последней и первой позицией. Угол между ними должен рав-
* В силовом контроллере 1КС-015 контакторов КР-ЗА-1 всего 7.

Рис. 151. Пневматический привод силового контроллера
няться 360°: п, где п — целое число позиций. Так, для электропоездов переменного тока число позиций 20, угол между позициями составляет 18°;
при прекращении процесса пуска на любой рабочей позиции привод не может быть возвращен на нулевое положение иначе, как путем вращения его в холостую вперед до окончания полного оборота кулачкового вала на 360°.
Для улучшения фиксации позиций на главном валу контроллера установлены два механических фиксатора, работающих поочередно через одну позицию. Для предотвращения прогиба главного вала (ввиду большой его длины) средняя его часть опирается на роликовый люнет, укрепленный на средней раме контроллера.
Технические данные контроллера 1КС-006:
Номинальное напряжение:
силовой цепи 2200 В
цепи управления ПО В
Число рабочих позиций 20
Угол поворота кулачкового вала на одну позицию 18°
Диаметр цилиндра привода 58 мм
Ход поршня 56 мм
Тип включающего вентиля ВВ-ЗГ
Время вращения кулачкового вала от 1-й до 20-й позиции при
давлении 0,5 МПа (5 кгс/с.м2) 6—8 с Число кулачковых контакторов силовой цепи:
КР-8А-1 2 КР-6А-1 14 Число кулачковых контакторов цепи управления КР-ЗА-1 (включая три контактора переключателя вентилей) 11 Масса ИОкг
Уход в эксплуатации. При пуске контроллера в эксплуатацию, а также при ТО-1 и ТО-3 контроллер продувают сухим сжатым воздухом. Все изоляционные поверхности очищают от пыли и влаги, проверяют крепление токоведущих деталей и крепежа. Осматривают силовые и блокировочные контакты, контактные пружины, шунты и т. д. При необходимости производят зачистку контактов. Проверяют работу пневматического привода и регулировку времени вращения вала. Время хронометрического вращения регулируют на поезде винтом регулировочного вентиля. Проверяют порядок замыкания и размыкания контакторов ПВ-2 и ПВ-3 переключателя вентилей. Одновременность замыкания недопустима. Разрыв между замыканиями должен быть 0,5—1,5 с.
При ТР-1 выполняют все работы технического обслуживания. Кроме того, необходимо произвести:
проверку работы пневматического привода и замену изношенных деталей; проверку состояния всех трущихся поверхностей и подшипников и замену смазки в соответствии с картой смазки;
определение износа силовых и блокировочных контактов. При наличии на роликах местной выработки глубиной более 0,3 мм контак-торные элементы заменяют. Проверяют величины растворов, провалов, притираний и контактных нажатий.
Реверсивный переключатель ПР-320Б-1. В процессе работы электропоезда возникает необходимость изменять направление движения. Для этого нужно изменить направление вращения якорей тяговых двигателей — реверсировать их. Аппарат, посредством которого производят изменение направления тока в обмотках возбуждения или обмотках якорей тяговых двигателей, а следовательно, и изменение вращения якорей, называется реверсором. Реверсоры, как правило, включают в цепь обмоток возбуждения тяговых двигателей. Это объясняется тем, что напряжение, приходящееся на обмотки возбуждения, меньше, чем приходящееся на якорь, что позволяет уменьшить размеры аппарата, и он получается значительно проще.
На электропоездах ЭР9 установлен реверсор ПР-320Б-1. Он представляет собой каркас из двух поперечных алюминиевых рам 1 и 7 (рис. 152), скрепленных двумя продольными угольниками 2 и двумя текстолитовыми рейками 10, на которых размещено восемь силовых контакторов 4 и два контактора управления 6. Для размыкания силовых контакторов и контакторов управления имеются кулачковые шайбы 3. Кулачковые шайбы насажены на кулачковый вал 5, который
вращается в подшипниках //, запрессованных в рамы. Реверсор имеет два рабочих положения Вперед и Назад. Для поворота кулачкового вала реверсора на передней раме размещен двухпозиционный привод 8. Подача воздуха в левую и правую полости привода осуществляется электропневматическими вентилями 9.
Привод реверсора состоит из цилиндра 1 (рис. 153), закрытого с обеих сторон крышками 5. В цилиндре помещены два поршня 4, связанные между собой штоком 2. В средней части штока раз-

Рис. 152. Переключатель реверсивный

Рис 153 Пневматический привод реверсивного переклю- Рис. 154. Взаимодействие кулачкового кон-
тактора с кулачковой шайбой
мещен железо-графитовый сухарь 3. Для впуска и выпуска сжатого воздуха на крышках цилиндра устанавливают два вентиля включающего действия ВВ-2Г.
При подаче воздуха в одну из полостей цилиндра поршень начинает перемещаться вместе с сухарем 3, который тянет за собой поводок 6, поворачивающий кулачковый вал 7 с упором 8 на 45°. Переключение обмоток возбуждения происходит без тока, поэтому кулачковые контакторы выполнены без дугогашения.
Технические данные реверсора ПР-320Б-1:
Номинальное напряжение по изоляции 3000 В
Номинальное напряжение цепи управления 110 В
Число позиций 2 («Вперед»,
«Назад»)
Угол поворота кулачкового вала из одного рабочего
положения в другое 45°
Число кулачковых контакторов силовой цепи КЭ-4Д 8
Длительный ток силовых контактов 220 А
Раствор контактов 6 12 мм
Число кулачковых контакторов цепи управления КР-ЗА-2 2
Длительный ток контактов цепи управления 35 А
Диаметр кулачковых шайб 152 мм
Диаметр пневматического цилиндра 58 мм
Ход поршия 40 мм
Номинальное давление воздуха 0,5 МПа ^
(5 кгс/см')
Тип включающего вентиля ВВ-2Г
Масса 41 кг
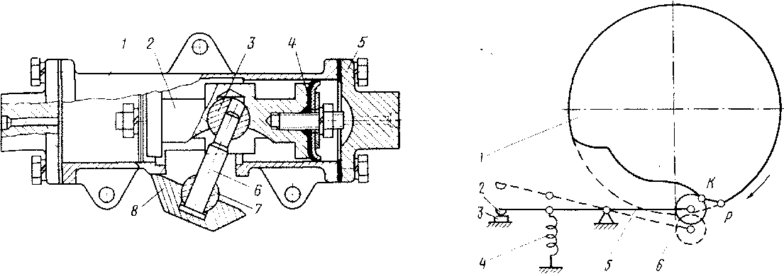
Кулачковые контакторы. Основным узлом групповых коммутационных аппаратов (силовых контроллеров, реверсоров, контроллеров цепей управления и т. д.) являются кулачковые контакторы, которые непосредственно осуществляют замыкание и размыкание электрических цепей.
Принцип действия контакторов этого типа можно проследить на рис. 154, где показано взаимодействие кулачкового контактора с кулачковой шайбой. Кулачковый контактор изображен во включенном положении. При повороте кулачковой шайбы / по часовой стрелке ролик 6 касается выступа профиля шайбы в точке К-При дальнейшем вращении шайбы ролик набегает на выступ профиля шайбы в

Рис. 155. Кулачковый контактор КЭ-4Д
точке Р, и происходит поворот рычага 5, оттирание и расхождение контактов 2 и 3. Когда ролик займет положение, показанное на рисунке пунктиром, контакты полностью разомкнутся. При сбегании ролика с выступа профиля кулачковой шайбы происходит процесс включения контактов (сближение и притирание), контакты включаются включающей пружиной 4.
На электропоездах для бестоковой коммутации силовых цепей применяют контакторы КЭ-4Д и КР-6А, а для коммутации под током — контакторы КР-8А. Для коммутации цепей управления используют контакторы КР-ЗА-1, КЭ-42.
Силовой кулачковый контактор КЭ-4Д представляет собой размыкающий контактор без дугогашения. В свободном состоянии, когда на ролик 5 (рис. 155) не давит кулачковая шайба привода, под действием силовой пружины 4, стремящейся удлиниться, рычаг 6 подвижной части контактора поворачивается вокруг оси 7 до упора в изолятор 2.
В процессе поворота рычага 6 подвижной 10 и неподвижный /У контакты сначала замыкаются, а затем перекатываются. При этом держатель 9 подвижного контакта поворачивается вниз, и притирающая пружина 8 сжимается. Неподвижный контакт крепят к держателю /.
Размыкание контактора осуществляется с помощью кулачковой шайбы, укрепленной на вращающемся валу аппарата. Выступ шайбы давит на ролик 5 слева направо и поворачивает вместе с роликом рычаг 6. Силовая пружина 4 при этом сжимается, а контакты под действием удлиняющейся контактной пружины 8 сначала перекатываются, а затем, когда держатель 9 упрется в упор рычага 6, размыкаются. Вся система запараллелена гибким шунтом 3.
Кулачковый контактор КР-6А отличается от контактора КЭ-4Д только конструкцией подвижного контакта. Подвижной контакт — пальцевый без контакто-держателя, пружина вынесена за точку опоры подвижного контакта. Эти изменения позволили уменьшить момент инерции и тем самым уменьшить возможность отскоков подвижного контакта при включении. Контакт 7 (рис. 156) опирается
на призмы ,3 и 6, закрепленные на рычаге /. Регулировка контактного нажатия подвижного контакта 7 возможна изменением натяжения притирающей пружины 4, затягиванием или отпуском гайки 5. Соединение подвижного контакта 7 с контактным болтом 8 осуществляется гибким шунтом 2.
Кулачковый контактор КР-8А отличается от контактора КР-6А только наличием дугогасительной системы, которая состоит из сердечника 6 (рис. 157), двух полюсов 3, дугогасительной камеры / и дугогасительной катушки 8, включенной последовательно с неподвижным контактом 6. Дугогасительная система крепится на изоляторе контактора двумя текстолитовыми планками 7. На неподвижном контакте 5 установлен дугогасительный рог 4.
Технические данные контакторов следующие:
1ип контактора КЭ-4Д КР-6А-1 KP-8A-I
Ток дугогасительной катушки, А — — 100
Раствор контактов, мм 8—10 8—10 8—10
Провал контактов, мм 8—10.5 не менее 8 не менее 8
Номинальное нажатие, Н 45—50 50—52 50—55
(кгс) (4,5—5) (5 -5,5) (5—5,5) Ток нагрузки, А:
длительный 220 350 100
часовой 320 450 — Номинальное напряжение относительно
рейки, В 750 750 750
Примечание. У собранных контакторов раствор 8—12 мм. Кулачковые контакторы цепей управления КР-ЗА применяются в контроллере машиниста, силовом контроллере и реверсивном переключателе.
Контактор размыкающий состоит из прессованного изолятора 9 (рис. 158), коробчатого штампованного рычага 6, шарнирно укрепленного при помощи стойки с? с роликом 7. В этом же рычаге на подпятнике 5 размещена подвижная стальная контактная пластинка 4 с серебряным контактом 3 и гибким шунтом 10. Неподвижный контакт 2 представляет собой стальной болт, проходящий сквозь изолятор с напаянным на шестигранной головке серебряным контактом. Включение контактора и притирание контактов осуществляются пружиной /.
Выключение контактора происходит при давлении кулачковой шайбы группового аппарата на ролик контактора.
Изолятор контактора имеет посадочное место для крепления его болтом М8 к рейке шириной 38 мм.

Технические данные контактора КР-ЗА-1:
Номинальное напряжение 250 В
Длительный ток в зависимости от числа контактов от 25 до 35 А
Раствор контактов не менее 4 мм
Провал контактов 2,5—3,5 мм
Нажатие контактов 2_2,5 Н
(0,2—0,25 кгс)
Форма и размер контактов:
неподвижного круг 06X1,5 мм
подвижного сфера 0 6X1,5 мм
Масса 0,22 кг
Кулачковый контактор КЭ-42 состоит из пластмассового изолятора 7 (рис. 159), который крепят болтом к рейке аппарата, и двух неподвижных контактов 2, представляющих собой болты, проходящие сквозь изолятор. К болтам крепятся провода. На изоляторе шарнирно укреплен рычаг 4 с роликом 5. На рычаге размещен контактный мостик 1 с двумя подвижными контактами и притирающей пружиной 3. Включение контактора осуществляет включающая пружина 6.
Технические данные контактора КЭ-42:
Номинальное напряжение 250 В
Длительный ток 20 А
Раствор 6—12 мм
Провал 2,5—3,5 мм
Нажатие начальное 2,5+0,25 Н
(0,25 + 0,025 кгс) Нажатие конечное 5+0,5 Н
(0,5+0,05 кгс) Масса 0,15 кг
|
|