На электровозах ЧС2 реверсор используется для изменения направления движения локомотива, а также и для отключения неисправных тяговых двигателей и поэтому имеет три положения: Вперед, Нулевое, Назад.
На электровозе установлены два реверсора 18МР, каждый из ■ которых имеет по два барабана. Барабан состоит из трех сегментов, укрепленных на валу. К ним прижаты контактные пальцы. На рис. 127 и 128 окружностями изображены неподвижно укрепленные пальцы, которые в зависимости от положения сегментов, т. е. угла поворота вала, по-разному соединяются между собой (схемы даны для электровозов 53Е и 34Е; обозначения пальцев реверсоров электровозов 34Е, ниже в тексте даны в скобках).
При положении реверсора Вперед нижним сегментом соединяются контактные пальцы РР и ЕЕ и £), средним — пальцы А А и ВВ (А и £>) и верхним — пальцы СС и ЕЮ (В и С). Цепь тока якоря и обмотки возбуждения показана стрелками.
При нулевом положении реверсора все контактные пальцы разомкнуты, нижний сегмент не соединяет пальцы и ЕЕ (Р и


Е), т. е. напряжение от токоприемника к тяговому двигателю не подводится. Нижний (средний) сегмент отключает цепь двигателя от «земли», а верхний разрывает цепь между якорем и обмоткой возбуждения двигателя. Такой разрыв исключает при коротких замыканиях обмоток двигателей на корпус самовозбуждение машины и возникновение в ее цепи тока.
В положении реверсора Назад нижний сегмент соединяет контактные пальцы FF я ЕЕ (F и Е), средний — пальцы АА и СС (С и D) и верхний — ВВ и DD (5 и Л). Цепь тока якоря и обмотки возбуждения показана стрелками.
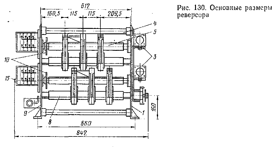
Барабаны реверсора (рис. 129 и 130) расположены горизонтально один над другим. Верхний барабан управляет двумя последовательно включенными тяговыми двигателями 3, 2 (см. рис. 220*) 1 или 5, 4 (1, 2 или 5, 6), нижний —одним / или 6 (3 или 4).
Все детали реверсора смонтированы на сварном каркасе, состоящем из двух боковин / и 9 и связывающих их четырех стержней 4. В боковинах укреплены шариковые подшипники, в которых вращаются изолированные бакелитовой бумагой валы 5 и 12 нижнего и верхнего барабанов.
1 Рисунки со знаком * приведены в конце книги.


На валах укреплены литые сегменты диаметром 138 мм, а на последних — медные контакты 6. Контактные пальцы 7 укреплены на держателях 8, опрессованных изоляцией. На валах 5 и 12 насажены блокировочные шайбы, а с внешней стороны боковины — бакелитовые кулачковые шайбы, замыкающие или размыкающие в необходимой последовательности блокировочные контакты 13 цепей управления.
Поворот барабанов из одного рабочего положения в другое осуществляется пневматическими приводами 3, сжатый воздух в цилиндры которых подается или выпускается через воздухораспределители 2. Поворот реверсивных барабанов в нулевое положение осуществляется вручную рукояткой, надеваемой на имеющийся на конце каждого вала четырехгранник 15. Для фиксации положений барабана, соответствующего нулевому положению реверсора, во впадину блокировочного сектора 10 заводят штифт защелки //.
Каркас реверсора прикреплен к полу электровоза четырьмя болтами, пропущенными через отверстия в лапах боковин. Заземление каркаса осуществляется болтом 14.
Каждый неподвижный контакт реверсора имеет по два медных контактных пальца / (рис. 131), прижатых к сегментам барабана пружинами 3. На концах пружин помещены чашечки, одна из которых опирается на регулировочную гайку 4, а другая —на гибкий медный шунт 5. Через шунт 5 ток от пальца отводится в кабель 8.
Кроме того, палец опирается на сферический выступ 6, имеющийся на пальце и соприкасающийся с планкой 7. Болтом 2 регулируют подъем пальца / над поверхностью сегмента. Болты 9 вместе со шпильками 11 предназначены для крепления контактных пальцев на держателе 10 и присоединения наконечников кабелей.
Каждый реверсор имеет по 12 контактных пальцев (по шесть на барабан), рассчитанных на номинальный ток 550 А. Изоляция выполнена на номинальное напряжение 3000 В. Нормальное нажатие пальцев на сегменты 2,2—2,5 кгс.
Реверсор не имеет дугогасительных устройств и поэтому его поворот из одного положения в другое происходит всегда без тока, что достигается соответствующими блокировками в цепи управления.
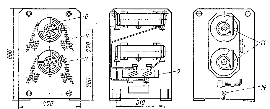
Пневматический привод реверсора (рис. 132) состоит из чугунного цилиндра /, закрытого с обеих сторон крышками 5. Внутри цилиндра помещены два поршня 2 с резиновыми уплотнениями 9. Поршни связаны между собой зубчатой рейкой 3, сцепленной с зубчатым сектором 8, укрепленным на конце вала 7 барабана реверсора.
Для уплотнения рабочих камер привода между цилиндром и крышками проложены прокладки 4 из пропитанной в парафине бумаги. Для смягчения ударов поршня о внутренние попереч-

ные стенки цилиндра служат кожаные шайбы 6. Трубки, подводящие сжатый воздух в цилиндры, ввертывают в отверстия в крышках. При впуске сжатого воздуха в одну из рабочих камер цилиндра поршень 2 вместе с рейкой 3 перемещается и поворачивает сектор 8, а с ним и барабан реверсора из одного крайнего положения в другое.
Диаметр цилиндров пневматического привода реверсора равен 70 мм, ход поршня —64 мм. Привод работает при давлении воздуха 3,5 кгс/см2. От электропневматических вентилей сжатый воздух к цилиндрам реверсора поступает через

Рис. 132. Пневматический привод реверсора
воздухораспределитель (рис. 133), который состоит из корпуса 2, накладок 5 и резиновых колец 7.
В корпус ввернуты подводящие воздух трубки 4. Через одну из них воздух подается для поворота реверсора в положение Вперед— Р, через другую — для поворота реверсора в положение Назад — 1. Имеются также отводящие трубки, соединенные с каналами корпуса 2 штуцерами 3.
Внутри корпуса сделаны каналы, схема которых показана на нижней части рис. 133. В зависимости от положения колец 7 на поверхности корпуса 2 подводящие трубки сообщаются через отводящие трубки с цилиндрами пневматического привода (положение О — Открыто) или доступ воздуха от подводящих трубок в полости цилиндра перекрывается и одна из полостей цилиндра Р сообщается с атмосферой (положение X — Закрыто). Резиновые кольца 7 прижаты к поверхности корпуса 2 накладками 5, при-

Рис. 133. Воздухораспределитель
крепляемыми к корпусу болтами 1. Накладки в положениях 0 или 2 фиксируются пальцем 6, входящим в соответствующее отверстие корпуса.
Блокировочные контакты цепи низкого напряжения (48 В) рассчитаны на номинальный ток 6 А. Нажатие пальцев блок-контактов составляет 0,25 кгс. Общий вес реверсора 18МР равен 146,3 кг, его пневматический привод весит 9,6 кг.
|
|