СЦБИСТ - железнодорожный форум, фотогалерея, социальная сеть


37. Электропневматический клапан

Электропневматический клапан КП-39 используется для подачи сжатого воздуха к форсункам песочниц.

Управление клапаном дистанционное и осуществляется с помощью включающего вентиля ВВ-2Г.

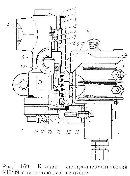
Электропневматический клапан (рис. 169) состоит из корпуса 3 с запрессованной верхней втулкой 8 и ввернутой нижней втулкой 17. Втулка 17 с корпусом 3 уплотнена прокладкой 10. В корпусе находится поршень 16, уплотненный резиновой манжетой 14. На штоке поршня с помощью гайки 5 закреплен клапан, состоящий из диска 6 и резинового кольца 7.

Шток поршня уплотнен резиновой манжетой 9, помещенной в нижней втулке 17. Поршень 16 в нижнем положении удерживается принудительно усилием пружины 15. Верхняя часть корпуса закрыта пробкой /, а нижняя часть — крышкой 13.

Для уплотнения служат прокладки 2 и 12. Ко второму фланцу крышки 13 через прокладку // укреплен включающий вентиль 4.

Сжатый воздух из напорной магистрали подведен к отростку А клапана и штуцеру В вентиля.

Отросток Б клапана трубопроводом сообщен с форсункой песочницы.

При подаче напряжения на вентиль 4 последний пропускает сжатый воздух из напорной магистрали в полость под поршнем 16. Под усилием сжатого воздуха поршень, преодолевая усилие пружины 15, перемещается вверх до упора в хвостовик втулки 17 и отрывает клапан от седла верхней втулки 8 (подъем клапана не менее 4 мм).

Сжатый воздух из напорной магистрали через отросток А, открытый клапан и отросток Б проходит к форсунке песочницы.

После снятия напряжения с вентиля 4 последний обеспечивает выпуск сжатого воздуха из полости под поршнем 16 в атмосферу. Под усилием пружины 15 поршень 16 опустится вниз, и его клапан располагается на седле верхней втулки 8, тем самым перекрывая сообщение отростков А и Б.


Предыдущая Оглавление Следующая