Замыкание цепей вспомогательных машин и отопления осуществляется электромагнитными контакторами, позволяющими включить машины при отсутствии сжатого воздуха в пневматической системе электровоза.
В цепи электродвигателей компрессоров и вентиляторов установлены контакторы 31ЭМ, в цепи электропечей кабин машиниста— 235М и в цепи отопления вагонов состава — 6БМ. Электромагнитные контакторы рассчитаны на номинальное напряжение 3000 В, а их включающие катушки — на 48 В.
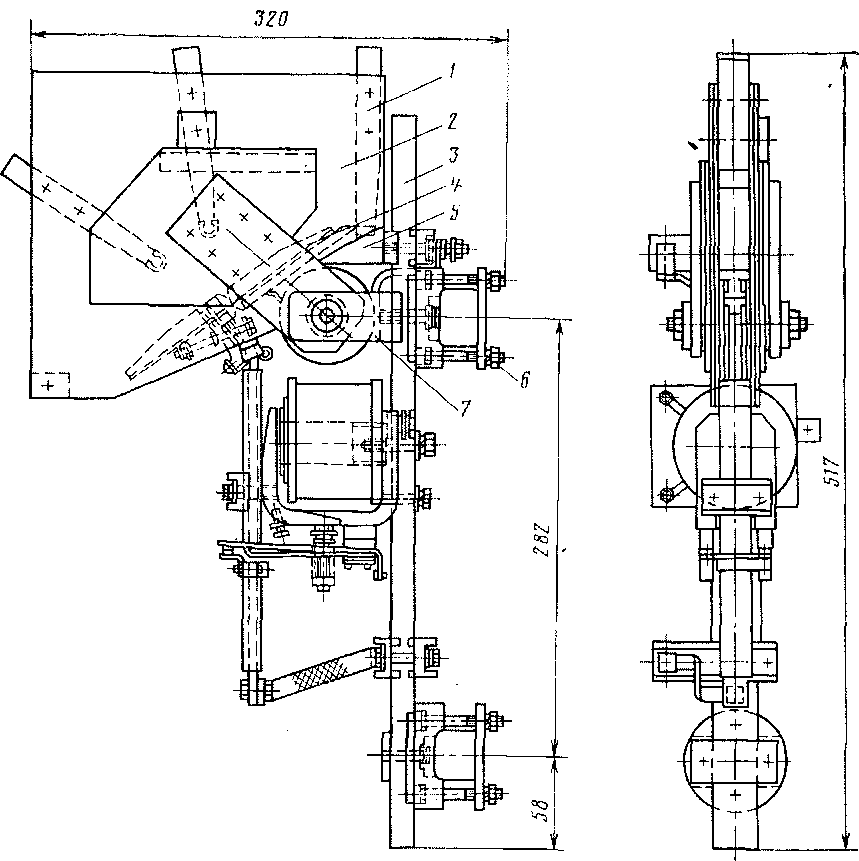
Все детали контактора 31БМ (рис. 146) смонтированы насталь-ной стойке 3, изолированной в горячем состоянии бакелитовой бумагой. В верхней части находятся кронштейны 5 с неподвижным контактом 38, дугогасительная катушка 12 с сердечником, с обеих сторон которой расположены полюсные наконечники 35 и дугогасительная камера.
Дугогасительная система опирается на латунный держатель 7, отлитый под давлением. Ниже в стойке прикреплены ярмо 16 и сердечник 14 включающей (подъемной) катушки 13. Катушка намотана эмалированным проводом диаметром 0,35 мм и имеет 6750 витков. Якорь 15 соединен с ярмом валиком 28, который является осью всей подвижной системы аппарата.
К якорю болтами 29 прикреплен токопроводящий стержень 23, имеющий изоляцию, рассчитанную на максимальное напряжение контактной сети. В верхней части стержня имеется болт 32, пропущенный через держатель 31 подвижного контакта 37. Между держателем 31 и гайкой болта помещена притирающая пружина 33, которая стремится повернуть держатель к стержню 23. Держатель имеет выступ, входящий во впадину стержня.
Линия соприкосновения этого выступа с держателем является геометрической осью поворота держателя, а следовательно, и контакта 37 относительно стержня 23. Для того чтобы ток не проходил по соприкасающимся между собой выступом держателя и стержнем, держатель 31 соединен с последним гибким проводником 30. Подвод тока к стержню 23 осуществляется через гибкий шунт 20, наконечники которого болтом 21 прикреплены к нижнему концу стержня 23, а болтом 17 — к держателю 18.
На стержне 23 хомутом и винтом 24 укреплены подвижные контакты 25 цепи низкого напряжения (блокировочные контакты). Неподвижные контакты 26 держателями и болтами укреплены на ярме 16. На электровозах последних выпусков на контакторах 315М ставятся мостиковые блокировочные контакты.

Рис. 146. Электромагнитный контактор 318М
Дугогасительная камера имеет две боковые стенки 2, изготовленные из листового асбоцемента толщиной 6 мм. Перегородки 1 камеры выполнены из этого же материала толщиной по 15 мм. Внутренние перегородки способствуют удлинению дуги, ее охлаждению и разрыву при выключении контактора.
Подвижной 37 и неподвижный 38 контакты — медные. Их крепят к держателю 31 и кронштейну 5 болтами 36 и 39, которые одновременно закрепляют дугогасительные рога 34 и 4.
При возбуждении катушки 13 образуется магнитный поток, замыкающийся через сердечник 14, ярмо 16, якорь 15 и воздушный зазор между якорем и сердечником. Якорь притягивается к сердечнику, поворачиваясь вокруг валика 28. При этом перемещается и стержень 23, а вместе с ним держатель 31 и подвижной контакт 37. После соприкосновения подвижного контакта с неподвижным 38 движение стержня 23 еще продолжается и держатель 31 поворачивается относительно стержня. При этом происходит не только накатывание одного контакта на другой, но и взаимное проскальзывание их поверхностей (притирание). Вследствие этого стирается пыль и удаляется слой окислов, которые могут образоваться на контактных поверхностях и увеличить переходное сопротивление.. Добавочный ход подвижных контактов после их соприкосновения называется провалом.
После замыкания контактов ток от зажима 6 .через дугогаси-тельную катушку 12, неподвижный 38 и подвижной 37 контакты,

Рис. 147. Электромагнитный контактор 23БМ:
I — перегородка; 2 —стенка; 3 — стойка; 4 — дугогасительный рог; 5 — кронштейн; 6 —зажим; 7 — держатель
стержень 23, шунт 20 проходит к болту 40, служащему зажимом для наконечника кабеля. Одновременно с замыканием главных контактов замыкаются блокировочные контакты 25 и 26.
После прекращения возбуждения катушки 13 якорь 15 под действием веса под-' вижных частей и пружины 22 отходит от сердечника, и контакты, . прокатываясь друг по другу, размыкаются. При размыкании главных (силовых) контактов образуется дуга, которая под действием магнитного поля, созданного дугогасительной катушкой 12 между полюсными наконечниками 35, перекидывается сначала на рога 34 и 4, удлиняется и выдувается в щели камеры, где и разрывается. Дугогаси-тельная катушка навита из прямоугольной меди сечением 3,5X2,5 мм2 (с изоляцией 3,9X2,9 мм2); количество витков 8X5=40, сопротивление 0,0133 Ом.
Ход якоря электромагнитного контактора регулируется винтом 27. К болту 29 присоединен медный проводник, заземляющий магнитную систему контактора.
Контактор крепят к стальным штангам кузова болтами И, стягивающими держатели 8 и планки 10, изготовленные из пластмассы. Через держатели пропущены болты 9, которые ввернуты либо в латунный держатель 7, либо в планку 19. Конструкция контактора 23БМ (рис. 147) похожа на конструкцию контактора 315М (см. рис. 146). Отличие состоит лишь в том, что дугогасительная камера контактора 23БМ имеет несколько меньшие размеры и только две внутренние перегородки, изготовленные из керамики (кери-та). Дугогасительная катушка имеет 12X5 = 60 витков и навита из медного эмалированного провода диаметром 2,42 мм.
Контактор 6БМ (рис. 148 и 149), рассчитанный на рабочий ток до 250 А, имеет более массивные токоведущие части и сильный включающий электромагнит. При возбуждении катушки // возникает магнитный поток, замыкающийся через ярмо 12, сердечник 24 и якорь 25. Последний притягивается к сердечнику и под-


Рис. 149. Электромагнит контактора 6SM
нимает стержень 13, который валиком 10 соединен с изоляционной тягой 9, а последняя — с рычагом 18. На нем шарнирно укреплен держатель 17 подвижного контакта 6. Рычаг 18 с держателем соединены также притирающей пружиной 19. Поэтому при подъеме тяги 9 подвижной контакт 6 подходит к неподвижному контакту 5, соприкасается с ним и притирается.
Неподвижный контакт 5 укреплен на кронштейне, оканчивающемся верхним дугогасительным рогом 3. Нижний дугогаситель-ный рог 8 укреплен на кронштейне 15. Держатель 17 подвижного контакта гибким медным шунтом 7 соединен с кронштейном 15, а последний — с зажимом для присоединения кабеля. Рог 3 шиной 20 соединен с внутренним концом дугогасительной катушки 2, наружный конец которой выведен к зажиму 22.
При прекращении возбуждения катушки // и отключении контактора возникшая между контактами дуга перебрасывается на рога 3 и 8, выдувается дугогасительной катушкой в камеру 4, растягивается, охлаждается и разрывается.
Передвижение вниз подвижной системы контактора происходит под действием ее веса. Ограничителем этого хода является упор 16, в который упирается рычаг 18. Упор выполнен в виде болта, что позволяет регулировать величину хода. Дугогасительиую катушку 2 и камеру 4 укрепляют па держателе 21, а последний, как и кронштейн рога 3, зажимы 22 и ярмо 12, смонтированы на

Рис. 150. Схема включения катушки контактора 6SM
изолированной стойке 14. Эту стойку с помощью держателей / и планок 23, стянутых болтами, прикрепляют к стальным штангам кузова. Дугогасительная камера выполнена из листового асбоцемента толщиной 6 мм, дугогасительная катушка — из шинной меди сечением 40X4 мм2 и имеет 10 витков. Катушка 11 намотана эмалированным проводом диаметром 0,7 мм и имеет 4250 витков.
К ярму 12 прикреплены два трубчатых резистора 28 и коробка с блок-контактами 27. Подвижные контакты планок 26 соединены с якорем 25 и передвигаются вместе с последним.
Резисторы 28 включаются последовательно катушке 11 после замыкания контактора и размыкания блок-контакта 27 (рис. 150). Это уменьшает ток катушки, но контактор не отключается, так как после приближения якоря 25 к сердечнику 24 (см. рис. 149) для создания необходимого магнитного потока и силы нажатия контактов требуется меньший ток. Сделано это для уменьшения нагревания катушки и снижения расхода электроэнергии.
Контактор 6SM может быть заменен отечественным электропневматическим контактором ПК-06 с одновременной постановкой двух разъединителей, одним из которых снимается напряжение с передних по ходу электровоза штепселя и розетки цепи электрического отопления состава.
Основные технические данные электромагнитных контакторов
Тип контактора...... 31SM 23SM 6SM
Номинальный ток, А . . . . 25 15 250
Наибольший » »..... 100 60 800
Раствор силовых контактов, мм 12±1 16±1 18—21
Нажатие контактов, кгс ... 1 1 3 Сопротивление включающей
катушки, Ом...... 180 180 33
Номинальный ток блокировочных контактов, А . . . . 6 6 6 Разрыв блок-контактов, мм . 2 2 3 Провал » » . 1,5 1,5 1,5 Вес аппарата, кг...... 9,4 8 35,3
|
|