Для соединения высоковольтной цепи отопления вагонов с силовой цепью электровоза с каждой стороны кузова на буферных брусьях установлена штепсельная розетка и распределительная коробка, от которой идет гибкий кабель, имеющий на конце штепсель. Штепсель электровоза, не вставленный в розетку соседнего вагона, помещается в специальный держатель и в этом положении запирается ключом.
Штепсельная розетка (рис. 154) состоит из корпуса 18, в котором помещен изолятор 17, и кожуха /. К изолятору 17 шпильками 14 прикреплен держатель 13, а к последнему винтом 12 — контакт 2. Контакт имеет прорези и обвит пружиной //. Внутрь кожу-

Рис. 154. Штепсельная розетка
ха вставлен цилиндрический изолятор 10. Конец подводящего кабеля зажимается между накладкой 15 и держателем 13.
Корпус со стороны ввода кабеля закрыт крышкой 16, с противоположной стороны кожух закрывают крышкой 8, которая в открытом положении и вставленном в розетку штепселе своим хвостовиком А запирает штепсель. Хвостовик Б в закрытом положении крышки удерживается концом пружины 9. Чтобы обеспечить безопасность обслуживающего персонала, крышку 8 запирают ключом в закрытом или открытом положении: ключ вставляют в запор 5, выступ которого входит в один из пазов цапфы 7, жестко соединенной с крышкой 8. Отверстие для ключа в корпусе 4 замка закрывают крышкой 6, на которую действует пружина, помещенная на оси 3.
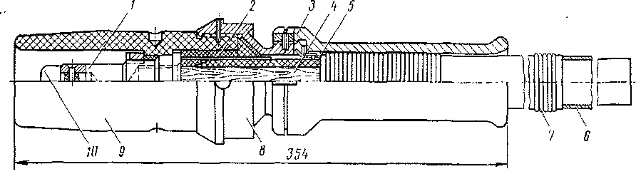
Контакт / штепселя (рис. 155) помещен в изоляционном цилиндре 9, который ввернут в патрон 8. Последний в свою очередь ввернут в держатель 3. К контакту 1 подведен конец гибкого кабеля 4 сечением 95 мм2, имеющего изоляцию 5 на 4000 В. Между кабелем и цилиндром 9 проложена изоляция 2. Вдоль кабеля на его поверхности уложено два заземляющих провода, соединенных

Рис. 155. Штепсель
с держателем 3 и кузовом электровоза. Вне штепселя эти провода помещены между кабелем и парусиновым чехлом 6. Последний закреплен льнопеньковыми бандажами 7. На конце контакта / укреплен колпачок 10, закрывающий торец контакта. Контакты штепселя и розетки рассчитаны на номинальный ток 250 А.
|
|