Сжатый воздух нагнетается в тормозную систему поезда и в пневматическую систему электровозов ЧС4 (до ЧС4-160 включительно) двумя
2X155x125
поршневыми компрессорами типа--.
Компрессор (рис. 151) двухцилиндровый, двухступенчатый, одинарного действия с дифференциальными поршнями. Оба цилиндра расположены У-образно под прямым углом. Цилиндры 4 выполнены из чугуна. Они крепятся к картеру /. По наружной поверхности цилиндры имеют охлаждающие ребра (охлаждение компрессора естественное). На цилиндрах находятся чугунные оребренные клапанные головки.
Воздух в цилиндрах сжимают поршни (рис. 152), имеющие возвратно-поступательное движение. Поршни 4 выполнены из легкого металла и снабжены тремя уплотняющими кольцами 3 диаметром 155 мм, тремя уплотняющими кольцами 7 диаметром 125 мм и одним маслосъемным кольцом 8. Поршни имеют привод от коленчатого вала через кривошип-но-шатунный механизм. В головке стального шатуна / запрессована бронзовая втулка 2, в которой помещена поршневая цапфа 6, зафиксированная двумя предохранительными кольцами 5. Разъемные подшипники 9 (см. рис. 151) шатунов обоих цилиндров уложены рядом на коленчатом валу 2. Подшипники залиты подшипниковым сплавом.
Наполнение цилиндров (всасывание воздуха) осуществляется в момент хода поршня 3 в сторону от головок цилиндров 6. Между головками и поршнем создается разряжение, и в цилиндры через автоматиче-
ски открывающиеся впускные (всасывающие) клапаны подается воздух. На общем для обоих цилиндров всасывающем трубопроводе расположен фильтр 7поступающего воздуха. Фильтр по мере загрязнения промывают и смазывают чистым маслом. При обратном ходе поршня воздух сжимается и давление в цилиндрах увеличивается. При этом всасывающие клапаны прижимаются к своему седлу, а нагнетательные закрыты До тех пор, пока давление в цилиндрах не станет равным давлению в нагнетательных трубопроводах. В этот момент нагнетательные клапаны 5 открываются и воздух при дальнейшем ходе поршня выталкивается в нагнетательный трубопровод. Полный рабочий цикл в цилиндрах компрессора протекает за два хода поршня. При сжатии воздуха до давления выше 5 кгс/см2 его температура
сильно повышается, затрудняя нормальную смазку цилиндров и увеличивая расход энергии на работу компрессора. Чтобы предотвратить чрезмерное повышение температуры, процесс сжатия воздуха разделен на две ступени. В цилиндрах низкого*давления происходит первая ступень сжатия; в цилиндрах высокого давления — вторая ступень сжатия уже охлажденного в трубопроводах воздуха. Процесс сжатия во второй ступени происходит в момент всасывания воздуха в полость б5 цилиндра первой ступени при ходе поршня в сторону от головок цилиндров. Диаметр цилиндров первой ступени сжатия 155 мм, второй ступени — 125 мм. В головках цилиндров (рис. 153) расположены всасывающие 16 и нагнетательные 15 клапаны первой ступени сжатия с уплотнениями 17 и 14. Клапаны фиксируют колпачками 3 и 6, которые прижимают болтами 4 с закрытыми гайками 5 и уплотнениями 2. Головки цилиндров закрыты крышками / с уплотнениями 7. К корпусу 8 головок болтами 9 с гайками 10 и шайбами // крепят фланцы 12 с уплотнениями 13.


В специальных камерах в стенках цилиндров компрессора (рис. 154) размещены всасывающие 12 и нагнетательные 2 клапаны второй ступени сжатия. В камеры вставляют уплотняющие кольца 1 и 11, а затем всасывающие и нагнетательные клапаны, которые фиксируют колпачками 3 а 13 с болтами 6 и закрытыми гайками 5. Камеры закрыты крышками 7 я 14 с уплотнениями 4. Все клапаны имеют одинаковые геометрические размеры. К корпусу 10 цилиндров крепят фланцы 9 и 15 с уплотнениями 8.
Кованый коленчатый вал (рис. 155) изготовлен из стали. Вал 3 вращается в двух самоустанавливающихся роликовых подшипниках качения 9. Подшипники напрессованы на шейку коленчатого вала в подогретом состоянии. На наружные кольца подшипников посажены нагретые в масляной ванне до 100°С крышки картера 1. Подшипник со стороны редуктора фиксируют гайкой 5 и закрывают крышкой 2, уплотненной специальными кольцами 4. Второй подшипник закрыт сплошной крышкой 10. Кривошип // уравновешен противовесом 6, который крепят к кривошипу болтом 7, зафиксированным стопорным штифтом 8.
На картере компрессора помещен деаэратор, который предотвращает возникновение чрезмерного давления в картере. В деаэраторе улав-

Рис. 154. Цилиндр с клапанами второй ступени сжатия

Рис. 155. Коленчатый вал с подшипниками
ливается масляная пыль, образуемая при распылении масла специальным язычком, расположенным на шатуне.
Смазка к цилиндрам первой ступени подается через выведенную из картера трубку в пространство над всасывающими клапанами. Под действием избыточного давления, возникающего в картере, и под влиянием всасывающего действия первой ступени через трубку проходит масляная пыль, которая смазывает пространство цилиндров. Кривошип и его подшипники, а также стенки цилиндров второй ступени смазываются маслом, распыленным в картере. В картер наливают приблизительно 2,5 л масла. Для контроля его количества в картер встроен мас-лоуказатель. Сливают масло через сливную пробку. Для предотвращения утечки смазки из картера вал уплотнен специальными кольцами. Летом применяют компрессорное масло марки 19Т, зимой •— марки 12Т.
Управление работой мотор-компрессора осуществляет реле давления, которое включает его при 7,5 и выключает— при 9 кгс/см2. Производительность компрессора считается нормальной, если один компрессор повысит давление с 7,5 до 9 кгс/см2 в течение 1,5 мин.
Основные технические данные компрессора следующие:
Количество засасываемого воздуха ... 160 м3/ч
Частота вращения вала при давлении
9 кгс/см2 ............. 700 об/мин
Ход поршня............ 100 мм
Средняя скорость перемещения поршня , . 3,23 м/с
Масса компрессора.......... . 225 кг
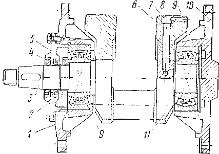
Коленчатый вал компрессора через зубчатую передачу соединен с валом электродвигателя (рис. 156) типа 5А2135/4. Остов 7 электродвигателя отлит из электротехнической стали и имеет форму восьмигранной призмы, которая у коллектора переходит в цилиндр. В нижней части остова предусмотрены четыре опорные лапы 34 с отверстиями для болтов, крепящих электродвигатель к фундаментной плите. Вверху остова имеются скобы для транспортировки электродвигателя. Для осмотра коллектора и щеточного аппарата со стороны коллектора в остове предусмотрены два прямоугольных люка, закрытые листовыми крышками 27.
Электродвигатель имеет четыре главных и четыре дополнительных полюса. Сердечники 2 главных полюсов набраны из отдельных стальных листов толщиной 1 мм. Сплошные сердечники 3 дополнительных полюсов изготовлены из стали. Катушки / и 4 главных и дополнительных полюсов намотаны из голого провода. Отдельные витки изолированы асбестовой лентой. Снаружи катушки обмотаны миканитовой и стеклянной лентами. Концы обмоток выведены к зажимам 31, к которым крепятся наконечники кабелей межкатушечных соединений или выводных кабелей 25. Выводные кабели уплотнены в остове резиновыми проходными изоляторами 33. Воздушный зазор между сердечником главного полюса и якорем 2,5 мм, между сердечником дополнительного полюса и якорем — 5 мм. По обеим сторонам остова укреплены

подшипниковые щиты 9 и 26, которые имеют по четыре закрытых сетками прямоугольных отверстия для входа и выхода охлаждающего воздуха. Щит 26, расположенный со стороны коллектора, закрыт подшипниковой крышкой 28. Щит 9, расположенный с противоположной коллектору стороны, закрыт крышкой 11. Проникновению масла из редуктора в электродвигатель препятствует уплотняющее кольцо 13. Редуктор оснащен крышкой 10 для отвода воздуха. В подшипниковых щитах зажаты наружные кольца подшипников. Избыточная смазка из камеры выходит наружу по специальным каналам в масло-отбойном 18 и упорном 17 кольцах подшипника.
Вал 14 якоря электродвигателя изготовлен из углеродистой стали. На вал посажены нажимные шайбы якоря, сердечник, коллектор и вентилятор. Сердечник 22 якоря, набранный из листов электротехнической стали, зажат между передней 23 и задней 21 нажимными шайбами. Обмотка 5 якоря волновая. Она выполнена из тонкого медного изолированного провода. Прямолинейные части обмотки, уложенные в пазах, опрессованы в горячем состоянии микафолиевыми трубками. Обмотка в лобовой части удерживается стальными бандажами 6, в пазах ■— текстолитовыми клиньями. Вал якоря электродвигателя вращается в подшипниках качения 29 и 20. Подшипник 29 со стороны коллектора шариковый, со стороны привода ■— роликовый. Диаметр якоря^190 мм.
Коллектор набран из медных пластин 24, изолированных друг от друга прокладками из коллекторного миканита. Пластины зажаты между втулкой и нажимным конусом и изолированы от них миканитовыми манжетами. Диаметр коллектора 165 мм. Ток к коллектору подводится через четыре щеткодержателя 32, прикрепленных изоляционными болтами 30 к подшипниковому щиту. Отверстия под болты, крепящие подшипниковый щит к остову, имеют овальную форму, что позволяет поворачивать подшипниковый щит, меняя положение щеткодержателей относительно коллектора.
Электродвигатель типа 5А2135/4 самовентилируемый. На вал якоря посажёна стальная ступица 19, к которой крепится вентиляторное колесо 8, изготовленное из алюминиевого сплава.
Якорь электродвигателя динамически сбалансирован. Балансировочные грузы устанавливают в специальном пазу со стороны коллектора и на колесе вентилятора, положение которого относительно якоря фиксируют штифтом.
На конец вала якоря электродвигателя посажена шестерня 12, которая зацепляется с зубчатым колесом 16, посаженным на конусной шейке коленчатого вала компрессора. Посадку шестерни и зубчатого колеса на вал якоря и компрессора производят в нагретом состоянии. Редуктор закрыт крышкой 15. Электродвигатель и компрессор установлены на общей фундаментной плите. Компрессор снабжен специальным клапаном для автоматического выпуска конденсата.
Изоляция обмоток электродвигателя класса В. Во время испытания изоляции относительно земли к обмоткам подводят напряжение 1590 В в течение 1 мин. Электродвигатель испытывают в течение 2 мин при максимальной частоте вращения якоря 4000 об/мин,
Основные технические данные электродвигателя типа 5А2135/4:
Номинальное напряжение....... 220 В
Длительная мощность......... 17 кВт
Длительный ток........... 93 А «
Частота вращения якоря ....... 2800 об/мин
Масса вместе с фундаментной плитой . . - 250 кг
На электровозах начиная с ЧС4-162 и на всех электровозах ЧС4" установлены мотор-компрессоры типа К2-1ок-2 (рис. 157). Это поршневой, одинарного действия, двухступенчатый, трехцилиндровый компрессор (компрессоры такого типа установлены на электровозах ЧС2).
Корпус / компрессора выполнен из чугуна. В верхней части корпуса укреплены два цилиндра низкого давления 2 и 6 и один цилиндр высокого давления 5. По наружной поверхности цилиндры имеют охлаждающие ребра. Охлаждение компрессора естественное. К цилиндрам привинчены чугунные оребренные клапанные головки 4, в которых расположены всасывающие и нагнетательные клапаны, прижатые к седлам головок болтами. С двух сторон к корпусу крепятся чугунные крышки 7 с самоустанавливающимися роликовыми подшипниками, которые посажены на шейку коленчатого вала. С коленчатым валом через кривошипно-шатунный механизм связаны поршни.
На коленчатом валу рядом помещены три подшипника шатунов, залитые подшипниковым сплавом. Головки шатунов снабжены бронзовыми втулками, в которых помещены закаленные поршневые пальцы, соединяющие шатуны с порошнями. Поршни изготовлены из легкого металла и имеют три уплотнительных и два маслосъемных кольца. Кривошипно-шатунный механизм уравновешен противовесом.
Полный рабочий цикл в цилиндрах компрессора протекает за два хода поршня. Первая ступень сжатия воздуха до 1,8—2,4 кгс/см2 осуществляется в ,двух крайних цилиндрах низкого давления. Вторая ступень сжатия предварительно охлажденного в трубопроводах холодильника воздуха происходит в цилиндре высокого давления. Сжатый до 9 кгс/см2 воздух подается в напорный трубопровод.
Компрессор обеспечивается смазкой под давлением с помощью масляного насоса, укрепленного на корпусе сальника на задней крышке корпуса компрессора. Насос приводится в действие посредством зубчатой передачи от коленчатого вала.
К нижней части корпуса компрессора прикреплен картер, в котором находится масло.

Рис. 157. Мотор-компрессор К2-1ок-2
При работе компрессора масло из картера всасывается по трубопроводу через масляный сетчатый фильтр в насос. Для предотвращения замерзания смазки на всасывающем трубопроводе имеются подогреватели масла. Из масляного насоса масло вытесняется через напорный трубопровод в верхнюю часть корпуса сальника, через который проходит коленчатый вал. В корпусе сальника имеется паз, в который поступает масло под давлением. В ступице запрессована втулка маслораспределительного щита. Через отверстия щита масло попадает в каналы коленчатого вала, а затем в шатуны и к поршневым пальцам. Для предотвращения утечки смазки из корпуса компрессора вал уплотнен специальными кольцами. Уплотнения имеют и все крышки компрессора.
Масло, которое разбрызгивается при работе компрессора, находится в распыленном состоянии и смазывает стенки цилиндров и роликовые подшипники коленчатого вала. Для обеспечения надежной смазки всех частей компрессора масляный насос поставляет избыток масла.
В масляной системе компрессора поддерживается давление 3— 4 кгс/см2. Регулировка давления производится регулировочным клапаном, встроенным в сливное отверстие сальника. Шарик клапана прижат в седло пружиной, нажатие которой регулируется болтом. Настройка давления масла выполняется в следующем порядке. Сначала ослабляют и снимают накидную гайку, затем снимают уплотнительное кольцо и ослабляют предохранительную гайку. После этого начинают вращать регулировочный болт. При вращении по часовой стрелке давление масла повышается, при вращении в противоположном направлении — понижается. После установки требуемого давления положение регулировочного болта необходимо зафиксировать предохранительной гайкой, поставить уплотнительное кольцо и навернуть накидную гайку.
Для контроля за давлением масла имеется манометр, а для дистанционного управления работой — специальный выключатель. Для того чтобы в картере компрессора не создавалось повышенное давление, его пространство через деаэратор сообщается с атмосферой.
Масло из регулировочного клапана проходит между задней крышкой корпуса компрессора и корпусом сальника в нижнюю часть задней крышки, где смазывает зубчатые колеса масляного насоса. Затем через сливное отверстие оно поступает обратно в картер компрессора, откуда опять всасывается через фильтр в насос.
В картер наливают приблизительно 4,5 л масла. Летом применяют компрессорное масло марки К8, зимой — марки 1<12. Контроль количества масла производится калибром, который встроен в картер компрессора со стороны масляного насоса. Палочка калибра снабжена двумя рисками. Если уровень масла в картере находится ниже нижней риски, то эксплуатировать компрессор нельзя. Необходимо долить масло в картер до уровня верхней риски.
Доливать масло в картер компрессора и измерять его уровень можно только при неработающем компрессоре. Масло доливают в картер через отверстие после снятия крышки с деаэратором.
Выпуск масла из картера компрессора производится через сливную пробку, расположенную в нижней части картера. При смене мас-
ла необходимо очистить масляный сетчатый фильтр и магнитную вставку сливной пробки. Перед заливкой масла в систему необходимо произвести промывку картера и всей системы.
Основные технические данные компрессора К2-1ок-2 следующие:
Количество засасываемого воздуха ... 2,1 м3/с
Частота вращения вала при полной мощности 635 об/мин
Ход поршня............ 120 мм
Средняя скорость перемещения поршня . . 2,54 м/с Диаметр цилиндров первой ступени сжатия 155 мм
» » второй » » 125 »
Компрессор К2-1ок-2 приводится в действие электродвигателем 3 типа 11А2135/4 с последовательным возбуждением. Остов электродвигателя отлит из электротехнической стали. Он имеет форму восьмигранной призмы, переходящей у коллектора в цилиндр. В нижней части остова предусмотрены опорные лапы для крепления электродвигателя к фундаментной плите. Для осмотра коллектора и щеточного аппарата в остове электродвигателя со стороны коллектора предусмотрены два прямоугольных люка, закрытые листовыми крышками.
Электродвигатель имеет четыре главных и четыре дополнительных полюса. Сердечники главных полюсов набраны из отдельных листов толщиной 1 мм, сердечники дополнительных полюсов сплошные. Катушки главных и дополнительных полюсов намотаны из голого провода. Отдельные витки изолированы асбестовой лентой. Поверхность катушек изолирована слоем слюдяной и стеклянной лент. Межкатушечное соединение выполнено кабелями, запаянными в кабельные башмаки. Выводные кабели уплотнены в остове резиновыми проходными изоляторами. Воздушный зазор между сердечником главного полюса и якорем 2 мм, между сердечником дополнительного полюса и якорем — 5 мм.
По обеим сторонам остова электродвигателя укреплены подшипниковые щиты, имеющие по четыре прямоугольных отверстия для входа и выхода охлаждающего воздуха. Подшипниковые щиты закрыты крышками. Проникновению масла из редуктора в электродвигатель препятствует уплотняющее кольцо. Для смазки редуктора применяют в зимнее время масло марки РР13, в летнее время — марки РР44. Редуктор оснащен крышкой для отвода воздуха. В подшипниковых щитах зажаты наружные кольца подшипников. Избыток масла из подшипниковых щитов во время эксплуатации автоматически устраняется смазочными вентилями.
Вал якоря электродвигателя изготовлен из углеродистой стали. На вал посажены нажимные шайбы якоря; сердечник, набранный из листов электротехнической стали; коллектор и вентилятор. Обмотка якоря волновая. Она выполнена из профильного плоского медного изолированного провода. Прямолинейные части обмотки, уложенные в пазах, опрессованы в горячем состоянии микафолиевыми трубками. Обмотка в лобовой части удерживается стальными бандажами, в пазах — текстолитовыми клиньями. Вал якоря вращается в подшипниках качения. Подшипник со стороны коллектора шариковый, а со стороны привода роликовый. Весь якорь динамически сбалансирован. Вал электро-
двигателя соединен с коленчатым валом компрессора через зубчатую передачу.
Коллектор электродвигателя набран из медных пластин, изолированных друг от друга прокладками из коллекторного миканита. Пластины изолированы от стальных частей коллектора миканитовыми манжетами. Ток к коллектору подводится четырьмя щеткодержателями, которые прикреплены изоляционными болтами к подшипниковому щиту, позволяющему менять положение щеткодержателей относительно коллектора. Давление щеток на коллектор — 0,7—0,8 кгс.
Охлаждение электродвигателя, как и у всех вспомогательных машин, осуществляется путем самовентиляции. Охлаждающий воздух поступает в электродвигатель через отверстия подшипникового щита со стороны коллектора и выходит со стороны редуктора.
Изоляция обмоток электродвигателя класса В. Во время испытания изоляции относительно земли к обмоткам подводят напряжение 1500 В в течение 1 мин.
Основные технические данные электродвигателя ПА2135/4 следующие:
Номинальное напряжение....... 220 В
Длительная мощность......... 17 кВт
Длительный ток . . . ' ....... 93 А
Частота вращения якоря....... 2800 об/мин
Масса электродвигателя........ 300 кг
» фундаментной плиты...... 90 , »
|
|