Для защиты силовых цепей напряжением 25 кВ от перегрузок и токов коротких замыканий, а также для оперативных включений и отключений цепи первичной обмотки тягового трансформатора на электропоездах установлен высоковольтный воздушный выключатель ВОВ-25-4М однополюсного исполнения.
Основное требование, предъявляемое к выключателю,— возможно быстрее осуществить полный разрыв защищаемой цепи для того, чтобы не допустить повреждения ее элементов. При выключении электрической цепи контакторами или небыстродействующими автоматами ток к. з. достигает установившегося значения /„„,,,, (рис. 191). При отключении же главным воздушным выключателем ток к. з. не достигает установившегося значения, а ограничивается максимальной величиной /,,„,„, меньшей /к,шп. Наибольшее значение /„,,,„, при котором выключатель может надежно отключить защищаемую цепь, называют его отключающей способностью. Процесс выключения начинается с момента /0 после достижения тока уставки т. е. минимального значения тока, вызывающего срабатывание воздушного выключателя. Далее происходит размыкание контактов не мгновенно, а через некоторое время /,в, называемое собственным временем воздушного выключателя. Начало размыкания контактов не является разрывом цепи, так как между контактами образуется мостик из расплавленного металла с малым сопротивлением и только при дальнейшем движении мостик разрывается и переходит в электрическую дугу, которая под действием сжатого воздуха перемещается в дугогасительную камеру.
Время с момента начала движения контактов до появления дуги называется временем контактов Время с момента появления дуги до ее погасания называют временем гашения I,. Полное время выключения цепи гвыкл = /0 + £св + + /к+/\. Для современных быстродействующих выключателей г„ык.,= 0,01-^0,03 с.
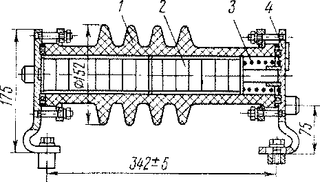
Выключатель монтируется на крыше электропоезда. Узлы выключателя, расположенные на внешней стороне его корпуса, рассчитаны для работы на открытом воздухе, узлы внутри корпуса — для работы в закрытом помещении. Общее представление о конструкции выключателя дают рис. 192, 193 и 194, на которых одни и те же узлы и детали обозначены одинаковыми номерами. Опорной конструкцией выключателя является силуминовый корпус 10 (см. рис. 192), с помощью которого выключатель закрепляется на крыше моторного вагона. Уплотнение между корпусом 10 и установочной площадкой крыши обеспечивается резиновым шнуром //, закладываемым в паз корпуса 10. К одной из стенок корпуса прикреплен с помощью патрубка воздушный резервуар 15 вместимостью 32 л. Воздух из главных резервуаров к выключателю подается через питательную магистраль, присоединяемую к штуцеру 12. Из резервуара в корпус выведена трубка 14, предназначенная для выпуска сжатого воздуха и конденсата, которая оканчивается штуцером с внутренней резьбой Труб. 1/2" для подключения отводящей трубки с запорным вентилем. На корпусе установлены высоковольтные части выключателя: пустотелый воздухопроводный изолятор 4, изолятор 2 дуго-гасительной камеры, разъединитель 6, нелинейный резистор 28 (ВНК.С-25М),

Рис. 193. Дугогасительная камера

Рис. 194. Принципиальная схема выключателя (а) и кабельный трансформатор тока (б)
поворотный изолятор 8 разъединителя. Между ножами разъединителя шар-нирно укреплен вывод 7, предназначенный для присоединения выключателя к высоковольтной сети.
Вторым выводом выключателя является латунный фланец /, установленный на дугогасительной камере. Для заземления ножей разъединителя в отключенном положении выключателя установлен заземляющий кронштейн 5, на котором имеется отверстие для крепления заземляющей шины. Внутри корпуса 10 смонтированы механизмы управления выключателем: блок 55 (см. рис. 194) главного клапана и привода, клапан отключения 44, клапан включения 63, включающий электромагнит 64 постоянного тока, отключающий электромагнит 46 постоянного тока удерживающего типа, отключающий электромагнит 34 переменного тока, сигнально-блокировочный аппарат 36, автомат минимального давления 52, штепсельные разъемы 9, -промежуточное реле 38 и др.
В корпусе 10 также расположены: штуцер 12 (с внутренней резьбой Труб. 1/2") для присоединения питающего воздухопровода и штуцер 14 для присоединения трубки с манометром.
Токоведущий контур дугогасительной камеры (см. рис. 193) образуется неподвижным контактом 3, который также является контактом разъединителя, цилиндром 26, спаянным с трубкой 22, которая оканчивается пружинными ла-мелями 21; подвижным дугогасительным контактом 20, который связан посредством штока с поршнем 25; дугогасительным контактом 19, в котором устроено сопло; трубой 27 и фланцем 1, к которому подключается токоотводящая шина. В трубу 27 встроен ограничитель дуги 17, оканчивающийся тугоплавким наконечником. К фланцу / прикреплен колпак 18. Резистор с нелинейным сопротив-
лением крепится к фланцам /. Все контактные поверхности токоведущего контура покрыты слоем серебра с целью обеспечения надежного электрического контакта. Контактное усилие между дугогасительными контактами составляет приблизительно 525 Н (52,5 кгс) и создается пружиной 24 при вжиме контакта 20 на 15 мм. Вжим создается ввинчиванием трубы 27. Для смягчения ударов поршня 25 при его перемещении в крайнее правое положение предусмотрен демпфер 23, набранный из резиновых и стальных шайб. Выключатель снабжен патроном аэрации 29 (см. рис. 194) для постоянной вентиляции полостей воздухопроводного изолятора гасительной камеры. Перед включением выключателя необходимо поднять давление сжатого воздуха в баке до 0,56—0,58 МПа (5,6—5,8 кгс/см2). При этом замыкающие контакты автомата минимального давления 52 замкнутся и подготовят общую цепь управления. В отключенном положении выключателя контакты 19 и 20 дугогасительной камеры (см. рис. 193) замкнуты (они размыкаются только на короткий период гашения дуги при отключении), поэтому для включения выключателя достаточно включить его разъединитель. Операция включения начинается действием включающего электромагнита 64 (см. рис. 194) постоянного тока 110 В. Цепь катушки этого электромагнита заведена через контакты сигналь-но-блокировочного аппарата 36. При подаче на катушку электромагнита 64 оперативной команды на включение его сердечник втягивается и посредством штока открывает клапан включения 63, вследствие чего сжатый воздух из патрубка 13 по каналам 53 и 62 устремляется в цилиндр 60 и перемещает поршень 61 в крайнее левое положение. Этот поршень посредством штока 65, серьги 67 и рычага 66 поворачивает вал 39, изолятор 8 и разъединитель 6 на угол 60°. При этом ножи разъединителя замыкаются с неподвижным контактом 3. В конце поворота вала 39 посредством рычага 35 перемещается шток сигнально-блокировочного аппарата 36, контакты которого прерывают цепь включающего электромагнита 64. Сердечник электромагнита возвращается в исходное положение, и пусковой клапан 63 закрывается.
При закрытом клапане сжатый воздух из цилиндра привода через каналы 62 и 48 выходит в атмосферу. На этом операция включения заканчивается. При повороте вала рычаг 45, сидящий на валу, нажимая на шток, заводит рабочую пружину 47 отключающего электромагнита 46. Якорь этого электромагнита удерживается во втянутом положении, если катушки электромагнита обтекаются током. Если же после включения выключателя катушки удерживающего электромагнита 46 окажутся почему.-либо обесточенными, немедленно начнется операция отключения. Предотвращение звонковой работы выключателя (автоматическое чередование операций включения и выключения) осуществляется в этом случае специальной релейной схемой, входящей в общую схему управления электропоездом. Ограничение скорости движения подвижных частей при включении выключателя происходит благодаря компрессии воздуха с левой стороны поршня 61 и наличию клапана 56 в цилиндре привода.
Отключение начинается действием либо удерживающего электромагнита 46 постоянного тока, либо электромагнита 34 переменного тока. Удерживающий электромагнит 46 срабатывает при размыкании цепи его катушек под действием рабочей пружины 47. В состоянии готовности якорь электромагнита подтянут, катушки находятся под напряжением. Электромагнит 46 снабжен двумя катушками, выводы которых выведены на клеммник, смонтированный в его корпусе. Катушки соединены последовательно. Размыкание цепи удерживающего электромагнита может осуществляться независимо тремя способами: размыкающими контактами промежуточного реле 38 при действии его от максимальной защиты;
размыкающими контактами автомата минимального давления при снижении давления ниже допустимого предела или кнопкой управления при оперативном отключении. Питание катушки промежуточного реле 38 осуществляется от высоковольтного трансформатора тока (см. рис. 194,6). Электромагнит переменного тока 34 (см. рис. 194, а) предназначен для нужд специальной защиты и срабатывает при подаче на него переменного тока. В момент действия любого электромагнита (34 или 46) поворачивается рычаг 40 и открывается клапан отключения 44, через который сжатый воздух из резервуара поступает по каналам 53 и 43 к поршню 41 главного клапана 32, перемещая его в крайнее левое положение, вследствие чего открывается главный клапан 32. Через открытый главный клапан 32 сжатый воздух поступает из резервуара по каналу 33 и пустотелому изолятору 4 в полость дугогасительной камеры 2. Параллельно с этим сжатый воздух по каналу 54 поступает в дополнительный объем 57 и далее через канал 51 к поршню 61 привода разъединителя. В полости дугогасительной камеры (см. рис. 193) под действием нарастающего давления подвижной контакт 20, связанный с поршнем '25, смещается вправо на 25 мм, сжимая пружину 24. Удар поршня гасится буферным устройством 23. Из-за смещения контакта 20 открывается сопло, устроенное в неподвижном контакте 19, через которое воздух устремляется в полость колпака 18 и далее уходит в атмосферу. Электрическая дуга, образовавшаяся между контактами 19 и 20, втягивается потоком сжатого воздуха в сопло контакта 19, перекидывается на ограничитель 17 и вследствие интенсивного обдувания струей сжатого воздуха гасится. Одновременно поршень привода перемещается в крайнее правое положение, поворачивая вал 39 (см. рис. 194) с изолятором 8 и разъединителем 6 на 60е, в результате чего прерывается цепь разъединителя. При повороте вала 39 рычаг 45 освобождает шток удерживающего электромагнита, который под действием электромагнитных сил и рычага 40 приводится в состояние готовности. Закрывается клапан отключения 44 и открывается выход в атмосферу из цилиндра главного клапана, из-за чего давление в цилиндре главного клапана падает до атмосферного, и поршень главного клапана возвращается в исходное положение под действием пружины 31, а главный клапан закрывается. После закрытия главного клапана давление в камере падает, подвижной контакт камеры под действием пружины 24 (см. рис. 193) возвращается в исходное положение, замыкая контакты 19 и 20 при отключенном разъединителе. На этом операция отключения заканчивается.
В отключенном и включенном положении выключателя вал разъединителя фиксируется специальным доводящим механизмом 42 (см. рис. 194). На нижнем конце вала укреплен указатель положения с надписями Вкл. и Откл. Механизм выключателя закрыт снизу кожухом, который на рисунках не показан. Поскольку разъединитель может отключать только обесточенную цепь, необходимо обеспечить такие условия, при которых процесс отключения разъединителя начинался бы после гашения дуги в камере. Эти условия обеспечиваются некоторым запаздыванием, с которым начинается отключение разъединителя относительно момента расхождения дутогасительных контактов. Запаздывание отключения разъединителя возникает вследствие того, что наполнение цилиндра привода происходит через дополнительный резервуар 57 и через канал 49, поэтому рост давления в цилиндре несколько замедляется. В момент поступления воздуха в дополнительный резервуар пластинчатый клапан 56 закрывает канал 50, оставляя открытым только канал 49. Вместимость дополнительного резервуара и размер отверстия регулируют с таким расчетом, чтобы время запаздывания разъединителя составило 0,03—0,05 с.
Рис. 195. Нелинейный резистор ВНКС-25:
/ — фарфоровый изолятор; 2— шайбы керамических сопротивлений: 3 - пружина; 4 -- фланны

Для ограничения перенапряжений при отключениях дугогасительные контакты шунтируются высоковольтным нелинейным керамическим резистором ВНКС-25. Он состоит из полого фарфорового изолятора / (рис. 195), внутри которого расположены шайбы керамических сопротивлений 2, прижимаемые пружиной 3. Фланцы 4 закрывают изолятор с торцов и одновременно используются для крепления нелинейного резистора к главному выключателю. Величина "нелинейного сопротивления ВНКС-25 при температуре 25 °С с увеличением амплитуды напряжения от 26 до 50 кВ уменьшается от 60 000—100 000 до 7000—12 000 Ом. Основные данные выключателя ВОВ-25-4М:
Номинальное напряжение 25 кВ
Допустимые пределы изменения напряжения 12--29 кВ
Номинальны!"] ток 400 Л
Предельный ток отключения 10 000 А
Сквозной ток короткого замыкания (амп.птда) 2 5 000 А
Наибольшее рабочее избыточное давление сжатого воздуха в бакс 0.9 МПа
(9 кгс;см2!
Диапазон рабочих избыточных давлений сжатого воздуха в баке 0,6 -0.9 МПа
{6 9 кге/е\г)
Мощность отключения:
номинальная в зоне избыточных давлений 0,6 - 0,9 МПа 250 MB • А
при избыточном давлении ниже 0.6 МПа, но не менее 0,46 МПа 125 MB • А при двукратном отключении без пополнения запаса воздуха в баке выключателя при начальном избыточном давлении в нем:
не менее 0,8 МПа 250 MB • А
не менее 0.7 МПа 125 MB • А
Номинальное напряжение постоянного тока пеней управления 110 В
Допустимые пределы изменения рабочего напряжения в цепях \правления " 71,5-132 В Избыточное давление срабатывания автомага минимального давления:
на размыкание контактов 0.48 „ „■> МПа
(4.8 - I кгс/см-')
на замыкание контактов 0,58 ., с- МПа
(5,8 „ > ki'c/cmj)
Снижение избыточного давления за счет утечек с учетом вентиляции изоляторов при начальном давлении 0,8 МПа (8 кгс/см2) не более (0,6*0,15) МПа I (баг 1,5) кгс/с\г)|.
Снижение избыточного давления за счет \течек без счета вентиляции при начальном давлении 0,8 МПа (8 кгс/см-1) не более 0.1 МПа (1 кгс/см-).
Собственное время отключения от удерживающего электромагнита при 0.8 МПа (8 кгс/см"') и поминальном напряжении на катушке (время от момента размыкания цепи катушки до момента размыкания ду гогасительных контактов) не более 0,04 с.
Собственное время автоматического отключения от промежуточного реле при 0,8 МПа (8 кгс/см2) п при номинальном оперативном напряжении: при токе, равном 130% тока срабатывания, не более 0,06 с; при токе, равном двукратному и более току срабатывания, не более 0,5 с.
Собственное время автоматического отключения от электромагнита переменного тока при токе в катушке, равном 0,15 А, и давлении воздуха в резервуаре выключателя 0,8 МПа (8 кгс/см2) не более 0,3 с. -
Собственное время включения выключателя при 0,8 МПа (8 кгс/см2) не более 0,14 с.
Допустимая длительность электрического импульса на магнит включения не более 5 с. Число блок-контактов: замыкающих — 3; размыкающих — 3. Нормальное положение выключателя — отключенное. Масса - 200 кг.
Пределы ступенчатого регулирования тока уставки на промежуточном реле для автоматического отключения должны соответствовать следующим значениям:
Отпайка реле К1-К6 К1-К5 К1-К4
Число витков 75 58 48
Ток уставки, А 80+12 100+15 120+18
В процессе эксплуатации выключатель должен подвергаться периодическим осмотрам. При ТО-3 высоковольтный выключатель подлежит наружному осмотру. При этом необходимо спустить конденсат из бака, убедиться в отсутствии утечки воздуха, которая не должна превышать 0,1 МПа (1 кгс/см2) за 1 ч, очистить фарфоровые изоляторы и проверить их состояние. При необходимости производят затяжку креплений фарфора, которую разрешается производить только ключом с предельным моментом 19,6 Н • м (2 кгс • м) путем многократного последовательного обхода болтов и гаек по окружности их расположения, не допуская поворота их за один обход более чем на 60°. Проверяют состояние контактов разъединителя, удаляют следы оплавления с ножей и неподвижного контакта. При необходимости регулируют нажатие каждого ножа разъединителя на неподвижный контакт, которое должно быть одинаковым и равным 0,9—1,0 МПа (9—10 кгс/см2).
Пружина, создающая нажатие ножей на неподвижный контакт,- должна быть сжата до длины 14—15 мм при отключенном разъединителе.
В зимнее время в период образования гололеда проверяют состояние выхлопного клапана и очищают его ото льда и грязи. Проверяют состояние соединительной шины от высоковольтного ввода к поворотному изолятору. Стрела провисания не должна быть более 200 мм. Производят крепление фарфора сопротивления ВНКС-25 ключом с моментом 3,43 Н- М (0,35 кгс- м). Осматривают блокировочный барабан и смазывают трущиеся части.
При ТР-1, кроме работ, выполняемых при ТО-3, необходимо вскрыть дуго-гасительную камеру и проверить чистоту внутренних поверхностей изоляторов, проверить состояние дугогасительных контактов и при незначительном оплавлении их произвести зачистку бархатным напильником до металлического блеска, не нарушая геометрии. Зачистка наждачной бумагой запрещается. При значительном повреждении дугогасительных контактов (глубокое выгорание) их необходимо заменить; проверить затяжку внутренних контактов и при необходимости подтянуть их дополнительно при вывернутых стопорах; проверить вжим подвижного контакта; снять защитный колпак разъединителя и проверить состояние шарнирного контакта между контактной планкой и ножами. Проверяют состояние посадки нижнего фланца поворотного изолятора на валу разъединителя; по контрольным рискам проверяют положение гаек и наконечников на штоках электромагнитов, наличие регулировочных болтов на блоке клапанов и цилиндра. Проверяют величину контактной поверхности ножей разъединителя, которая должна быть не менее 60%. После указанных работ контролируют величину тока уставки на промежуточном реле для автоматического отключения. Проверяют работу главного выключателя при действии всех электромагнитов, реле защиты и минимальном давлении воздуха. При этом необходимо соблюдать правила техники безопасности. Трущиеся части смазывают согласно карте смазок выключателя.
|
|