Для охлаждения тяговых двигателей электровоза ЧС4 воздух подается двумя аксиальными двухступенчатыми мотор-вентиляторами (рис. 160), имеющими диаметр рабочих колес 710 мм. Каждый вентилятор обеспечивает воздухом три тяговых двигателя. На электровозе ЧС4Т такие мотор-вентиляторы подают воздух для охлаждения тяговых двигателей и выпрямительных установок. В машинном отделении электровозов мотор-вентиляторы установлены в вертикальном положении.
Наружный кожух 8 мотор-вентилятора сварен из стального листа. Он соединен направляющими лопатками с внутренним кожухом 10. На торцах наружного кожуха установлены фланцы //, к которым крепят воздухопроводы. Через наружный кожух из подшипниковых камер электродвигателя выведены трубки 5, на концах которых укреплены пресс-масленки 4. Рабочие колеса 7 обеих ступеней вентилятора посажены на вал, выведенный из электродвигателя в обе стороны. Колеса первой и второй ступеней статически сбалансированы. Они снабжены съемными лопатками /. На ступицах колес лопатки укреплены навернутыми непосредственно на вал гайками и зафиксированы штифтами. Доступ к щеткам и коллектору электродвигателя через наружный кожух мотор-вентилятора обеспечен двумя люками 2. Вентилятор снабжен сепаратором 6, сглаживающим пульсацию потока воздуха.

Рис. 160. Двухступенчатый аксиальный мотор-вентилятор 0 710
Номинальная производительность вентилятора на электровозах ЧС4 составляет 4,5 м3/с при статическом напоре 290 мм вод. ст., на электровозах ЧС4Т — 8 м3/с при 250 мм вод. ст.
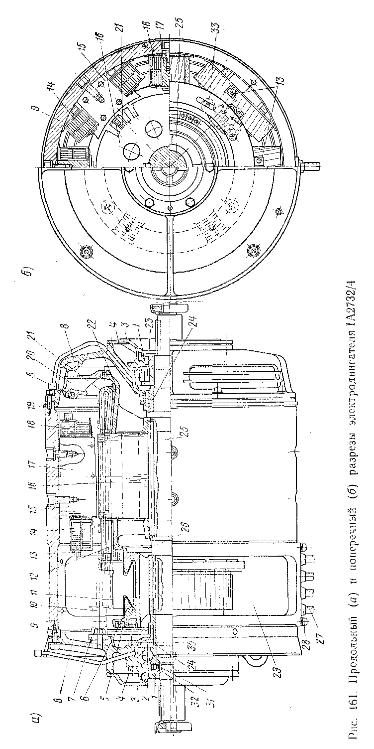
Вентилятор приводится в действие электродвигателем 3 типа 1А2732/4. Электродвигатель помещен во внутренний кожух мотор-вентилятора и закреплен в нем тремя болтами 9, ввернутыми в остов электродвигателя. В наружном кожухе электродвигатель (рис. 161) подвешен на предохранительном кольце 19, препятствующем его аксиальному сдвигу. Устойчивость электродвигателя обеспечена шестью болтами, проходящими через наружный и внутренний кожуха мотор-вентилятора и ввернутыми в остов электродвигателя.
Остов 9 электродвигателя, имеющий цилиндрическую форму, отлит из электротехнической стали. На его поверхности предусмотрен паз для предохранительного кольца. Для осмотра коллектора и щеточного аппарата в остове сделаны четыре люка 29.
Электродвигатель имеет четыре главных и четыре дополнительных полюса. Сердечники 15 главных полюсов набраны из стальных листов, сердечники 17 дополнительных полюсов изготовлены из прокатной стали. Воздушный зазор между сердечниками главных полюсов и якорем 3,5 мм, между сердечниками дополнительных полюсов и якорем— 5 мм. Катушки главных 14 и дополнительных 18 полюсов намотаны йа каркасе голым плоским проводом, изолированным асбестовой лентой. Поверхность катушек изолирована слоем слюдяных и стеклянных лент, запекаемых в специальных формах. Соединения между катушками выполнены кабелями. Наконечники этих кабелей крепят болтами к зажимам 13, которыми заканчиваются выводы из катушек. Выводные кабели 27 закреплены в остове электродвигателя при помощи резиновых проходных изоляторов 28. Кабели выведены на поверхность мотор-вентилятора и защищены кожухом.
Вал 25 якоря электродвигателя изготовлен из углеродистой стали. На вал посажены передняя 12 и задняя 22 нажимные шайбы якоря, сердечник 16, набранный из листов электротехнической стали, и коллектор 26. Волновая обмотка 21 якоря выполнена из тонкого профильного провода. Корпусная изоляция катушек обмотки якоря представляет собой опрессованиую в горячем состоянии миканитовую трубку. Обмотка в пазах сердечника крепится текстолитовыми клиньями, в лобовых частях— бандажами из диамагнитной проволоки.
Коллектор набран из медных пластин 11, изолированных друг от друга калиброванными прокладками из коллекторного миканита. От стальных частей коллектора пластины изолированы миканитовыми манжетами.
Якорь электродвигателя динамически сбалансирован. Балансировочные грузы 5 укреплены в пазах нажимного конуса 6 коллектора и венца колеса вентилятора, охлаждающего обмотки электродвигателя. Вентилятор 20 электродвигателя состоит из двух частей. Он крепится болтами к специальному выступу на задней нажимной шайбе якоря. Положение вентилятора относительно якоря фиксируют одним штифтом. Воздух всасывается со стороны кэллектора и выдувается в пространство за первой ступенью аксиального мотор-вентилятора через

отверстия в подшипниковом щите электродвигателя с противоположной коллектору стороны.
Ток к коллектору подводится четырьмя щеткодержателями 33. В каждом щеткодержателе установлены по две щетки. Давление щеток на коллектор— 1,3—1,5 кгс. Кронштейны 10 щеткодержателей прикреплены болтами к специальному кольцу 7 на подшипниковом щите 8. Кольцо в месте крепления кронштейнов имеет овальные вырезы. Перемещением кронштейнов вдоль овальных вырезов можно менять положение щеткодержателей относительно коллектора. Щеткодержатели одинаковой полярности соединены между собой.
Подшипниковые щиты 8 крепят болтами к торцам остова электродвигателя. В щиты посажены внешние кольца подшипников, работающих на консистентной смазке марки 1-ЛЗ ГОСТ 12811—67. Со стороны коллектора установлен шариковый подшипник 2 типа 6312, воспринимающий аксиальные усилия. На противоположной коллектору стороне помещен открытый роликовый подшипник 23 типа NU312. Подшипниковый узел со стороны коллектора имеет посаженное jra вал 25 лабиринтное кольцо 24, в паз которого вставляется выступ внутренней подшипниковой крышки 30. Внутреннее кольцо подшипника надевают на вал подогретым в масляной ванне до 80—100° С и фиксируют навернутой непосредственно на вал гайкой 32 с предохранительной шайбой 31. Язычок шайбы вставляют в паз вала, а ее лепестки загибают в пазы гайки. Подшипник с наружной стороны закрыт внешней подшипниковой крышкой 4 и посаженным на вал маслоотражательным кольцом 1. Перед посадкой на вал лабиринтное и маслоотражательное кольца подогревают до 150° С. Внешнюю подшипниковую крышку совместно с внутренней крышкой крепят к подшипниковому щиту шестью болтами. Подшипниковый щит с противоположной коллектору стороны не имеет внутренней подшипниковой крышки и фиксирующей гайки. Оба подшипниковых щита закрыты крышками 3. Из обеих подшипниковых камер электродвигателя выведены трубки, на концах которых имеются пресс-масленки для смазки подшипников под давлением.
Изоляция обмоток электродвигателя класса В. При испытании изоляции к обмоткам в течение 1 мин подводят напряжение 1500 В. Электродвигатель испытывают в течение 2 мин "при частоте вращения якоря 2500 об/мин.
Основные технические данные электродвигателя 1А2732/4 следующие:
Номинальное напряжение....... 220 В
Длительная мощность......... 25 кВт
Длительный ток........... 135 А
Частота вращения якоря....... 1800 об/мни
Масса электродвигателя........ 340 кг
Воздух в шкафы выпрямительных установок электровоза ЧС4 подают четыре двухступенчатых мотор-вентилятора с диаметром рабочих колес 425 мм. Мотор-вентиляторы крепят в вертикальном положении болтами к фланцам в нижней части шкафов выпрямительной установки. Производительность каждого вентилятора 1,9 м3/с при давлении воздуха 150 мм вод. ст. Конструктивно вентилятор с диаметром рабочих

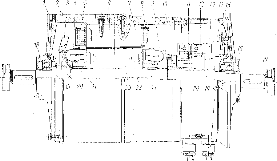
Рис. 162. Продольный разрез электродвигателя SM4003L
колес 425 мм выполнен подобно вентилятору с диаметром рабочих колес 710 мм. Рабочие колеса первой и второй ступеней вентилятора вращаются электродвигателем типа 8М4003Ь (рис. 162). Крепление электродвигателя в наружном и внутреннем кожухах выполнено аналогично креплению электродвигателя типа 1А2732/4. В наружном кожухе электродвигатель подвешен на предохранительном кольце 2, препятствующем его аксиальному сдвигу. Остов 10 электродвигателя имеет цилиндрическую форму. К его внутренней поверхности болтами крепят четыре главных и четыре дополнительных полюса. Сердечники 6 главных полюсов собраны из стальных листов, сплошные сердечники 7 дополнительных полюсов изготовлены из стали. Катушки 5 главных полюсов намотаны на каркас, а катушки 8 дополнительных полюсов — непосредственно на сердечник полюса медной изолированной проволокой. Концы катушек выведены на зажимы, к которым крепят и межкатушечные соединения. Выводные кабели из электродвигателя проходят через два сальниковых устройства 18 в переднем подшипниковом щите.
Вал 22 якоря электродвигателя вращается в двух шариковых подшипниках 19 типа 306 ГОСТ 8338—57. На вал напрессовывают коллектор 11, шихтованный сердечник якоря 23, нажимные шайбы 21 и колесо вентилятора 3, в пазу которого помещен груз для балансировки якоря. На выведенный из электродвигателя в обе стороны вал посажены рабочие колеса вентилятора, которые крепятся навернутыми непосредственно на вал гайками 17. Волновая обмотка 9 якоря выполнена из медного изолированного провода. Прямолинейные части катушек обмотки уложены в изолированных пазах сердечника и укреплены стеклотекстоли-товыми клиньями. Лобовые части обмотки крепят бандажами 4 из стальной проволоки.
Подшипниковые щиты 1 и 15 с подшипниками крепят болтами к торцам остова. Подшипники закрыты внутренними 20 и наружными 16 крышками. Для дополнения смазки в подшипниковых щитах предусмотрены радиальные каналы. В переднем подшипниковом щите между ребрами имеются четыре отверстия для доступа к щеточному аппарату и коллектору. Ток к коллектору подводится щеткодержателями 12, кронштейны 13 которых крепятся к специальному опорному кольцу 14.
С помощью подобных двух мотор-вентиляторов, имеющих диаметр рабочих колес 425 мм осуществляется охлаждение маслоохладителей тягового трансформатора электровоза ЧС4Т. В отличие от вентиляторов электровоза ЧС4 у этих вентиляторов отсутствует вентиляторное колесо второй ступени. Мотор-вентиляторы установлены на верхней части корпуса тягового трансформатора в наклонном положении. При эксплуатации электровозов ЧС4Т во время периодических осмотров необходимо обращать особое внимание на состояние шариковых подшипников электродвигателей, так как наклонное положение мотор-вентиляторов ухудшает условия их работы.
Основные технические данные электродвигателя 5М4003Ь следующие:
Напряжение питания......... 220 В
Мощность............. 4,5 кВт
Ток................ 24,7 А
Частота вращения якоря....... 2800 об/мин
Масса электродвигателя........ 78 кг
Для охлаждения сглаживающих реакторов, резисторов ослабления поля тяговых двигателей и маслоохладителей тягового трансформатора электровоза ЧС4 предназначены два одноступенчатых аксиальных вентилятора с диаметром рабочего колеса 560 мм. Производительность каждого вентилятора составляет 6,5 м3/с при давлении воздуха 150 мм вод. ст. Внутренний кожух, в котором находится электродвигатель постоянного тока типа 2А2135/4 (рис. 163), укороченный, поэтому электродвигатель выступает из него. В остове электродвигателя предусмотрены два люка для осмотра щеточного аппарата и коллектора. Давление щеток на коллектор 0,7—0,8 кгс. В остальном конструкция мотор-вентилятора с диаметром рабочих колес 560 мм не отличается
от описанной выше конструкции мотор-вентилятор а с диаметром рабочих колес 710 мм.
Два подобных одноступенчатых аксиальных мотор-вентилятора, имеющих диаметр рабочего колеса 560 мм, на электровозах ЧС4Т предназначены для охлаждения только сглаживающих реакторов и резисторов ослабления поля тяговых двигателей. На элек-


тровозах ЧС4Т вентиляторы приводятся в действие электродвигателями постоянного тока типа 6А2135/4, которые по своей конструкции сходны с электродвигателем типа 2А2135/4.
Изоляция обмоток электродвигателей класса В. Во время испытания изоляции в течение 1 мин к обмоткам подводится напряжение 1500 В. Электродвигатели испытывают в течение 2 мин при частоте вращения якоря 4000 об/мин.
Технические данные электродвигателей 2А2135/4 и 6А2135/4 следующие:
Номинальное напряжение....... 220 В
Длительная мощность........ 17 кВт
Длительный ток........... 93 А
Частота вращения якоря....... 2800 об/мин
Масса электродвигателя........ 210 кг
Работу всех мотор-вентиляторов контролируют воздухоструйные реле.
На электровозе ЧС4Т воздух для охлаждения элементов тормозных резисторов подается двумя одноступенчатыми вентиляторами, имеющими диаметр рабочего колеса 800 мм. Мотор-вентиляторы установлены в горизонтальном положении около блоков тормозных резисторов. Воздух всасывается вентилятором через постоянно открытые расположенные горизонтально жалюзи в верхней части кузова и, пройдя через тормозные резисторы, выбрасывается через такие же жалюзи на противоположной стороне электровоза. Фильтрация воздуха не предусмотрена.
Вентиляторы приводятся в действие электродвигателями постоянного тока типа АШ732/4 с последовательным возбуждением. Питание электродвигателей производится от выводов ОЗ-ВЗ тормозных резисторов. Поэтому частота вращения (рис. 164), производительность мотор-вентиляторов и потребляемая ими мощность (рис. 165) непосредственно зависят от величины тормозного тока.
Технические данные электродвигателя AU2732/4 следующие:
Напряжение питания......... до 280 В
Ток при 40-мин режиме работы..... 160 А
Частота вращения якоря....... 2140 об/мпн
Потребляемая мощность....... 39 кВт
Сопротивление обмотки якоря..... 0,0309 Ом
Сопротивление обмотки главных полюсов . 0,0215 » Сопротивление обмоткн дополнительных полюсов .............. 0,01748 »
Класс изоляции обмоток........ В
Масса электродвигателя........ 350 кг
Для более равномерного распределения воздуха в блоке тормозных резисторов между вентилятором и блоком расположена эллиптической формы диафрагма из перфорированного листа с отверстием в середине.
Циркуляцию воздуха в системе кондиционирования в кабинах ма шиниста электровозов ЧС4Т осуществляют четыре радиальных вентилятора, которые приводятся в действие электродвигателями типа 2АРС71-2Б.
Основные технические данные электродвигателя 2АРС71-25 следующие:
Напряжение питания......... 220 В, 50 Гц
Мощность............. 370 Вт
Частота вращения якоря........ 2885 об/мпн
|
|