Для уменьшения пульсации выпрямленного тока в цепях вспомогательных электродвигателей электровозов ЧС4 и ЧС4Т применяют сглаживающие реакторы типа АЬ-С1\П914/06.
Основные технические данные сглаживающих реакторов следующие:
Поминальное напряжение при частоте 50 Гц 188,5 в
Номинальный ток.......... 150 А
Индуктивность при номинальном токе . . 4 мГ Испытательное напряжение относительно
земли в течение 1 мин при частоте 50 Гц 2500 В
Масса реактора . . . :....... 63 кг
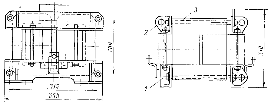
Сглаживающий реактор (рис. 167) состоит из шихтованной магнитной системы, катушек и деталей крепления. Двухстержневая магнитная система набрана из листов электротехнической стали, которые стянуты шпильками 3 с помощью верхних 2 и нижних 1 боковин. Нижние боковины, кроме того, служат для установки реактора на электровозе.

Рис. 167. Сглаживающий реактор АЬ-С1\П914/06
Сердечники имеют прямоугольную форму сечения. Обмотка, представляющая собой последовательно-параллельное соединение катушек (по десять на каждом стержне), намотана из алюминиевых шин. Изоляция катушек класса В. Сглаживающие реакторы имеют принудительное охлаждение воздухом, количество которого равно 0,7 м3/с.
Для улучшения сглаживания тока в цепях вспомогательных электродвигателей электровозов ЧС4Т включены последовательно две обмотки реактора.
Уменьшение пульсации выпрямленного тока в цепи электродвигателя мотор-компрессора системы кондиционирования воздуха в кабине машиниста электровозов ЧС4Т обеспечивают сглаживающие реакторы ТУ400, рассчитанные на номинальный ток 3,2 А.
|
|