Для защиты силовых цепей электровоза, а также для отключения от контактной сети в цепи регулировочной обмотки тягового трансформатора установлен главный выключатель ГВ. При отключении ГВ во время движения электровоза прекращается тяговый режим и останавливаются вспомогательные машины.
На электровозах ЧС4 и ЧС4Т в качестве главного выключателя используется воздушный однополюсный выключатель с разрывной мощностью 250 мВА при номинальном напряжении 25 кВ, частоте восстанавливающего напряжения не более 2 кГц и давлении сжатого воздуха 9 кгс/см2. На электровозах до ЧС4-212 применяются ГВ типа 20УУ-25А1 (рис. 175), на электровозах последующих выпусков (в том числе на ЧС41) — 2БУУ-25А2 с несколько измененной системой управления.
Главный выключатель установлен на крыше электровоза. Расположенные на внешней стороне корпуса ГВ его элементы рассчитаны для работы на открытом воздухе, а расположенные внутри корпуса и под крышей электровоза — только для работы в закрытом помещении.
ГВ состоит из следующих основных частей: опорной плиты с рамой, дугогасительной камеры с разрывными контактами, разъединителя с пружинно-пневматическим приводом, резервуара для сжатого воздуха, управляющих элементов и реек с зажимами. Для привода выключателя и гашения дуги, образующейся на главных контактах при их размыкании, используют сжатый воздух.
Токоведущая цепь ГВ включает в себя разрывные контакты, расположенные в дугогасительной камере, и разъединитель, который отключает и заземляет уже обесточенную цепь.
Процесс отключения выключателя состоит из трех последовательных операций: размыкание разрывными контактами силовой цепи под нагрузкой, размыкание разъединителя и повторное замыкание разрыв-' ных контактов. Каждая последующая операция начинается только после завершения предыдущей. Таким образом, разрывные контакты всегда замкнуты как при включенном, так и при отключенном главном выключателе. Они размыкаются только в процессе отключения ГВ. При
отключении разъединителя одновременно происходит заземле-

ние силовой цепи электровоза. Токоведущая цепь, находящаяся под высоким напряжением, изолирована от корпуса ГВ фарфоровыми высоковольтными изоляторами.
Опорная плита 2 корпуса выключателя, отлитая из силумина, укреплена четырьмя болтами на крыше электровоза. Она предназначена для монтажа всех основных узлов ГВ.
На плите установлены два опорных фарфоровых изолятора 4 и 8, поддерживающих дугога-сительную камеру 6. Опорный изолятор 8 полый и предназначен как для опоры дугогасительной камеры б, так и для подачи в нее сжатого воздуха из резер-
вуара 11. В состоянии покоя (при неработающей камере) полость изолятора вентилируется постоянно струей воздуха малого давления. На плите также установлен разъединитель, состоящий из поворотного изолятора 3, ножа 5 и контактной головки 7.
Поворотный изолятор может поворачиваться в установленных на опорной плите подшипниках. От пневматического привода 1 через рычажно-кулисную передачу движение передается на поворотный изолятор, и тем самым осуществляется выключение или включение ножа разъединителя в контактной головке.
Контактная головка 7 укреплена на амортизаторе дугогасительной камеры и покрыта двумя круглыми крышками из алюминиевого листа. Конструкция головки гарантирует надежное включение и выключение ножа разъединителя при любых климатических условиях. Ее контакты медные, покрытые серебром.
На опорной плите корпуса ГВ установлен кронштейн (на рис. 175 не показан), соединенный с корпусом электровоза и предназначенный для заземления ножа разъединителя при выключенном положении ГВ.
Под опорной плитой расположен резервуар 11 емкостью 55 л; имеется также дополнительный резервуар емкостью 57 л. Общий объем резервуаров таким образом составляет 112 л.
Воздушные резервуары предназначены для накопления сжатого воздуха, необходимого для приведения в движение пневматического привода разъединителя и гашения электрической дуги в дугогасительной камере, а также для перемещения расположенного .в ней подвижного контакта. Резервуары изготовлены из сварных листов и рассчитаны для работы при номинальном давлении 9 кгс/см2. Для спуска конденсата из бака предусмотрено отверстие с пробкой. На цилиндрической части бака на фланце установлен впускной клапан.
Под опорной плитой установлены также пневматический привод 1, предназначенный для включения и выключения разъединителя; главный (гасящий) клапан 9, пусковой (каскадный) вентиль 10 для подачи сжатого воздуха из резервуара в дугогасительную камеру; электропневматические вентили; обратный клапан, препятствующий выходу воздуха из резервуара при снижении давления в пневматической системе электровоза; предохранительный клапан; рейка с зажимами и сигнальный переключатель с контактами.
Дугогасительная камера (рис. 176) установлена горизонтально на двух опорных изоляторах. Она выполнена в виде полого фарфорового изолятора, через который подается сжатый воздух. Применен принцип одностороннего дутья, что способствует быстрому и надежному выключению. Внутри дугогасительной камеры расположены неподвижный 4 и подвижной 15 контакты, поршень 7 подвижного контакта и гидравлический амортизатор 9. Неподвижный контакт 4 выполнен в виде медной трубки, ввернутой в медную плиту 17, которая установлена между фланцем изолятора 3 и силуминовым колпаком 1. С внутренней стороны колпака укреплена стальная вставка 2. Медная трубка служит для выхлопа потока деионизированного воздуха из пространства, в котором происходит гашение дуги. На другом конце медной трубки закреплено медное контактное сопло 16, покрытое слоем серебра, предназначенное

Рис. 176. Дугогасительная камера главного выключателя
для обеспечения надежного контакта. Подвижной контакт 15 прижимается к неподвижному пружиной 13, которая одним концом опирается на фланец центрирующей вставки амортизатора 9 и другим концом на фланец полого поршня 7. Поршень передвигается в бронзовом цилиндре 8 подвижного контакта. Между поршнем^и цилиндром помещено бронзовое поршневое кольцо, обеспечивающее хороший электрический контакт. На поршень навинчен полый цилиндр 14 с шаровым контактом 15. На конце подвижного контакта припаяна вставка 5-со сферической контактной поверхностью из тугоплавкого материала (элмета). Вставка способствует уменьшению обгорання медного наконечника при образовании дуги.
Гидравлический амортизатор 9 предназначен для смягчения ударов подвижного контакта при перемещении его в крайние положения. Одновременно это устройство служит для возвращения подвижного контакта дугогасительной камеры в исходное включенное положение после окончания дугогасительного процесса и для обеспечения необходимого контактного давления.
При отключении ГВ подвижной контакт приводится в движение сжатым воздухом, который поступает из горловины А корпуса 6 под поршень 7. Сжатый воздух, воздействуя на поршень 7, преодолевает силу нажатия пружины 13 и приводит в движение подвижной контакт. Поршень подвижного контакта, пройдя определенный путь, упирается в упор, соединенный со штоком 12 поршня амортизатора 9. С этого момента перемещение подвижного контакта тормозится гидравлическим амортизатором, при этом движение подвижного контакта происходит только за счет перемещения поршня 11 во внутренней втулке 10 амортизатора. Камеры а и б амортизатора соединены между собой отверстиями для пропуска тормозной жидкости.
Движение поршня амортизатора тормозится за счет того, что тормозная жидкость, находящаяся перед поршнем 11, при его движении протекает через калиброванное отверстие в поршне и далее поступает из камеры б в камеру а амортизатора, при этом в камере а происходит сжатие воздуха за счет увеличения объема тормозной жидкости.
При обратном движении поршня амортизатора жидкость из камеры а возвращается в камеру б и далее под поршень 11, при этом давление в камере а снижается до первоначального.
Для гашения дуги, образующейся при размыкании контактов, используется сжатый воздух. Он поступает из воздушного резервуара, интенсивно охлаждает электрическую дугу и выдувает образовавшиеся при ее горении ионизированные газы через контактное сопло 16 и внутреннюю полость трубки 4 неподвижного контакта в колпак / и далее через выхлопные отверстия в атмосферу. Это способствует быстрой деи-онизации камеры и гашению дуги за 0,01—0,02 с.
После окончания дугогасительного процесса пружина 13 возвращает подвижной контакт в исходное положение и обеспечивает необходимое контактное нажатие. Величина контактного нажатия составляет около 45 кгс. Для обеспечения расчетного контактного нажатия необходимо, чтобы зазор между контактами был равен 27 мм. Зазор создается регулировочным кольцом подвижного контакта.
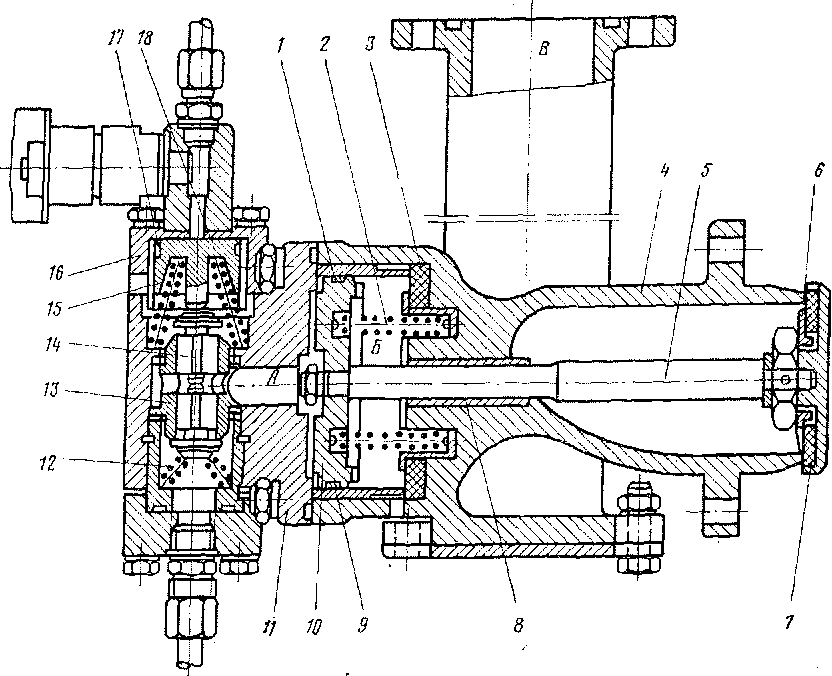
Подачу сжатого воздуха из резервуара в дугогасительную камеру осуществляет главный гасящий клапан (рис. 177). Он управляется пусковым клапаном, на который в свою очередь воздействует выключающий электропневматический вентиль. Корпус 4 главного клапана соединен болтами с фланцем воздушного резервуара и своей горловиной входит за пределы фланца внутрь воздушного резервуара.
В корпусе главного клапана помещена втулка 8, в которой перемещается шток 5 из нержавеющей стали. На штоке с одной стороны укреплен стальной диск 6 и с другой — поршень 10 из силумина с бронзовым поршневым кольцом .1. Под действием пружины 2 и давления

Рис. 177. Главный и пусковой клапаны главного выключателя
сжатого воздуха в резервуаре к торцу корпуса 4 прижимается через резиновое уплотнение 7 стальной диск 6, плотно закрывая главный клапан и препятствуя выходу воздуха из резервуара в полость В опорного изолятора. Резиновый амортизатор 3 предназначен для смягчения ударов.поршня 10 о корпус 4 при открытии клапана. Поршень 10 перемещается во втулке 9, Он находится в крайнем левом положении, когда камера Б в поршневом цилиндре соединена с атмосферой.
На крышке // корпуса главного клапана четырьмя болтами укреплен пусковой клапан, соединенный трубкой с воздушным резервуаром ГВ. В корпусе 16 помещен направляющий клапан 13; клапан 14 из нержавеющей стали удерживается в верхнем положении пружиной 12. В таком положении этого клапана камера А соединяется с атмосферой.
При поступлении сжатого воздуха от выключающего электропневматического вентиля через отверстие в корпусе 16 поршень 18 из нержавеющей стали с уплотнительным кольцом 17 передвигается и пружиной 15 удерживается в верхнем положении. При этом сжатый воздух поступает в полость А, передвигая поршень 10 вправо и открывая доступ из резервуара переключателя в полость опорного изолятора и ду-гогасительную камеру.
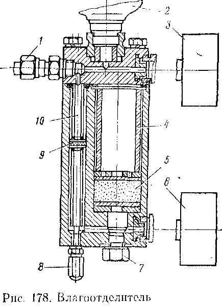
Вентиляция внутренней полости опорного изолятора и дугогаситель-тельной камеры осуществляется сжатым воздухом. Давление воздуха указывает манометр 6, установленный в нижней части влагоотделителя (рис. 178), предназначенного для очистки вентиляционного воздуха. Давление воздуха для вентиляции внутренних полостей изоляторов должно быть 5 кгс/см2, его регулируют болтом 8. Влагоотделитель через муфту 1 с гайкой соединен с воздушным резервуаром, давление воздуха в котором контролируют по манометру 3. К влагоотделителю присоединен предохранительный клапан 2.
Воздух из резервуара поступает в вертикальный канал 10. В середине канала находится стальное кольцо 9 с войлочным уплотнением и фильтрами из тонкого слоя раскрошенного кварца. В трубе ^расположен фильтр 5 для очистки воздуха, состоящий из слоя кварца. Пробка 7 предназначена для спуска влаги. Общий расход воздуха для вентиляции 50 л/ч.
Пневматический привод разъединителя (рис. 179) установлен под опорной плитой ГВ. В алюминиевый цилиндр 1 вставлена бронзовая втулка 2, в которой перемещается алюминиевый поршень 9, переходящий в поршне-

вой стержень. Поршень в цилиндре уплотнен бронзовым кольцом. В середине поршневого стержня имеется цапфа 8, выступающая из цилиндра и снабженная роликом, который переводит поступательное движение поршня во вращательное движение разъединителя при помощи рычага кулисы 7. В крайних положениях разъединитель фиксирует пружина 4, расположенная на тяге 3, которая соединена с рычагом 5 поворотной цапфы 6.
Отключение главного выключателя производится либо нажатием кнопки «Выкл. ГВ» на пульте управления электровозом (оперативное отключение), либо происходит под действием аппаратуры защиты (автоматическое отключение).
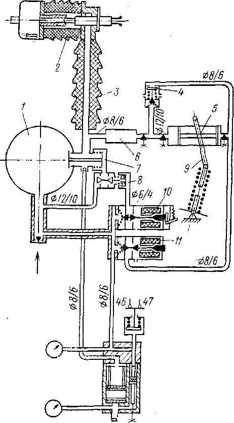
Включение главного выключателя происходит следующим образом (рис. 180). При подаче напряжения на катушку включающего электропневматического вентиля 10 сердечник вентиля откроет пусковой клапан и сжатый воздух из резервуара 1 по трубке диаметром 8/6 мм поступит в цилиндр 5 привода разъединителя со стороны правого поршня. Одновременно сжатый воздух попадает в выпускной клапан 4, который соединяет пространство под левым поршнем привода с атмосферой. Поршни в приводе переместятся в крайнее левое положение, поворотный изолятор кулисным механизмом 9 поворачивается и разъединитель включается..
С приводом разъединителя связаны блок-контакты ГВ. Один из них после включения разъединителя прерывает цепь включающей катушки //, клапаны вентиля под действием

Рис. 179. Пневматический привод разъединителя

Рис. 180. Пневматическая схема управления главным выключателем и разъединителем
пружины перемещаются вправо, в результате чего правая полость цилиндра соединяется с атмосферой. Разъединитель остается включенным благодаря фиксирующему воздействию пружины.
Отключение главного выключателя происходит при прекращении питания выключающего электропневматического вентиля 10, когда сжатый воздух из резервуара / поступит под" поршень пускового (каскадного) клапана 8, который в свою очередь откроет доступ воздуха под поршень главного гасящего клапана 7. Сжатый воздух из резервуара через полый изолятор 3 поступит в дугогасительную камеру 2, где происходит отключение контактов. Возникающая при этом электрическая дуга растягивается и выдувается в атмосферу. Одновременно сжатый воздух поступит из резервуара в пневматический привод 5 разъединителя. Для того чтобы контакты разъединителя размыкали обесточенную цепь, т. е. после погасания дуги в дугогасительной камере, предусмотрено замедленное наполнение воздухом пневматического привода, для чего установлена камера 6. Поршень привода, а следовательно, и нож разъединителя при размыкании начинают движение с задержкой на 0,03—0,04 с относительно начала движения дугогасительных контактов.
Вместе с изолятором разъединителя поворачиваются сигнальные сегменты. Четырехгранный вал, на котором они расположены, приводится во вращение с помощью рычага, установленного на кулисе пневматического привода разъединителя.
Подсоединение цепи управления ГВ к низковольтным цепям электровоза осуществляется на рейке зажимов, смонтированной под опорной плитой выключателя.
Технические данные главных выключателей 2БУУ-25А1 и 2БУУ-25А2 следующие:
Номинальное напряжение....... 25 кВ
Длительный ток . ,........... 400 А
Номинальный ток отключения...... 10000 »
Кратковременный ток отключения при к. з. 25000 »
Диапазон рабочих давлений сжатого воздуха 6,5—9 кгс/см2
Разрывная мощность при давлении 9 кгс/см2 250 мВА
Собственное время отключения..... 0,04 с
Номинальная мощность вентилей:
включающего.......... 150 Вт
выключающего......., . . 10 »
Напряжение цепей управления..... 48 В
Масса выключателя.......... 275 кг
В процессе эксплуатации главный выключатель должен подвергаться периодическим осмотрам не реже одного раза в 3—4 дня. При его осмотре следует обращать внимание на чистоту и целостность изоляторов. Ножи разъединителя не должны иметь следов оплавления. Зачистку ножей и контактов контактной головки следует производить наждачным полотном. После зачистки ножи протереть технической салфеткой, смоченной в бензине, затем смазать техническим вазелином.
Изоляторы также протереть техническими салфетками. Контрольным ключом проверить затяжку болтов, фланцев, изоляторов, надежность контактов разъединителя в крайних положениях. Внимательно осмотреть состояние аппаратуры управления главным выключателем.
Стрелка нижнего манометра не должна находиться ниже красной отметки 1,2 кгс/см2. Если она стоит на делении 0, необходимо сменить или прочистить фильтр продувки. Следует убедиться в отсутствии утечки воздуха.
Значительное обгорание контактов разъединителя свидетельствует об ослаблении контактного нажатия или о наличии причин, вызывающих нарушения временной связи в отключении ножей разъединителя по отношению к контактам в дугогасительной камере.
Не реже одного раза в 1,5 месяца ГВ следует подвергать периодической ревизии. При этом необходимо: произвести весь объем работ, предусмотренный технологическими картами; вскрыть дугогасительную камеру; проверить чистоту внутренних поверхностей изоляторов, состояние контактов. При незначительном их оплавлении произвести зачистку, при значительном повреждении заменить контакты.
После окончания периодической ревизии проверить работу ГВ при действии электропневматических вентилей, реле давления, а также при действии защит. Смазать трущиеся детали слоем смазки ЦИАТИМ-201.
Во время подъемочного ремонта, но не реже одного раза в год ГВ нужно подвергать капитальной ревизии, при этом производить его полную разборку. Проверить состояние всех деталей с тщательной очисткой их от грязи. В случае необходимости произвести ремонт или замену отдельных деталей.
Испытания ГВ надлежит производить на стенде проверки и регулировки аппаратов переменного тока. При этом необходимо:
испытать при оперативном отключении и включении, при автоматическом отключении, для чего надлежит подать импульс тока на катушку импульсного выключающего электропневматического вентиля при давлении в воздушном резервуаре 9 кгс/см2, при этом время от размыкания контактов в дугогасительной камере до размыкания контактов разъединителя должно быть 0,03—0,035 с. При проверке пневматической системы определить утечки воздуха. При давлении 9 кгс/см2 снижение давления в резервуаре за счет утечек не должно превышать 1 кгс/см2 за 1 ч или 0,1 кгс/см2 за б мин;
проверить работу электропневматических вентилей при давлении 9 кгс/см2 и напряжении 33 В, надежность выключения и включения ножа разъединителя при давлении 6,5 кгс/см2;
проверить и отрегулировать реле давления воздуха, с тем чтобы контакты его замыкались при увеличении давления в резервуаре до 7,2_02 кгс/см2 и размыкались при снижении давления в резервуаре до 6,'5_о12 кгс/см2;
испытать электрическую прочность изоляции переменным током в течение 1 мин при напряжении 60 кВ и цепи управления при напряжении 1 кВ.
|
|