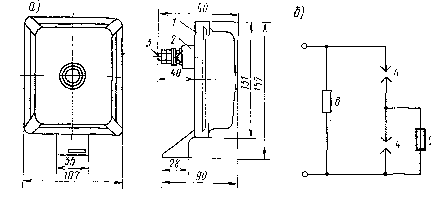
На крыше электровоза ЧС2 установлен вентильный разрядник типа РхМВУ-3,3 (магнитный, вентильный, униполярный) на номинальное напряжение 3,3 кВ. Основными частями являются искровые промежутки ЯП (рис. 178), постоянные магниты 5 и нелинейный резистор 10, выполненный из двух вилитовых дисков диаметром 150 мм, высотой по 60 мм каждый. Вилит обладает свойством уменьшать свое сопротивление при увеличении приложенного к нему напряжения (при увеличении тока).
Искровой промежуток представляет собой два электрода 21 и 22, помещенных между постоянными магнитами 5; стенки 20 образуют дугогасителькую камеру; изоляционная перегородка 19 служит для удлинения дуги, растягиваемой под действием магнитного поля постоянных магнитов. Параллельно искровым промежуткам присоединены шунтирующие нелинейные резисторы. Все перечисленные части помещены в фарфоровый корпус 13, нижняя часть которого с помощью цементного раствора вделана во фланец 16, являющийся основанием разрядника. Между колпаком корпуса 13 и дисками резистора 10 помещена пружина 12 (сжимающая эти диски), фиксатор 9, распорная крышка 8, магниты 5, дугогасящие камеры и упорная крышка 4. Снизу разрядник закрыт стальной крышкой /, укрепленной болтами 3. Между вилитовыми дисками и стенками корпуса 13 помещены цилиндр 6 и фетровые прокладки 11,
препятствующие горизонтальному перемещению дисков. Каждый искровой промежуток шунтирован двумя высокоомными резисторами 7.
Герметичность разрядника обеспечивается прокладками 2 и 15, изготовленными «з морозостойкой резины.
К зажиму 14 прикреплен регистратор типа РВР, включенный между токоприемником и разрядником; проводник, соединяющий разрядник с «землей», крепится к фланцу 16 болтом 18.
Когда между токоприемником и землей возникает перенапряжение, достигающее 9—10 кВ, искровые промежутки ИП пробиваются и контактная сеть оказывается соединенной с рельсами только через ограничивающий резистор 10. Вследствие того что с увеличением напряжения сопротивление этого резистора уменьшается, падение напряжения на нем при протекании большого тока, вызванного перенапряжением, возрастает мало и нет опасности пробоя изоляции аппаратов и машин.
После снижения перенапряжения дуга в искровых промежутках поддерживается рабочим напряжением контактной сети, но так как при этом сопротивление вилита увеличивается, то величина сопровождающего тока при напряжении в контактной сети 3,6—3,9 кВ устанавливается около 25—40 А. Через 4—5 с дуга от сопровождающего тока гаснет и разрядник снова готов к действию. При повы-

Рис. 178. Разрядник РМВУ-3,3 (а), схема соединения его дугогасительного устройства (б) и схема расположения электродов искрового промежутка в дугогасительной камере разрядника (в)

Рис. 179. Общий вид (а) и схема (б) регистратора срабатываний РВР
шении давления внутри разрядника до 5 кгс/см2 срабатывает предохранительный клапан 17 и выпускает часть .смеси воздуха и газов.
Если перенапряжение возникло в контактной сети, то при пробое искрового промежутка часть энергии перенапряжения поглощается в самой сети и рельсах, а часть в разряднике. Если же оно вызвано на самом электровозе, то вся его энергия полностью поглощается разрядником.
Разрядник крепится к деревянным брусьям четырьмя шпильками М10Х60 мм; между разрядником и брусьями проложено по шесть резиновых шайб; по четыре таких же шайбы помещены между нижними гайками и брусьями. Сделано это для амортизации ударов, передающихся от кузова к разряднику. Разрядник закрыт металлическим кожухом, препятствующим падению с крыши частей разрядника при разрушении фарфорового корпуса; такое ненормальное явление вызывается непогасанием дуги.
Разрядник РМВУ-3,3 рассчитан на максимальное напряжение в контактной сети 4,2 кВ; разрядник весит 24,5 кг.
Для регистрации числа срабатываний разрядника служит регистратор РВР (рис. 179). Он состоит из корпуса 2, закрытого крышкой / со стеклянным «глазком». Кабель крепится к контактной шпильке 3. Внутри прибора расположены два искровых промежутка 4, отсчетный барабанчик с пружинным заводом и плавкими вставками 5 и резистор 6 (0,5—5 кОм). Десять плавких вставок выполнены из нихромовой проволоки диаметром 0,1 мм. После сгорания девяти вставок в «глазке» появляется красная риска, сигнализирующая о необходимости заменить сгоревшие вставки.
|
|