Изменение направления движения и отключение тяговых двигателей на электровозах ЧС4 осуществляют с помощью блока 11 РІЧ реверсора с переключателем режимов работы тяговых двигателей (X — О—«Ход—^Отключено»). На электровозах до ЧС4-012 и электровозах ЧС4Г указанные функции выполняет конструктивно подобный блок (тип РРА1), который, кроме того, используют для переключения цепей электровоза из тягового режима в режим реостатного торможения (X—Т—«Ход—■ Торможение»). В связи с этим блок типа РРА1 имеет большее число силовых контактов. Принципы действия блоков ПРИ и РРА1 аналогичны, поэтому рассмотрим устройство и работу только блока ПРИ (рис. 183).
Реверсор включен в цепь обмоток возбуждения тяговых двигателей, а переключатели режимов — в цепи якорей. Принципиально и реверсор, и переключатели являются групповыми переключателями с ножевыми контактами и пневматическим приводом. Они отличаются друг от друга только формой ножей и числом неподвижных контактов. Пневматический привод обоих аппаратов двухпозиционный, поэтому они имеют по два фиксированных положения: реверсор Вп — «Движение вперед» и Нз — «Движение назад», переключатели режимов работы X —- «Ход» и О — «Отключено». Реверсором можно управлять вручную с помощью четырехгранника со стороны пневматического привода, а переключателями режимов работы тяговых двигателей —

постановкой в положение ПМ (ручное выключение). Так как реверсоры и переключатели режимов работы не имеют дугогасительных устройств, то кулачковые элементы обеспечивают возможность их переключения только при обесточенной силовой цепи электровоза.
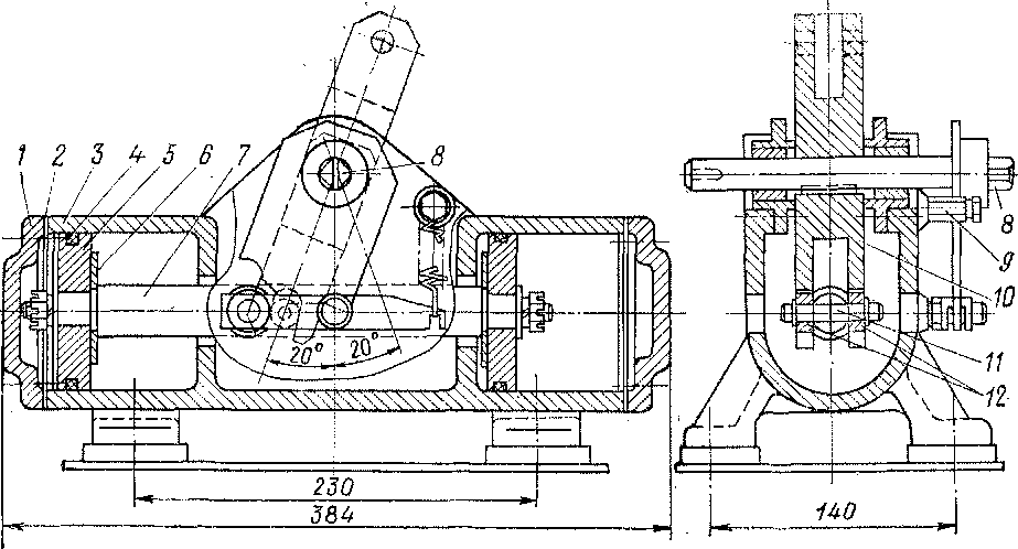
Всего на электровозе ЧС4 имеется два блока 11PR (как и на электровозах ЧС4Т — два блока РРА1 — по одному на группу тяговых двигателей каждой тележки. Все детали блока смонтированы на сварном каркасе 1, который установлен вертикально в шкафах в машинном помещении электровоза. В нижней части блока расположен реверсор, в верхней—переключатели режимов работы тяговых двигателей. Конструктивно эти аппараты аналогичны. С пневматическим приводом 5 шар пир но связаны тяги 4, которые поворачивают валы 10 с насаженными на них подвижными ножевыми контактами 8. Соседние ножи соединены между собой изоляционными муфтами 9. Неподвижные контакты 7 укреплены на изоляционных планках 6. На крайние валы реверсора и на все валы переключателей режимов работы насажены бакелитовые кулачковые шайбы 3, замыкающие и размыкающие в определенной последовательности кулачковые элементы 2 типа 5SV, контакты которых включены в цепи управления электровозом.
На валах переключателей режимов работы имеются рукоятки 11, позволяющие отключать каждый тяговый двигатель вручную. При нормальной работе электровоза все разъединители подключены к пневматическому приводу; в этом случае рукоятки находятся в положении X и зафиксированы пружинными кнопками. Если требуется отключить какой-либо тяговый двигатель, то рукоятки устанавливают в положение ручного выключания ПМ и фиксируют пружинными кнопками.
Силовые контакты переключателей режимов работы и реверсоров показаны на рис. 184. Сваренный из медной шины нож подвижного контакта 4 во включенном положении входит между пальцами неподвижного контакта 3, также изготовленного из меди. Для обеспечения минимальных электрических потерь контакты покрыты тонким слоем серебра. Контактное давление создается пружинами / /.Для подключения токоведущих шин служат болты 10. Контактные пальцы установле-

Рис. 184. Силовые контакты переключателей режимов работы тяговых двигателей X—О (а) и реверсора (б)

Рис. 185. Пневматический привод реверсора и переключателей режимов работы тяговых двигателей
ны на стеклотекстолитовой изоляционной планке 2, которую с помощью уголков / монтируют на каркасе блока. К планке также прикреплены алюминиевые щиты 9, в отверстия которых через втулки 12 вставлены стальные валы 6. На валах шпонками 7 закреплены изоляционные муфты 8 из стеклотекстолита, связанные между собой шпильками 5.
Пневматические приводы (рис. 185) реверсоров и переключателей режимов работы тяговых двигателей одинаковы. Привод состоит из чугунного цилиндра 3, закрытого с двух сторон крышками 1. Для уплотнения рабочих камер привода между цилиндром и крышками проложены клингеритовые прокладки 2. Внутри цилиндра находятся два стальных поршня 5 с резиновыми манжетами 4 и уплотнительными шайбами 6. Поршни соединены между собой стальным штоком 7, к средней части которого шарнирно прикреплена кулиса 10. Для направления кулисы служит цапфа 11 с двумя текстолитовыми роликами 12. Кулиса может отклоняться в обе стороны от вертикальной оси на 20°, поворачивая на такой же угол валы 8 с ножевыми подвижными контактами; положение кулисы определяется поршнями, которые при впуске сжатого воздуха в одну из рабочих камер перемещаются и фиксируются в одном из крайних положений. Подачу сжатого воздуха в левую или правую рабочие камеры по трубкам 9 производят два электропневматических вентиля 8VZ (VTM2—на электровозах Начиная с ЧС4-162).
Технические данные блоков 11PR и РРА1 следующие:
Номинальное напряжение силовых контактов 1200 В Длительно допустимый ток силовых контактов ............... 1250 А
Испытательное напряжение по отношению
к каркасу............ 5400 В
Контактное нажатие......... 4 кгс ±10%
Номинальное напряжение цепи управления 48 В
Номинальный ток блок-коитактов .... 6 А
Номинальное давление сжатого воздуха . 3,5 кгс/см2
|
|