Установленные на электровозе ЧС4 индивидуальные контакторы по системе привода делятся на два типа: электропневматические, используемые в силовой цепи электровоза; электромагнитные, применяемые в цепи вспомогательных машин.
Электропневматические контакторы. Для включения и отключения резисторов ослабления поля тяговых двигателей предназначены электропневматические контакторы ЗБВЬ На электровозах начиная с ЧС4-062 используют контакторы 38ВЗ и 35В4, конструктивно подобные контакторам 35В1. В связи с тем что эти контакторы разрывают токи цепей, включенных параллельно обмоткам возбуждения тяговых двигателей, где напряжение мало (не более 10В), они выполнены без ду-гогашения.
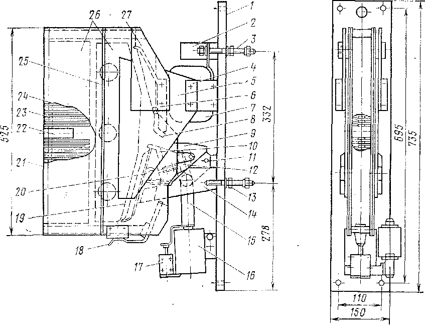
Всего на электровозе имеется шесть контакторов 35В1, включением которых в различных комбинациях обеспечивается пять режимов ослабления поля тяговых двигателей. Контактор 35В1 (рис. 193) является трехполюсным контактором постоянного тока, причем к каждой паре контактов подключен один из трех параллельно соединенных тяговых двигателей. Таким образом обеспечивается одновременное включение позиций ослабления поля группы тяговых двигателей каждой тележки. Контактор смонтирован на изоляционной панели / из стеклотекстолита, которая четырьмя болтами М12 крепится в шкафу в машинном помещении электровоза. На трех держателях 8 установлены разрезные неподвижные контакты 9. Подвижные контакты 10 также разрезные, укреплены на держателях 7, которые могут поворачиваться на валиках 4, пропущенных через отверстия в рычагах 6, Рычаги в свою

очередь могут вращаться вокруг валиков 3 в кронштейнах 2. Между держателями подвижных контактов и рычагами помещена притирающая пружина 5. Контакты изготовлены из меди, а держатели, рычаги и кронштейны отлиты из бронзы.
Силовые зажимы контактора расположены с задней стороны изоляционной панели и ввернуты в держатели неподвижных контактов и в кронштейны. Чтобы ток от подвижных контактов не проходил к кронштейнам через валики 3 и 4, держатели подвижных контактов соединены с кронштейнами гибкими медными шунтами 11. Рычаги шарнирно соединены с изоляционными тягами 12, связанными стержнем 13 с пневматическим приводом. Пневматический привод состоит из электропневматического вентиля 18 типа 8VZ (УТМ2 — на электровозах начиная с ЧС4-162) с воздухораспределителем 17 типа 5УС. Внутри цилиндра воздухораспределителя помещены поршень и выключающая пружина. К изоляционным тягам 12 прикреплен кронштейн 14, переключающий с помощью штока 15 блок-контакты 16.
Включение контактора происходит при возбуждении электропневматического вентиля. В этом случае сжатый воздух поступает в цилиндр пневматического привода и перемещает поршень до упора, тяги поднимаются вверх, рычаги и держатели поворачиваются и силовые контакты замыкаются. Переключаются также блок-контакты. При наличии воздуха контактор можно включить вручную нажатием кнопки на вентиле. Отключение контактора происходит после прекращения возбуждения катушек вентиля (или отпускания кнопки), когда сжатый воздух из камеры цилиндра выходит в атмосферу. При этом поршень под действием выключающей пружины возвращается в исходное положение, а силовые контакты размыкаются.
Основные технические данные контакторов ослабления поля ЗвВ!, ЗБВЗ и ЗБВ4 следующие:
Номинальный ток ~ 700 А
Номинальное напряжение....... 10 В
Разрыв силовых контактов....... 22 мм
Контактное нажатие......... 10—12 кгс
Номинальное давление сжатого воздуха . 3,5 кгс/см2
Номинальное напряжение цепи управления 48 В
Номинальный ток блок-контактов .... 6 А Испытательное напряжение блок-контактов
по отношению к корпусу....... 1000 В
Масса контактора ЗБВI........ 37,0 кг
То лее 35ВЗ........ 36,7 »
» 35 В4........ 38,6 »
Электропневматический контактор 7БР1 (рис. 194) установлен в цепи отопления.поезда от электровоза. Так как контактор предназначен для разрыва больших токов при высоком напряжении, он снабжен дугогасительной системой. Принципиально контактор типа 7БР1 является однополюсным контактором переменного тока с электромагнитным дугогашением. По своей конструкции он сходен с описанным контактором постоянного тока типа 35>В1. Применен такой же пневматический привод 16, с которым через стеклотекстолитовую изоляционную тягу 15, латунный рычаг 9 и держатель // связан разрезной подвижной контакт 10, изготовленный из меди. Держатель подрессорен притирающей пружиной 12. Подвод тока к подвижному контакту осуществляется через гибкий медный шунт 20 и латунный кронштейн 14, в который ввернута стальная шпилька 13, являющаяся силовым зажимом контактора. На кронштейне укреплен нижний дугогаситель-ный рог 19. Верхний дугогасительный рог 6 является одновременно держателем медного разрезного неподвижного контакта 8. К неподвижному контакту присоединен один вывод из медной шины, намотанной на стальной шихтованный сердечник 4. Другой вывод катушки 7 крепится к латунному угольнику 2 стальной шпилькой 3, которая служит

Рис. 194. Электропневматический контактор 7SP1
вторым силовым зажимом контактора. Обе шпильки 3 и 13 выведены с задней стороны изоляционной панели /.
Гашение дуги происходит в дугогасительной камере 21 щелевого типа, состоящей' из асбоцементных боковин 26. Внутри камера разделена двумя асбоцементными перегородками 25 и снабжена деиониза-ционной решеткой, собранной из стальных полос 24, и асбоцементных вставок 23. Решетка в свою очередь разделена асбоцементной прокладкой 22. Боковины стянуты латунными шпильками, изолированными гетинаксовыми трубками.
Дугогасительная камера шарнирно укреплена на держателе 27 и в рабочем положении установлена между полюсными наконечниками 5. В этом положении дугогасительную камеру фиксируют изогнутой пластиной 18 с винтом. В нижней части контактора установлены блок-контакты 17.
Технические данные контактора 7БР1 следующие:
Номинальный ток.......... 400 А
Номинальное напряжение....... 3000 В
Испытательное напряжение по отношению
к корпусу ............ 8750
Разрыв силовых контактов....... 24 мм
Контактное нажатие ........ 9—12 кгс
Номинальное давление сжатого воздуха . 5 кгс/см2
Номинальное напряжение цепи управления 48 В
Номинальный ток блок-контактов .... 6 А Испытательное напряжение блок-контактов
по отношению к корпусу....... 1000 В
Масса............... 51,5 кг
Электропневматические контакторы 25УА01 и 38УА01 использованы только на электровозах ЧС4Т, где они осуществляют переключе ния в цепях реостатного тормоза. Контакторы 2§УАЪ\ и 35УА01 конструктивно одинаковы. Они выполнены с двойной системой контактов — главными и разрывными. Кинематическая схема контактора выбрана так, что в замкнутом положении главные и разрывные контакты включены параллельно. Ток проходит в основном по главным контактам. При отключении контактора сначала размыкаются главные контакты, и ток продолжает проходить через разрывные контакты. Затем цепь тока размыкается разрывными контактами, расположенными в зоне магнитного поля дугогасительной катушки.
При включении контактора сначала замыкаются разрывные контакты, а затем главные. Таким образом, замыкание и размыкание главных контактов происходит без тока. Отметим, что подобный принцип использован в кулачковых контакторах с дугогашением главного контроллера ЭКГ-8 на отечественных электровозах переменного тока.
Контактор 2БУАВ1 (рис. 195) смонтирован на изоляционных панелях 2 из стеклотекстолита, которые с помощью уголков 1 и планки 13 крепятся в шкафу в машинном помещении электровоза. Подвод тока осуществляется по расположенным с обеих сторон контактора ^двум Ь-об-разным медным шинам 9. На концах шин, находящихся между изоляционными панелями, приварены неподвижные главные контакты из содержащего серебро сплава. Подвижными контактами служит тройной
мостик 10 из меди. Контактное нажатие обеспечивают пружины //, опирающиеся на стальную подкладку 12. Мостиковые контакты через тягу 8 кинематически связаны с алюминиевым держателем 21 разрывного подвижного контакта 22. Неподвижный разрывной контакт 23 установлен на алюминиевом держателе 24, связанном с дугогаситель-ной катушкой 25. Контактное давление разрывных контактов создает прижимной механизм, включающий в себя пружину 7 с тягой 6, соединенной с держателем подвижного разрывного контакта и с рычагом 5. Рычаг может поворачиваться в шарнире 4.
Электрическое соединение разрывных контактов с главными выполнено медными гибкими шунтами 3. Такими же гибкими шунтами 27 разрывные контакты соединены с дугогасительной катушкой. Гашение дуги происходит в дугогасительной камере 19 щелевого типа, устроенной аналогично камере электропневматического контактора 75Р1. Она состоит из асбоцементных стенок и снабжена деионизационной решеткой. В рабочем положении дугогасительная камера установлена между полюсными наконечниками 20 и фиксируется в нижней части винтами с фасонной головкой. Для увеличения срока службы дугога-сительных рогов 18, 26 их концы изготовлены из специальных сплавов.
Контактная система контактора приводится в действие пневматическим приводом, конструкция которого мало отличается от использованных в других электропневматических контакторах электровозов ЧС4 и ЧС4Т. Включение контактора происходит при возбуждении электропневматического вентиля 17 типа УТМ2; отключение осущест-

Рис. 195. .Электропневматический контактор SVAD1
вляется с помощью пружины, расположенной внутри цилиндра 16 воздухораспределителя.
Включение и выключение блок -контактов 14 производит стекло-текстолитовая планка 15, механически связанная с приводом главных контактов. Технические данные контактора следующие:
Номинальный ток.......... 1250 Л
Номинальное напряжение....... 1500 В
Испытательное напряжение по отношению
к корпусу............ 5375 »
Разрыв главных контактов....... 11 ±0,5 мм
Контактное нажатие главных контактов . 3X6 кгс
Контактное нажатие силовых контактов . 2,8—3,2 »
Разрыв разрывных контактов...... 14+1 мм
Номинальное давление сжатого воздуха . 3,5 кгс/см2
Номинальное напряжение цепи управления 48 В
Номинальный ток блок-контактов .... 6 А Испытательное напряжение блок-контактов
по отношению к корпусу...... 2000 В
Масса............... 37,6 кг
Электромагнитные контакторы позволяют осуществлять пуск вспомогательных машин при отсутствии сжатого воздуха на электровозе.
В цепях вспомогательных машин, питающихся пульсирующим током (мотор-компрессоров и мотор-вентиляторов), установлены, шесть контакторов 415М1. На электровозах ЧС4-002—011 имеются восемь электромагнитных контакторов 415М1 в связи с наличием двух дополнительных вентиляторов для охлаждения сопротивлений реостатного тормоза. Переключение напряжения питания вспомогательных машин переменного тока обеспечивается двумя контакторами 395М1. Пуск и выключение вспомогательных машин переменного тока, а также вспомогательного мотор-компрессора производится семью малыми контакторами типа У03с-009. На электровозах начиная с ЧС4-077 используются также контакторы У13с-005, рассчитанные на большой номинальный ток (40А). Еще один контактор У03с-009 установлен в низковольтной цепи управления вспомогательными машинами.
На электровозах ЧС4Г в цепях мотор-вентиляторов маслоохладителей тягового трансформатора, мотор-насосов и в системе кондиционирования воздуха в кабинах машиниста использованы контакторы 18ЛУШ (один контактор 18МАБ2 и по два — 15МАБЗ и 18ЛШ)4).
Конструктивно контакторы ЗЭЭЛИ (рис. 196) и 415М1 аналогичны; отличаются только дугогасительные камеры в связи с тем, что контакторы рассчитаны на разные номинальные токи. Поэтому рассмотрим только контактор 398М1. Принципиально он представляет собой однополюсный электромагнитный контактор клапанного типа с электромагнитным дугогашением. Магнитопровод (ярмо) 19 набран из листовой П-образной электротехнической стали и установлен на литом чугунном кронштейне 22, который укреплен на изоляционной стеклотекстолите-вой плите 1. На один стержень ярма надета включающая катушка 18. Подвижная система контактора состоит из якоря 16, скрепленного болтом с рычагом 15, отлитым из чугуна. Рычаг имеет две консоли, на которые постоянно действует усилие отключающих пружин 23, стремя-
щихся повернуть его вокруг валиков 21. Поворот рычага ограничивает втулка 17 из прессованной бумаги. Натяжение пружины осуществляется регулировочным болтом 24. На другом конце рычага установлен подвижной контакт И. Контактное давление и притирание обеспечивает притирающая пружина 13 с регулировочным винтом 14. Ток к подвижному контакту подводится по гибкому медному шунту 20, второй конец которого через латунную подкладку 25 связан со стальной шпилькой 26, являющейся силовым зажимом контактора. Другим силовым зажимом служит стальная шпилька 27, ввинченная в латунную подкладку 2. К этой подкладке присоединен один вывод дугогасительной катушки 7 из шинной меди, намотанной на стальной сердечник 8. Второй вывод дугогасительной катушки крепится к латунному держателю 3 неподвижного контакта-9.
Дугогашение происходит в щелевой дугогасительной камере 10, состоящей из двух штампованных керамических (керитовых) плит, соединенных латунными заклепками. При отключении контактора дуга электромагнитным полем дугогасительной катушки вытесняется на рога 5 и 12 и затем разрывается. Крепление дугогасительной камеры на контакторе осуществляется с помощью полюсных наконечников 4 и пластин 6.
Включение контактора производится подачей постоянного напряжения на включающую катушку. При этом якорь притягивается к ярму,

и силовые контакты замыкаются. Для уменьшения габаритных размеров и облегчения включающей катушки последовательно с ней при работе контактора включается добавочный резистор 28. Его подключение осуществляется с помощью блок-контактов 29, на шток которых действует планка 30, связанная с рычагом 15.
Выключение контактора происходит при обесточивании включающей катушки. Дугогасительная камера контактора 418М1 (рис. 197) изготовлена из асбоцемента и имеет большие габаритные размеры, чем камера контактора ЗЭБМЛ
Основные технические данные электромагнитных контакторов 398М1 и 418М1:
Номинальный ток контактора 39SM1 . . . 150 А
То же 41SM1 ............ 200 »
Номинальное напряжение....... 220 В
Испытательное напряжение по отношению
к корпусу............ 2500 »
Разрыв силовых контактов...... 5 мм
Контактное нажатие силовых контактов . 1,5 кгс ■
Номинальное напряжение цепи управления 48 В Номинальный ток блок-контактов .... 6 А
Испытательное напряжение блок-контактов
по отношению к корпусу...... 1000 В
Сопротивление включающей катушки . . 105 Ом Сопротивление добавочного резистора . . 68 »
Масса контактора 39SM1....... 12,27 кг
То же 41SM1............ 14,21 »
Электромагнитный контактор V03c-009 (рис. 198) представляет собой трехполюсный контактор с двойным разрывом дуги. Магнитная система контактора — катушка 1 и магнитопровод 2 — помещена в металлическом корпусе 7. Сверху на корпусе установлена щелевая дугогасительная камера 5, в которой находятся неподвижные 6 и подвижные мостиковые 4 силовые контакты. Контакты изготовлены из латуни и покрыты слоем серебра. Притирающая пружина 3 обеспечивает необходимое контактное нажатие. С подвижной системой контактора связан шток 9 блок-контактов 10. Всего контактор имеет два замыкающих и два размыкающих блок-контакта. Перестановка блок-контактов не допускается.
На торцовой стороне корпуса контактора имеется окно 8, указывающее положение силовых контактов: / — включено, 0 — выключено.
Основные технические данные контактора V03c-009 следующие:
Номинальный ток.......... 15 и 25 А
Номинальное напряжение....... 500 В
Разрыв силовых контактов......' 1,8±0,2 мм
Контактное нажатие силовых контактов . 0,42 кгс
Номинальное напряжение цепи управления 48 В
Номинальный ток блок-контактов .... 6 А
Разрыв блок-контактов........ 1 мм
Контактное нажатие блок-контактов . . . 0,06 кгс
Количество срабатываний (рабочих циклов) 106
Масса............... 1,15 кг
Применяемые на электровозах ЧС4Т контакторы 18МАВ2, 18МАБЗ и 18МАБ4 конструктивно аналогичны; отличие состоит в количестве полюсов (18МА02 — трехполюсный, 18МАБЗ и 18МАВ4 — однополюсные) и величинах номинальных токов. Поэтому рассмотрим только контактор 18МА02 (рис. 199).
Принципиально он представляет собой электромагнитный контактор плунжерного типа с мостиковыми силовыми контактами и электромагнитным дугогашением. Катушка 2 контактора помещена в стальном кожухе 1. Подвижная система контактора состоит из якоря 5, скрепленного со стальной планкой 17, которая через систему рычагов кинематически связана с мостиковыми подвижными контактами 6. С планкой 17 шарнирно соединены стальные плечи 18, которые через валики опираются на стальные опоры 20. С другой стороны плечи 18 шарнирно связаны со стеклотекстолитовой П-образной планкой 19, на которой укреплены латунные хомуты 16 с подвижными мостиковыми контактами 6. Контактное нажатие и притирание обеспечивают притирающие пружины 15. Неподвижные контакты 7 винтами укреплены на латунных держателях 8. Подвижные и неподвижные контакты изготовлены из меди, покрытой серебром. Крепление токоподводящих кабелей к контакторам производится латунными болтами Мб. К токовому зажиму подсоединен один вывод 14 дугогасительной катушки 13 из шинной меди, намотанной на стальной сердечник 12. Второй вывод дугогасительной катушки крепится к держателю 8 неподвижного контакта 7.
Дугогашение происходит в щелевой дугогасительной камере 10, состоящей из двух асбоцементных боковин, соединенных латунными заклепками. Крепление дугогасительных камер на контакторе осуществляется с помощью полюсных наконечников 9 и пластин 11.

Рис. 198. Электромагнитный контактор У03с-009

Рис. 199. Электромагнитный контактор 18МАБ2
Включение контактора производится подачей постоянного напряжения на катушку. При этом якорь втягивается в катушку, и силовые контакты замыкаются. Одновременно происходит переключение блок-контактов 3, на штифт которых действует планка 4, связанная с якорем.
Выключение контактора происходит при обесточивании^ катушки под действием пружин 21, связанных-с П-образной планкой 19.
Основные технические данные контакторов 18МА02 — 18МА04:
Номинальный ток контактов 1БМАБ2,
18МАВ4............. 60 А
То же [ЭМАБЗ ........... 25 »
Номинальное напряжение....... 400 В
Испытательное напряжение но отношению
к корпусу............ 1800 »
Разрыв силовых контактов...... 2,5 мм
Контактное нажатие силовых контактов . 1,5 кгс Номинальное напряжение цепи управления 48 В
Номинальный ток блок-контактов .... 6 А
Испытательное напряжение блок-контактов
по отношению к корпусу...... 2500 В
Сопротивление катушки контактора 1БМАБ2 108 Ом
То же контакторов 1БМАБЗ и 18МАБ4 . . 132 »
Масса контактора 18МАБ2...... 8,8 кг
То же 1БМАБЗ........... 6,02 »
» 18МАБ4............ 5,95 »
Крепление контакторов на электровозе осуществляется четырьмя болтами Мб; на корпусе контакторов имеется заземляющий болт,
|
|