Электропневматические приводы различных аппаратов, песочниц и заслонок вентиляторов управляются электромагнитными вентилями (клапанами). На электровозе ЧС2 применяют два типа вентилей: 8VZ и 9VZ (рис. 201 и 202), отличающихся друг от друга размерами. Вентили 8VZ установлены на быстродействующем выключателе, реверсорах, разъединителях, заземлителе и у заслонки вентиляторов, вентили 9VZ использованы для управления клапанами песочниц. На пневматических приводах главного переключателя и переключателя ослабления возбуждения установлены вентили 8VZ, управляющие работой воздухораспределителей 5VC.
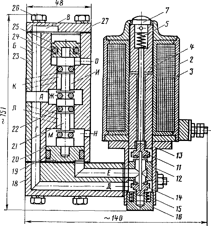
Электромагнитный вентиль состоит из электромагнита и пневматической головки. Электромагнит имеет сердечник / и кожух 2. На сердечник посажена катушка, состоящая из бакелитового каркаса 10 и обмотки 3.
Над сердечником помещен якорь 4, соединенный валиком 8 с кнопкой 7. Между кнопкой и стержнем 9 помещена пружина 5. Для того чтобы якорь 4 легче скользил и не «прилипал» к направляющей части кожуха 2, между ними помещена латунная втулка 6.
Пневматическая головка 13 отлита из алюминиевого сплава и своим верхним фланцем прикреплена к нижней части сердечника 1. Внутри головки помещены латунное седло 12 и два клапана 11 и 14, выполненные в виде латунных тарелок с привулканизи-рованным к ним уплотнением из масло- и морозостойкой резины. Между клапанами помещен штифт 17. Над верхним клапаном 11 в отверстие сердечника помещен стержень 9. На нижний клапан 14

постоянно действует нажатие пружины 15, опирающейся на пробку 16, ввернутую в головку 13.
К отверстию В подводится трубопровод от источника сжатого воздуха, от отверстия Б идет трубопровод к рабочему цилиндру аппарата, отверстие А сообщается с атмосферой.
Когда катушка электромагнитного вентиля не возбуждена (обесточена), то под действием силы пружины 15 клапан 14 (впускной) прижимается к своему седлу, а клапан 11 (выпускной) отходит от своего седла. При этом закрывается доступ сжатого воздуха от его источника (резервуара) в цилиндр, который в это время сообщен через выпускное отверстие А с атмосферой. Вместе с клапанами поднимается якорь 4 и образуется воздушный зазор между ним и сердечником /. При прохождении тока через обмотку катушки 3 вентиля появляется магнитный поток, который проходит через сердечник 1, кожух 2, якорь 4 и воздушный зазор. Как только магнитный поток достигнет определенной величины, при которой сила, притяжения якоря к сердечнику превзойдет сопротивление пружины 15, якорь притянется к сердечнику, нажмет на кнопку 7, а последняя через пружину 5 на стержень 9 выпускного клапана 11, а с ним вместе и на штифт 17 впускного клапана 14. Выпускной клапан сядет на седло и закроет выпускное отверстие. Впускной клапан опустится и откроет впускное отверстие и вместе с ним доступ воздуха из резервуара в цилиндр. После прекращения возбуждения катушки пружина поднимает впускной клапан в исходное положение, а выпускной клапан открывает выпускное отверстие. Наличие пружины 5 исключает жесткую связь между клапанами и якорем и облегчает получение одновременного приближения якоря к сердечнику и прижатия клапана // к своему седлу.
Основные технические данные электромагнитных вентилей
Тип вентиля............ 8У2 дУХ
Число витков катушки........ 6900 6000
Диаметр провода, мм......... 0,3 0,4
Длина » , м....... 770 810
Сопротивление катушки при 20° С, Ом . . 180 107
Номинальное напряжение, В...... 50 50
Максимальное напряжение, В ..... 58 58
Номинальный ток, А......... 0,27 0,45
Сечение входного отверстия В, мм2 ... 10 30
» выходного » Б, » . . . 10 30
» выхлопного » А, » . . . 15 45
Давление воздуха, кгс/см2....... 1—6 1—6
Зазор между седлом и выпускным клапаном, мм............. 0,85—1,15 1,8
Вес прибора, кг........... 1,75 2,75
Воздухораспределитель 5УС (рис. 203) состоит из корпуса 23, нижней 18 и верхней 27 крышек, нижнего 20 и верхнего 25 управляющих поршней с уплотняющими кольцами 19 и 24, штока 21 и четырех помещенных на нем колец 22. Поршни и шток изготовлены из латуни; кольца 24, 19 и 22 — из масло- и морозостойкой резины. Крышки к корпусу прикреплены болтами 26. К воздухораспредели-
телю через отверстие А подводят сжатый воздух. При невозбужденном электромагнитном вентиле клапан 14 разобщает каналы Д и Е и соединяет последний с атмосферой.
Сжатый воздух по каналам Б и В поступает в камеру над поршнем 25. Поэтому вся подвижная система (оба поршня и шток 21) занимает нижнее положение и сжатый воздух из канала А через каналы Ж, И и К поступает в соединенные с последним цилиндры. Другие цилиндры по каналам Л, М и Я в этом положении сообщены с атмосферой.
При возбуждении катушки 3 электромагнитного вентиля клапаны 11 и 14 опускаются вниз и канал Д сообщается с каналом Е. При этом сжатый воздух по каналам А, Г, Д и Е поступает под поршень 20. Так как диаметр поршня 20 больше диаметра поршня 25, то вся подвижная система поднимается вверх. При этом ранее соединенные с источником сжатого воздуха цилиндры каналами К, И и О сообщаются с атмосферой и, наоборот, цилиндры, которые были сообщены с атмосферой каналами А, Ж, М и Л, теперь связываются с источником сжатого воздуха.
Воздухораспределитель имеет проходное сечение для воздуха 50 мм2 и весит 4,65 кг.

Рис. 203. Электромагнитный вентиль 8VZ с воздухораспределителями типа 5VC
|
|