Чтобы через блокировочные контакты основных реле (реле максимального и реле минимального напряжения) не проходил большой ток, необходимый для включения БВ, в цепь его включающих катушек подсоединяют только блок-контакты промежуточного реле. Электромагнитные катушки этих реле получают питание через блок-контакты основных реле. К промежуточным реле относятся отключающее реле 331 быстродействующего выключателя (см. рис. 221* и 238*) и реле тока управления вспомогательными машинами 400. Эти реле (тип РХОШ) состоят из электромагнита и включающих контактов, рассчитанных на ток включения до 10 А и ток отключения до 8 А. Контакты изготовлены из вольфрама. Реле включается при напряжении на зажимах его катушки 36—50 В


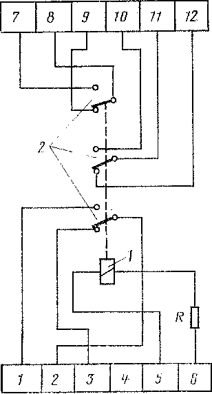
Рис, 205. Промежуточное реле [*Р-100
и отключается при напряжении 15—20 В. Катушка имеет сопротивление 1500 Ом±5%, максимальный зазор между контактами 1,2 мм, вес реле 1,5 кг. В качестве промежуточного реле сигнализации 542 о боксовании использовано двухобмоточное реле РчЬШ43, блокировочные контакты которого рассчитаны на ток 2 А. Катушки имеют сопротивление по 1500—1600 Ом. Последовательно одной из катушек, включен регулируемый резистор ТР626 на 560 Ом. Обычно его устанавливают на сопротивление 200 Ом. Параллельно двум последовательно включенным катушкам присоединен конденсатор ТС561 01-100/110-150 для получения прерывного включения контактов. Частота включения реле составляет 80—140 в минуту. Для исключения воздействия реле боксования на систему сигнализации и защиты при отключенных тяговых двигателях 3 или 4 на электровозах 34Е установлено аварийное реле 548, контакты которого исключают действие реле боксования 142. Аварийное реле. РчР-100 (рис. 205) состоит из электромагнита 1 и трех переключающих блок-контактов 2.
|
|