Электропневмати ч е с к и е вентили предназначены для управления подачей сжатого воздуха в пневматические приводы электрических аппа-

Рис. 216. Кулачковый элемент 5SV

Рис. 217. Блок-контакты
ратов и механизмов, а также для управления песочницами и звуковыми сигналами.
На электровозах ЧС4 применены электропневматические вентили включающего 8М2 и 9М2 закрытого исполнения, отличающиеся друг от друга размерами. На электровозах начиная с ЧС4-212 использованы вентили типов УТМ2 и УТМ5, которые отличаются от вентилей 8М2 и 9У2 только конструктивным оформлением отдельных деталей. Вентили 8У2 (УТМ2) установлены на электропневматических контакторах, реверсорах и пневматическом двигателе ПС. Вентили 9У2 (УТМ5) применены, для управления песочницами и звуковыми сигналами.
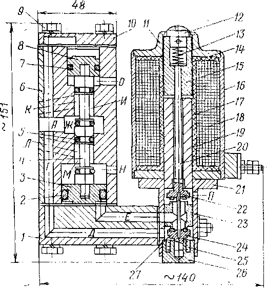
Электропневматический вентиль $42 (рис. 218) состоит пз пневматической головки 21, в которой помещены впускной 24 и выпускной 22 клапаны, и электромагнитной части,управляющей этими клапанами. Пневматическая головка отлита из алюминиевого сплава и своим верхним фланцем укреплена к нижней части сердечника 19. Внутри головки запрессована латунная втулка 23 с седлами для впускного и выпускного клапанов. Впускной и выпускной клапаны выполнены из латуни с привулканизированной к ним масло- и морозостойкой резиной.
В пневматической головке имеется три отверстия. Отверстие Д соединяет вентиль с источником сжатого воздуха. Отверстие Е соединяет вентиль с воздухораспределителем. Выпускное отверстие П предназначено для выпуска воздуха в атмосферу.
Головка закрыта пробкой 26, предназначенной для обеспечения доступа к впускному клапану и пружине 25, нажимающей на клапан. Впускной и выпускной клапаны соединены штифтом 27.
Электромагнитная часть вентиля состоит из сердечника 19-и катушки 18, намотанной на бакелитовый каркас 17. Снаружи обмотка закрыта кожухом 16. Над сердечником помещен якорь 15, соединенный с кнопкой 12, для проверки действия вентиля. Между стержнем и кнопкой установлена пружина 13. Кнопка соединена стержнем 20 с выпускным клапаном. Между кожухом и якорем помещена латунная втулка 14. Сверху якорь закрыт крышкой 11.
Основные технические данные электропневматических вентилей следующие:
|
8VZ[VTM2] |
9VZ[VTM5] |
||
|
Число витков катушки . . . |
6900 |
6000 |
|
|
Диаметр провода, мм ... . |
0,3 |
0,4 |
|
|
Длина провода, м..... |
770 |
810 |
|
|
Сопротивление катушки при 20° |
С, Ом . |
180 |
107 |
|
Номинальное напряжение, В |
48 |
48 |
|
|
Максимальное напряжение, В |
58 |
58 |
|
|
Минимальное напряжение, В |
34 |
34 |
|
|
Номинальный ток, А . . . . |
0,27 |
0,27 |
|
|
Сечение входного отверстии Д, |
мм2 . . |
10 |
30 |
|
Сечение выходного отверстия Е, |
мм2 . . |
10 |
,30 |
|
Сечение выхлопного отверстия Давление воздуха, кгс/см2 |
Я, мм2 . |
15 |
45 |
|
1—6,3 |
1,63 |
||
|
Масса, кг...... |
1,75 Г 1,471 |
2,75 [2,64] |

Рис. 218. Электропневматический вентиль 8VZ с воздухораспределителем 5VC
Для управления пневматическим двигателем ПС электропневматические вентили 8VZ (VTM2) использованы в комплекте с воздухораспределителями 5VC (VTS2). Последние не имеют существенных отличий, поэтому рассмотрим устройство только воздухораспределителя 5VC (см. рис. 218). ,Ои состоит из корпуса 6, нижней / и верхней 10 крышек, нижнего 3 и верхнего 8 управляющих поршней с уплотняющими кольцами 2 и 7 и штока 4. На штоке размещены четыре кольца 5. Поршни и шток изготовлены из латуни. Кольца 2, 5, 7 сделаны из масло- и морозостойкой резины. Крышки к корпусу крепятся болтами 9.
Сжатый воздух давлением 6 кгс/см2 подводят к воздухораспределителю через отверстие А. При невозбужденном электропневматическом вентиле впускной клапан 24 разобщает каналы Д и Е и соединяет канал Е через отверстие П с атмосферой. При этом сжатый воздух по каналам поступает в камеру над поршнем 8. В результате вся подвижная система воздухораспределителя (поршни и шток) занимает нижнее положение и сжатый воздух из канала А через каналы Ж, И и К поступает в цилиндры пневмодвигателя переключателя ступеней, соединенные с каналом К- Остальные цилиндры пневмодвигателя в данном положении через каналы Л, М, Н сообщены с атмосферой.
При возбужденной катушке 18 электропневматического вентиля якорь 15 притягивается сердечником 19, выпускной и впускной клапаны опускаются и канал /^воздухораспределителя сообщается с каналом Е. При этом сжатый воздух по каналам А, Г, Д, Е поступает под поршень 3. Так как диаметр поршня 3 больше диаметра поршня 8, то подвижная система воздухораспределителя займет-верхнее положение. При этом ранее соединенные с источником сжатого воздуха цилиндры пневмодвигателя переключателя ступеней каналами К, И, О сообщаются с атмосферой, и, наоборот, цилиндры пневмодвигателя, которые были сообщены с атмосферой каналами А, Ж, М и Л теперь соединяются с источником сжатого воздуха.
Основные технические данные воздухораспределителя 5VC следующие:
Номинальное напряжение....... 48 В
Рабочее давление сжатого воздуха . . . 2—6 кгс/см11
Проходное сечение для воздуха..... 50 мм2
|
|