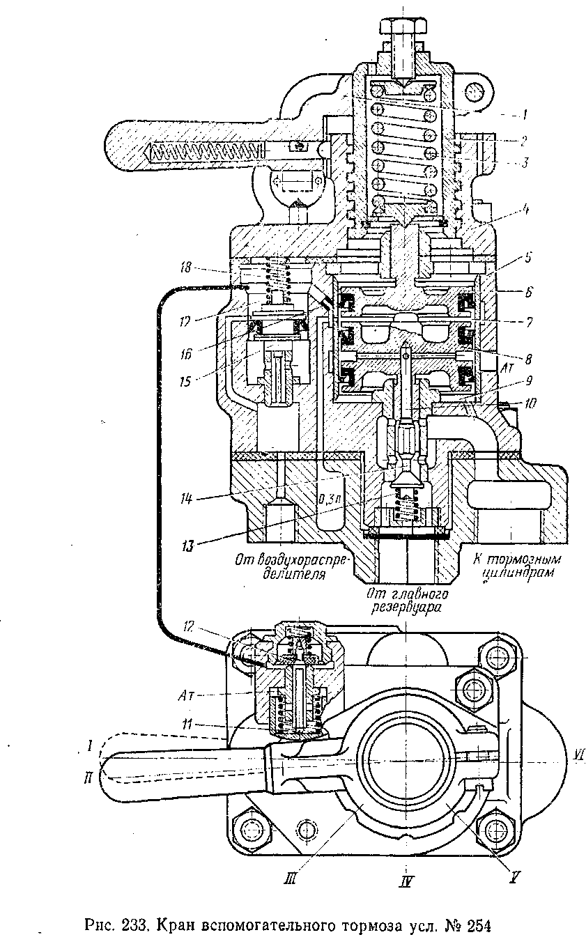
Кран вспомогательного тормоза усл. № 254 (рис. 233) предназначен для независимого управления тормозами. Он состоит из трех частей: верхней— регулирующей с ручкой для независимого управления тормозами локомотива; средней — повторителя или реле, осуществляющей впуск и выпуск воздуха из тормозных цилиндров локомотива; нижней — плиты для подвода труб и крепления крана.
Верхняя часть имеет крышку 4, в которую ввернут на ленточной резьбе стакан 2. Внутри стакана между упором и центром расположена пружина 3, регулировку которой осуществляют винтом. С наружной стороны стакан 2 обхватывается разрезной ручкой закрепляемой на стакане винтом. В ручке / расположен кулачок, прижимаемый пружиной к градационному пояску крышки 4. В приливе крышки 4 находится упор 11, который отжимается пружиной. Для предупреждения выпадания упора в крышку ввернут винт. В этом же приливе крышки запрессовано седло для клапана 12. Клапан 12 прижимается к седлу пружиной.
В корпусе 5 средней части запрессована поршневая втулка, в которой перемещаются верхний 6 и нижний 8 поршни, уплотненные манжетами. Нижний поршень имеет осевой и радиальные каналы для сообщения тормозных цилиндров с атмосферой при отпуске тормоза. Пустотелый хвостовик поршня 8 служит седлом клапана 14, на который снизу . действует пружина 13.

В левой части корпуса 5 запрессовано седло, которое является направляющей для хвостовика переключительного поршня 15, уплотненного манжетой. На переключительный поршень сверху действует пружина 18. В канал, сообщающий полость 17 над поршнем 15 с полостью 7 между поршнями 6 и 8, запрессован ниппель 16 с калиброванным отверстием диаметром 0,8 мм.
В плите крана размещена дополнительная камера объемом 0,3 л, соединенная с полостью 7 между поршнями 6 я 8.
Снизу в плите имеются три отверстия для присоединения главного резервуара, тормозного цилиндра и воздухораспределителя. Отверстие для присоединения воздухораспределителя на электровозах ЧС4 и ЧС4Т заглушено.
В отверстии плиты для присоединения главного резервуара помещены фильтр и войлочная шайба, служащие для очистки воздуха.
Крышка 4 и корпус 5 соединяются между собой через прокладку тремя шпильками, а корпус 5 с плитой — через прокладку четырьмя такими же шпильками.
Ручка крана имеет следующие положения:
I — отпускное, для отпуска тормоза электровоза при заторможенных автоматических тормозах поезда;
II — поездное, обеспечивающее действие автоматического тормоза на электровозе;
III—VI — тормозные положения.
Для торможения локомотива ручку 1 крана из второго положения перемещают против вращения часовой стрелки в одно из тормозных положений. Стакан 2 ввертывается в крышку 4 и сжимает пружину 3. Под действием усилия пружины 3 верхний поршень 6 опускается, упираясь в нижний поршень 8. Последний отжимает двухседельчатый клапан 14 от нижнего седла, и воздух из главного резервуара через открытый клапан 14 и далее по каналу поступает в трубу к тормозным цилиндрам и по каналу в полость 9. Давление воздуха в тормозных цилиндрах будет повышаться до тех пор, пока сила, действующая на поршень 8 снизу, не преодолеет усилие пружины 3, после чего этот поршень несколько поднимется и пружина 13 посадит клапан 14 на его нижнее седло.
Установившееся давление будет поддерживаться автоматически независимо от утечек из тормозных цилиндров; в случае понижения давления в них поршень 8 под избыточным усилием пружины 3 вновь несколько переместится вниз, чем будет обеспечено пополнение этих утечек.
Для снижения давления в тормозных цилиндрах ручку переводят по часовой стрелке. Стакан 2 вывертывается из крышки 4 и сжатие пружины 3 уменьшается. Под действием воздуха в полости 9 поршень 8 поднимается и воздух из тормозных цилиндров через внутренний канал 10 в поршне 8 выходит в атмосферу. Давление в тормозных цилиндрах будет понижаться до тех пор, пока усилие пружины 3, соответствующее данному положению ручки, не преодолеет усилия,
Действующего на поршень 8 снизу, после чего последний переместится несколько вниз и седло прижмется к клапану 14.
Таким образом, каждому тормозному положению ручки крана вспомогательного тормоза соответствует определенное давление воздуха в тормозных цилиндрах. Полный отпуск происходит В положении II.
|
|