Электропневматические клапаны автостопа усл. № 150 предназначены для автоматической экстренной остановки поезда перед запрещающим сигналом в тех случаях, когда машинист не подтвердит нажатием специальной рукоятки свою бдительность по наблюдению за сигналами.
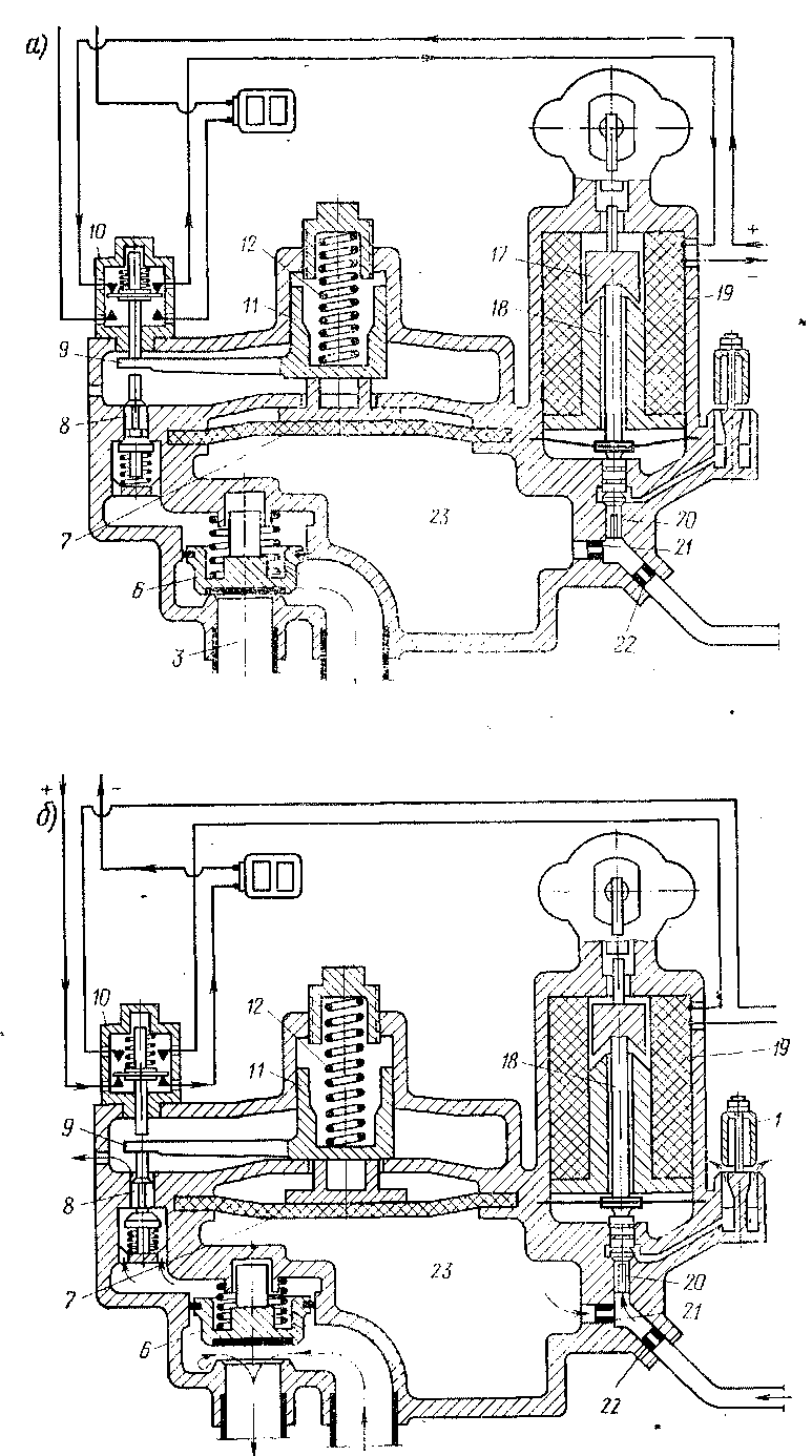
Электропневматический клапан автостопа (рис. 241) — основной прибор автостопной системы, связывающий электрическую часть

Рис. 241. Электропневматический клапан автостопа
устройства с пневматической системой тормоза электровоза и поезда. Клапан автостопа включает в себя следующие основные части: кронштейн 4, корпус 5, электромагнит, замок 15 и электропневматическое реле, состоящее из промежуточной части, крышки 13, регулирующей пружины 12, рычага 9 и концевого переключателя 10.
В кронштейне 4 расположены камера выдержки времени 23 объемом 1 л, два отвода для соединения с напорной (главным резервуаром) и тормозной магистралью, а также атмосферный канал 3.
В корпусе расположен срывной клапан 6 экстренной разрядки магистрали с пружиной, клапан 20 управления камерой выдержки времени, плунжер и свисток 1.
Электромагнит состоит из сердечника, катушки 19, якоря 17 и штока 18. Ход клапана 20 в сборе устанавливают в диапазоне 0,8—1,4 мм, а ход якоря 17— от 1,3 до 1,7 мм. *
Технические данные катушки электромагнита следующие:
Номинальное напряжение....... 50 В
Номинальный ток.......... 0,34 А
Потребляемая мощность....... 17 Вт
Сопротивление катушки........ 145 Ом
Число витков из провода ПЭ диаметром
0,35 мм............. 5000
В корпусе замка находятся эксцентриковый валик 2, механизм для приведения эксцентрика в действие и буфер замка, передающий усилие от эксцентрика на шток.
В промежуточной части расположены диафрагма 7, нажимная шайба и клапан 8 для разрядки камеры над поршнем срывного клапана 6. Клапан автостопа закрыт запломбированным кожухом 14.
Провода от электромагнита и концевого переключателя 10 выведены на специальную панель зажимов, а из-под кожуха в резиновом шланге выведены наружу. В стакане 11 помещена пружина 12, которую регулируют винтом так, чтобы при снижении давления под диафрагмой 7 до 1,5 кгс/см2 стержень концевого переключателя 10 опустился в нижнее положение и замкнул нижнюю пару контактов.
Для зарядки электропневматического клапана необходимо в замок 15 вставить ключ 16 и повернуть его в правое положение до упора. Эксцентриковый валик 2 через буфер переместит шток 18 с плунжером и прижмет клапан 20 к седлу. Воздух из напорной трубы через калиброванное отверстие 22 диаметром 0,8 мм и отверстие 21 диаметром 1 мм поступит в камеру выдержки времени 23 и под диафрагму 7. Зарядка камеры 23 от 1,5 до 8 кгс/см2 происходит в течение не более 10 с.
Под давлением воздуха диафрагма 7 займет крайнее верхнее положение и через шайбу поднимет рычаг 9, который переместит стержень концевого переключателя 10 и замкнет верхнюю пару контактов (рис. 242). В результате цепь электромагнита будет подготовлена к включению. Включают электромагнит, а следовательно, и электропневматический клапан в рабочее положение нажатием рукоятки бдительности.
Одновременно сжатый воздух из тормозной магистрали через калиброванное отверстие диаметром 0,8 мм в поршне срывного клапана 6 поступает в камеру и прижимает клапан 8 к седлу. Давления по обе

Рис. 242. Схема электропневматнческого клапана автостопа в нормальном положении (а) и при экстренном торможении (б) (обозначения те же, что и на рис. 236)
стороны клапана 6 уравниваются, и вследствие разности площадей и давления пружины клапан 6 будет устойчиво находиться в нижнем положении, разобщая атмосферный канал 3 (рис. 241) с тормозной магистралью.
При отпускании рукоятки бдительности катушка электропневматического клапана получает питание, якорь 17 (см. рис. 242) притягивается к сердечнику, и шток 18 через плунжер прижимает клапан 20 к седлу. После этого следует извлечь ключ из замка, повернув его в левое положение до упора.
В случае проезда путевого индуктора катушка клапана обесточивается, и давлением на плунжер якорь 17 со штоком 18 поднимается вверх, разгружая клапан 20. Сжатый воздух камеры 23 выдержки времени через калиброванное отверстие 21 диаметром 1 мм и клапан 20 поступает в свисток 1. Одновременно воздух в свисток будет поступать из напорной трубы через отверстие 22 диаметром 0,8 мм.
Если в течение 6—7 с после начала работы свистка автостопа будет нажата рукоятка бдительности, катушка электромагнита опять получит питание и электропневматический клапан автостопа придет в исходное положение. Снижение давления воздуха в камере выдержки с 8 до 1,5 кгс/см2 происходит за 7 —8 с. Если в течение 6—7 с рукоятка бдительности не будет нажата, то за это время давление воздуха в камере 23 под диафрагмой 7 снизится до 1,5 кгс/см2. При.этом под действием пружины 12 диафрагма 7 прогнется вниз на 5—8,5 мм, а рычаг 9 откроет клапан 8, в результате чего камера над срывным клапаном 6 сообщится с атмосферой.
Давлением воздуха из тормозной магистрали поршень срывно-го клапана 6 будет отжат от седла и произойдет экстренная разрядка тормозной магистрали через широкий атмосферный канал 3. Стержень концевого переключателя 10, следуя за рычагом 9, опустится вниз, вызывая тем самым срабатывание счетчика торможения и разрыв цепи автостопа.
При давлении в тормозной магистрали около 1,5 кгс/см2 срывной клапан 6 под действием пружины опустится на седло. Давлению воздуха после опускания клапана на седло будет подвержена только кольцевая площадь клапана, вследствие чего клапан будет четко зафиксирован на седле.
Однако прекратить начавшееся торможение поезда, вызванное автостопом, нажатием рукоятки бдительности невозможно, так как цепь питания электромагнита при этом будет разорвана контактами концевого переключателя 10. Чтобы восстановить работу автостопа и произвести отпуск тормозов в поезде, необходимо повернуть ключ в крайнее правое положение. При этом эксцентриковый валик 2 замка 15 прижмет клапан 20, и в течение 10 с произойдет зарядка камеры 23 выдержки времени.
При зарядке камеры рычаг 9 переместится в верхнее положение, разомкнет нижние и замкнет верхние контакты концевого переключателя, подготовив тем самым электрическую цепь для возбуждения автостопа, которое произойдет при нажатии рукоятки бдительности.
Таким образом, если перед запрещающим сигналом не нажать рукоятку бдительности, произойдет остановка поезда автостопом, причем каждое такое торможение фиксируется счетчиком.
|
|