• С повышением скорости движения поезда коэффициент трения между тормозной колодкой и бандажом колесной пары уменьшается. Для того чтобы при больших скоростях увеличить тормозное усилие, повышают давление сжатого воздуха в тормозных цилиндрах.
На электровозах ЧС2 это достигается применением центробежного регулятора 984 и режимного клапана 988 (рис. 257). С их помощью при скорости движения выше 80 км/ч давление в тормозном цилиндре увеличивается в отношении 6,5:3,8, т. е. с 3,8 до 6,5 кгс/см2. При понижении скорости с 80 до 50 км/ч величина указанного соотношения уменьшается; а при скорости ниже 50 км/ч центробежный регулятор и режимный клапан вообще не оказывают действия на работу тормозов электровоза.
Регулятор установлен на буксе оси третьей колесной пары и соединен с трубопроводами гибкими резиновыми рукавами 992. Сжатый воздух к регулятору подводится от тормозной магистрали через разобщительный кран 971, воздухораспределитель 965, электровоздухораспределитель 964, разобщительный кран 1007 и режимный кран 1013. "Последний при включенном центробежном регуляторе должен стоять на положении И (скоростной режим). В этом положении при торможении на высоких скоростях воздух из запасного резервуара 996 через регулятор 984 поступает в резервуар 993, далее к режимному клапану 988, а из вспомогательного резервуара 905 и питательной магистрали через разобщительный кран 1005 и режимный клапан 988 — в тормозные цилиндры до давления в них 6,5 кгс/см2.
При скорости 50 км/ч и ниже регулятор 984 сообщает резервуар 993 с атмосферой и клапан 988 сбрасывает давление в тормозных цилиндрах до нормального, равного давлению в резервуарах 997 и 1018.
В положениях О и N воздух к регулятору 984 и в резервуар 993 не поступает. При торможении воздух из резервуара 996 поступает в резервуары 997 и 1018, а в тормозные цилиндры — из резервуара 905 через режимный клапан 988. Резервуары 997 и 1018 являются фиктивными тормозными

Рис. 257. Схема включения центробежного регулятора и режимного клапана
цилиндрами. Резервуар 993 служит для увеличения объема нижней камеры режимного клапана.
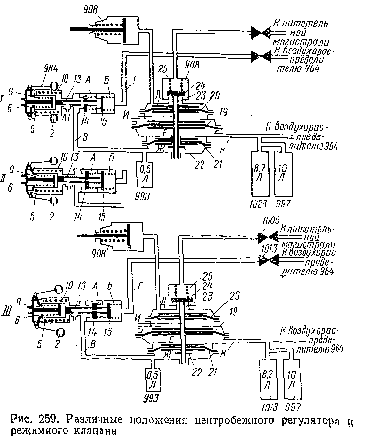
Центробежный регулятор (рис. 258 и 259) смонтирован в корпусе /7, укрепленном на буксе. С осью колесной пары сцеплен полый валик 7, который при движении электровоза приводит во вращение грузы 2, закрепленные на осях 3. Хвостовики 8 грузов проходят через окна в валике 7 и при повороте упираются в хомут 6. Последний отжимается в сторону оси колесной пары пружиной 9. Между хомутом и валиком 7 помещена вторая пружина 10. Она зажата между втулкой и опорным кольцом 5, которое в свою очередь удерживается выступом валика 7. Этот валик совместно с обеими пружинами, хомутом и грузами вращается в шариковых подшипниках 4 и 12, укрепленных соответственно в корпусе Л и крышке 18. Внутрь хомута вмонтирован шариковый подшипник 1, посаженный на поршень 13, который может иметь осевое перемещение, но не вращается вместе с остальной системой. В поршне предусмотрено отверстие и боковое окно для прохода воздуха. В наружной части . крышки 18 расположены два

клапана 14 и 15, на которые действуют усилия пружин 16 и 17. Клапан имеет хвостовик в виде трубки.
Грузы центробежного регулятора до скорости 50 км/ч находятся в положении /. При этом во время торможения давление воздуха в тормозных цилиндрах не превышает 3,8 кгс/см2. Полость А и трубопровод В сообщаются с атмосферой. При скорости движения электровоза 50—80 км/ч центробежные силы грузов 2 преодолевают усилие пружины 9 и хомут 6 передвигается в сторону, противоположную оси колесной пары. Вместе с хомутом передвигается поршень 13, который отводит клапан 14 от своего седла. Полость А и трубопровод В по-прежнему остаются сообщенными с атмосферой (положение II). В этом положении регулятора тормоз электровоза действует так же, как и при скорости ниже 50 км/ч; передвижение хомута 6 ограничивается опорным кольцом 5.
При скорости, превышающей 80 км/ч, центробежная сила грузов увеличивается настолько, что они преодолевают усилие обеих пружин 9 и 10 и хомут передвигается в сторону клапанов 14 и 15. В результате клапан 14 своим хвостовиком прикасается к клапа-


Рис. 260. Режимный клапан
ну 15 (положение III), разобщает полость А с атмосферой и соединяет ее с полостью Б, Воздух проходит по трубопроводу Г, полостям Б и А центробежного регулятора и далее по трубопроводу В в полость Ж режимного клапана 988.
При понижении скорости движения ниже 80 км/ч клапан 15 закрывает доступ воздуха из полости Б в полость А, а затем трубопровод В сообщается с атмосферой.
Режимный клапан 988 (рис. 259 и 260) состоит из корпуса, к которому подведено четыре трубопровода, двойного клапана 24 (см. рис. 259) и трех диафрагм 19, 20 и 21, из которых первые жестко укреплены на полом стержне 23, а последняя может по нему свободно передвигаться. Ниже диафрагмы 21 на стержне 23 укреплено опорное кольцо 22. Над клапаном 24 помещена пружина 25, стремящаяся прижать этот клапан к своему седлу. Когда полости Е и Ж сообщены с атмосферой, а в тормозном цилиндре имеется, сжатый воздух, то он, давя на диафрагму 20, отжимает стержень вниз, последний отходит от клапана и воздух из цилиндра через камеру Д и канал И выходит в атмосферу (отпуск тормозов).
При обычном торможении, когда центробежный регулятор подает сжатый воздух не в полость Ж, а в полость Е, то по трубопроводу К воздух поступает от воздухораспределителя 964 (см. также рис. 257). Открытие клапана 24 (см. рис. 259) и давление в тормозном цилиндре, т. е. в камере Д, зависит от величины давления в полости Е. Последнее одновременно действует на диафрагмы 19 и 21. Так как площадь диафрагмы 19 больше, то результирующее усилие (давление, множение на разность площадей этих диафрагм) направлено в сторону открытия клапана 24.
Когда во время торможения приходит в действие центробежный регулятор и он подает сжатый воздух в полость Ж, диафрагма 21 поднимается вверх и отходит от опорного кольца 22. В результате на клапан 24 в сторону его открытия начинает действовать усилие, равное давлению воздуха в камере Е, умноженному на площадь диафрагмы 19. В этом случае и устанавливается иное соотношение между давлением в полости Е и давлением в тормозных цилиндрах и камере Д, т. е. происходит торможение с повышенным давлением.
|
|