Электровозы классифицируют по роду тока, типу передач, роду работы и осевым характеристикам, а электропоезда — по роду тока и виду работы.
Классификация по роду тока. В зависимости от рода тока, подводимого к электровозам и электропоездам, различают системы электрической тяги постоянного тока, однофазного тока пониженной частоты 16 2/3 и 25 Гц, однофазного тока промышленной частоты 50 Гц. Имеется еще и многосистемный электроподвижной состав.
Э. п. с. постоянного тока. Номинальное напряжение в контактной сети магистральных железных дорог, электрифицированных на постоянном токе, обычно составляет 3000 В, на промышленном транспорте — 1500 В, метрополитена — 825 В На электровозах и электропоездах устанавливают тяговые двигатели постоянного тока с контакторно-реостатным (рис. 3) или импульсным тиристорным управлением
Пуск и регулирование скорости движения в первом случае осуществляют с помощью пусковых резисторов, кроме того, контакторами переключают тяговые двигатели с одного соединения на другое. Такой способ управления получил наибольшее распространение Однако он имеет ряд недостатков, важнейшие из которых следующие: значительные потери энергии в пусковых резисторах, толчки тока и силы тяги при переключениях, невозможность плавного регулирования скорости, сложность осуществления рекуперативного торможения, необходимость применения относительно низкого напряжения в контактной сети, воздействие колебаний напряжения и перенапряжений в системе электроснабжения на питаемые непосредственно от контактной сети тяговые двигатели.
Тяговые двигатели э. п. с. магистрального и промышленного транспорта с кон-такторно-реостатным управлением обычно имеют номинальное напряжение на зажимах 1500 В. При этом напряжении габаритные размеры и масса тяговых двигателей относительно велики (минимальная масса двигателя 7,5—10 кг на 1 кВт)
При напряжении 3000 В в контактной сети тяговые подстанции располагают через 20—25 км, при напряжении 1500 В — через 10—15 км. С уменьшением расстояния между подстанциями увеличивается неравномерность их нагрузки и растет влияние пиковых нагрузок, использование подстанций ухудшается, стоимость оборудования возрастает. Опыты по повышению напряжения сети более 3000 В при постоянном токе и применении вращающихся или статических преобразователей напряжения на электровозах и электропоездах не привели к положительным результатам из-за сложности, громоздкости и большой стоимости электрооборудования.
Система электрической тяги на постоянном токе получила широкое распространение как в СССР, так и за рубежом (в США, Англии, Франции, Италии, Чехословакии и других странах). Протяженность этих дорог составляла на 1 января 1990 г. около 52 % общей длины всех электрифицированных линий мира, а в Советском Союзе — 51 % от общей протяженности электрифицированных линий страны.
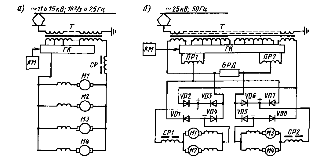
Э. п. с. однофазного тока пониженной частоты. В ряде стран применяют для тяги однофазный ток пониженной частоты 16 2/3 или 25 Гц. Основные преимущества такой системы обусловлены возможностью применять в контактной сети высокое напряжение (11 и 15 кВ), что позволяет значительно уменьшить площадь сечения контактного провода и увеличить расстояние между
подстанциями. На электровозах и электропоездах этой системы коллекторные тяговые двигатели последовательного возбуждения подключают контакторами главного контроллера ГК непосредственно к вторичной обмотке тягового (силового) трансформатора 7* (рис. 4, а). Работают двигатели при сравнительно невысоком напряжении (400—600 В). Иногда при однофазном токе частотой 25 Гц (в США) на электровозах применяют двигатели постоянного тока, так как они обладают удовлетворительными тяговыми характеристиками. В этом случае устанавливают преобразователи однофазного тока в постоянный. Скорость движения электровоза регулируют, изменяя коэффициент трансформации трансформатора Т, т. е. соотношение числа витков первичной и вторичной обмоток.
Тяговые подстанции при такой системе дороже и сложнее, чем подстанции постоянного тока, так как на них установлены агрегаты, преобразующие трехфазный ток промышленной частоты в однофазный пониженной частоты. Это значительно снижает экономический эффект, получающийся в результате уменьшения площади сечения контактного провода и числа тяговых подстанций. Некоторое повышение экономической эффективности таких электрифицирован-


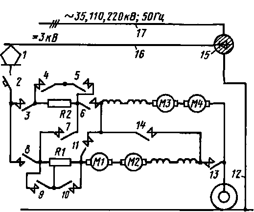
Рис. 3. Принципиальная силовая схема электровозов системы постоянного тока с контактор-
но-реостатным управлением: / — токоприемник; 2 — быстродействующий выключатель, 3—//, 13, 14 — контакторы, 12 — отсасывающая линия; 15 — тяговая подстанция; 16 — контактная сеть, 17 — линия электропередачи энергосистемы
ных дорог достигается при питании их от специальных электрических станций, вырабатывающих переменный ток пониженной частоты. Такая система принята, например, в ФРГ, США и других странах
К недостаткам электровозов и электропоездов однофазного тока пониженной частоты относятся: невысокий коэффи-
Рнс. 4. Принципиальные силовые схемы электровозов с коллекторными тяговыми двигателями для участков, электрифицированных на однофазном токе пониженной (а) и промышленной (б)
частоты
КМ — контроллер машиниста; Г — тяговый трансформатор, ГК — главный контроллер, СР, СР1 и СР2 — сглаживающие реакторы, ПР1 и ПР2 — переходные реакторы, БРД — блок дифференциальных реле,
КО/ —КОв — диоды
иент мощности ', cos ф коллекторных тяговых двигателей (0,8—0,88), который при трогании становится меньше 0,3— 0,4; низкий коэффициент тяги 2 (в часовом режиме не превышает 0,17—0,19) [4]; сложность конструкции. Эту систему применяют в США, ГДР, ФРГ, Австрии, Швейцарии, Швеции, Норвегии и других государствах.
Э. п. с. однофазного тока промышленной частоты. Электроэнергия к такому э. п. с. подводится от простых трансформаторных подстанций, понижающих высокое напряжение переменного тока, получаемое от энергосистем общего пользования, до 25 кВ. Такое высокое напряжение позволяет максимально уменьшить площадь сечения проводов, облегчить опоры и фундаменты контактной сети, почти в 3 раза снизить расход цветного металла на контактную сеть (одновременно снижаются потери энергии) по сравнению с аналогичными показателями системы постоянного тока 3000 В. Стоимость строительства тяговых подстанций и контактной сети участков, электрифицированных на однофазном токе промышленной частоты, уменьшается по сравнению со стоимостью их при постоянном токе примерно на 30%.
Электровозы и электропоезда для железных дорог однофазного тока промышленной частоты могут иметь тяговые двигатели: постоянного или пульсирующего тока, вентильные — э. п. с. переменного (однофазно-постоянного) тока; коллекторные; трехфазные асинхронные —
3. п. с. однофазно-трехфазного тока. На э. п. с. переменного тока, построенном после 1970 г., устанавливают полупроводниковые преобразователи.
Электровозы и электропоезда с двигателями пульсирующего тока и полупроводниковыми преобразователями (рис.
4, б) строят в СССР, Франции, Англии и ряде других стран. Однофазный переменный ток диодами VD1—VD8 преобразуется в пульсирующий (постоянный),
1 cos <р = P/S, где Р — активная мощность, потребляемая электровозом для вращения тяговых двигателей; S — полная мощность, которую электровоз потребляет из сети.
2 Коэффициент тяги — отношение силы тяги при часовом режиме к сцепному весу электровоза
которым питаются двигатели М1—М4. Скорость движения регулируют, ступенчато изменяя коэффициент трансформации трансформатора Т, с помощью контакторов главного контроллера ГК-Как и на электровозе однофазного тока пониженной частоты (см. рис 4, а), для управления ГК применен контроллер машиниста КМ. Для того чтобы переход с одной ступени на другую происходил без разрыва силовой цепи (чтобы сила тяги электровоза не падала до нуля) и короткого замыкания секции обмотки трансформатора Т, использованы переходные реакторы ПР1 и ПР2. Электровоз будет развивать наибольшую по условиям сцепления силу тяги, если все тяговые двигатели работают в одинаковых условиях (при равных напряжениях и с одинаковыми токами). Это достигается с помощью блока дифференциальной защиты БРД, который является как бы уравнительным соединением между двумя контурами (см. § 86).
Если в преобразователе применить тиристоры, то напряжение можно регулировать не ступенчато, а плавно и, следовательно, плавно осуществлять пуск и разгон электровоза (подробно см. § 89).
В случае применения коллекторных двигателей однофазного тока промышленной частоты локомотив получается более простым, чем с двигателями пульсирующего тока. Однако пока еще не удалось создать для грузового движения надежный, компактный и экономичный однофазный коллекторный двигатель промышленной частоты.
На электровозах с трехфазными асинхронными тяговыми двигателями первых выпусков применяли электромашинные преобразователи фаз и частоты (венгерские электровозы У-44 и У-55 постройки 1943—1953 гг., французские электровозы СС14000 фирмы «Эрликон» постройки 1955 г. и др.) Однако при таких преобразователях не удавалось получить достаточно высокую мощность электровоза, так как увеличение ее сопровождалось повышением массы машинных преобразователей, которая не могла превышать определенного значения. Трудно было создать и вентильный тяговый двигатель из-за недостаточного совершенства ионных преобразователей.

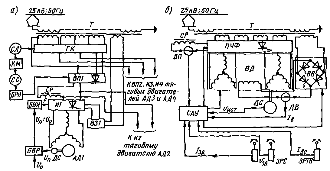
Рис. 5 Принципиальная схема электровоза е трехфазными асинхронными (а) и вентильными (б) тяговыми двигателями
К постройке электровозов с трехфазными асинхронными и вентильными тяговыми двигателями вновь приступили лишь после того, как был налажен серийный выпуск силовых тиристоров. В Советском Союзе в 1968—1971 гг. были созданы опытные образцы восьмиосных электровозов с трехфазными асинхронными двигателями (электровоз ВЛ80а) и с вентильными двигателями (ВЛ80В).
На электровозе (или его секции) для всех трехфазных асинхронных двигателей АД1— АД4 (рис. 5, а) используют один общий трансформатор Г и один главный контроллер ГК, два выпрямителя ВП1 и ВП2 на диодах и тиристорах. Напряжение, получаемое от каждого выпрямителя, сглаживается реакторами СР и подается на вход двух инверторов И1, И2 или ИЗ, И4.
Ступенчатое регулирование напряжения осуществляется контроллером машиниста КМ, который воздействует на серводвигатель СД главного контроллера ГК- Выпрямленное напряжение плавно регулируется блоком БРН от 0 до наибольшего значения на выходе выпрямителя изменением угла отпирания тиристоров от 180 до 0° в зависимости от угла поворота ротора сельсина СС (подробно см. § 89). Это обеспечивает высокую перегрузочную способность, большие к. п. д. и коэффициент мощности двигателя. В цепь автоматического
регулирования частоты входят датчик скорости ДС, соединенный с ротором двигателя, блок ведения режима БВР и блок управления инвертором БУИ, в котором импульсы напряжений £/„ и 1/й формируются, усиливаются и затем подаются на управляющие электроды тиристоров инверторов. Для запирания тиристоров в инверторах предусмотрены коммутирующие цепи с подзарядом конденсаторов независимо от значения напряжения на выходе выпрямителя В31. При поддержании оптимальной частоты асинхронный двигатель может работать с практически наибольшим коэффициентом мощности и достаточно высоким к. п. д. Можно получить тяговые характеристики, соответствующие различным частотам и напряжению преобразователя. Каждый асинхронный двигатель имеет самостоятельный управляемый преобразователь частоты.
На электровозе с вентильными тяговыми двигателями статорные обмотки двигателя получают питание от преобразователя частоты и числа фаз ПЧФ (рис. 5, б), а его обмотка возбуждения — от выпрямителя ВВ.
Напряжение на вентильном двигателе регулируют плавно тиристорами ПЧФ, не используя контактные аппараты, в четырех зонах от нуля до наибольшего значения. Управляют электровозом с помощью задатчика регулирования тока
ЗРТВ и скорости движения ЗРС, расположенных на пульте управления в кабине машиниста, которыми машинист задает соответственно ток /зд и скорость движения vЗA в режиме тяги и рекуперативного торможения. Режимы работы преобразователей во всем диапазоне скоростей движения регулируются автоматически, без участия машиниста, блоками и элементами системы автоматического управления САУ, в которую поступают импульсы тока /зд, скорости кзд от задат-чика ЗРС, скорости у„ст от датчика скорости ДС, тока возбуждения /в от датчика ДВ и тока /во от задатчика возбуждения ЗРТВ. Система САУ совместно с управляемым выпрямителем-возбудителем поддерживает магнитный поток двигателя ВД постоянным, пока частота вращения его ротора увеличивается вследствие возрастания подводимого к нему напряжения. После достижения номинального напряжения дальнейшее увеличение частоты вращения происходит в результате ослабления возбуждения. Система САУ также выравнивает нагрузку между параллельно работающими вентильными двигателями.
Э. п. с, работающий при различных системах тяги. К этому э. п. с. относят многосистемный электроподвижной состав, контактно-аккумуляторные электропоезда, контактно-аккумуляторные и контактно-дизельные электровозы.
Многосистемные электровозы и электропоезда применяют для обеспечения движения без смены локомотивов по электрифицированным участкам с различными системами электрической тяги, например: постоянного тока при напряжениях 1500 и 3000 В, переменного тока с различными частотой и напряжением, постоянного тока и несколькими системами переменного тока. Различают многосистемный э.п.с. и стыковые электровозы. К многосистемным относят электровозы и электропоезда, сохраняющие полную мощность при работе на участках с различными системами тяги. Стыковыми называют электровозы одного рода тока, приспособленные для работы от контактной сети другого рода тока с использованием части мощности тя-
говых двигателей при движении по путям станции стыкования.
При длине участка обращения грузовых электровозов 600 км и более экономично строить станции стыкования, т. е. осуществлять стыкование по контактной сети. На участках обращения меньшей длины, особенно при наличии разветвленной сети, целесообразнее иметь двух-системные электровозы (электровозы двойного питания).
Первые отечественные стыковые электровозы ВЛ61 имели обычное электрооборудование электровозов постоянного тока. Для работы от сети переменного тока были предусмотрены тяговый трансформатор и игнитроны В режиме переменного тока на электровозе использовалась та же аппаратура, что и в режиме постоянного тока.
Двухсистемные электровозы ВЛ19 и электросекции Ср для работы на участках постоянного тока с напряжениями 1500 и 3000 В в СССР были построены соответственно в 1935 и 1947 гг. При работе на участке с напряжением 3000 В двигатели с номинальным напряжением 1500 В соединяли на электровозе ВЛ19 последовательно, последовательно-параллельно и параллельно (по два двигателя, соединенных последовательно в каждой параллельной цепи), а на электросекции Ср последовательно и последовательно-параллельно. При работе э. п.с. на участке с напряжением 1500 В применяли еще параллельное соединение двигателей.
Двухсистемные электровозы ВЛ82 постройки 1966 г., предназначенные для работы на участках переменного тока с напряжением 25 кВ и постоянного тока 3 кВ, имеют тяговые трансформаторы и диодные выпрямители, мощность которых равна мощности тяговых двигателей. Регулирование напряжения осуществляется на стороне постоянного тока.
Во Франции двухсистемные электровозы применяют для работы на участках постоянного тока с напряжением 1,5 кВ и переменного тока с напряжением 25 кВ и частотой 50 Гц. Четырехсистемные электровозы обеспечивают сквозное движение между странами Западной Европы на линиях постоянного (1500 и 3000 В) и переменного (пониженной или промышленной частоты) тока. Много-
системные электровозы в Европе используют для вождения пассажирских, главным образом международных, поездов. В последние годы появились многосистемные электропоезда для международного сообщения. В Японии наряду с двухсистемными электровозами постоянного тока напряжением 1500 В и переменного 25 кВ, 50 Гц широко применяют и двухсистемные электропоезда.
Контактно-аккумуляторные электропоезда применяют для обслуживания линий, имеющих неэлектрифицированные и электрифицированные участки. При этом снижается себестоимость перевозок, создаются удобства для пассажиров, которые избавлены при этом от пересадок в местах стыкования различных видов тяги.
Контактно-аккумуляторные электропоезда строят обычно на базе существующих электропоездов. На электрифицированных участках к их тяговым двигателям напряжение от контактной сети подводится либо через пускорегулирую-щую аппаратуру, либо через тиристор-ные импульсные преобразователи (например, на электропоезде ЭР2-А6 Прибалтийской дороги), на неэлектрифици-рованных участках — от щелочных аккумуляторных батарей. Контактно-аккумуляторные поезда выполняют с рекуперацией энергии на аккумуляторные батареи, независимо от какого источника до этого питались тяговые двигатели.
Контактно-аккумуляторные или контактно-дизельные локомотивы используют для маневровой работы. Эти локомотивы обычно представляют собой электровозы, на которых установлены либо дизель-генераторные агрегаты, либо аккумуляторные батареи, питающие тяговые двигатели при движении локомотива по неэлектрифицированным путям. Как правило, мощность дизель-генератора или аккумуляторных батарей значительно меньше (около 30%) суммарной мощности тяговых двигателей; поэтому скорость локомотива при движении по неэлектрифицированным путям и наибольшей силе тяги меньше, чем при движении его по электрифицированным путям. Пуск дизеля осуществляется от аккумуляторной батареи.
Контактно-дизельный локомотив при
наличии контактной сети работает как обычный электровоз, а на неэлектрифи-цированных путях — как тепловоз с электрической передачей По принципу работы контактно-аккумуляторный локомотив подобен контактно-аккумуляторному электропоезду.
В СССР впервые контактно-аккумуляторные шестиосные электровозы ВЛ26 были построены в 1966 г. Днепропетровским электровозостроительным заводом для работы на участках постоянного тока и в автономном режиме от тяговых железоникелевых аккумуляторов ТЖН-550. Контактно-дизельные локомотивы применяют на промышленном транспорте.
В Швейцарии, Англии, ФРГ и других странах для маневровой работы используют как контактно-аккумуляторные электровозы (преимущественно), так и контактно-дизельные. Мощность дизельной установки или аккумуляторной батареи составляет 30—37% мощности тяговых двигателей локомотива.
Применение на маневрах контактно-аккумуляторных или контактно-дизельных локомотивов дает больший экономический эффект, чем использование тепловозов. Здесь, помимо цен на топливо и электроэнергию, важны эксплуатационные расходы (ремонт и обслуживание однородного оборудования) и стоимость маневровых локомотивов.
Классификация электровозов по типу передач. В зависимости от способа передачи вращающего момента от тягового двигателя на движущие колесные пары различают электровозы с индивидуальным и групповым приводом.
Индивидуальным приводом называют способ передачи, при котором вращающий момент передается на колесную пару от отдельного тягового двигателя — одиночного или сдвоенного. Групповым приводом называют способ передачи, при котором вращающий момент от одного или двух тяговых двигателей передается группе колесных пар, соединенных зубчатой передачей.
Большинство электровозов и моторных вагонов во всех странах выполнены с индивидуальным приводом, который более удобен в эксплуатации. Кроме того, в этом случае проще разместить электри-
ческое оборудование. В Советском Союзе были построены опытные электровозы ВЛ40 и ВЛ83 с одномоторными двухосными тележками, т. е с групповым приводом.
Классификация по роду работы. Электровозы по роду работы подразделяются на пассажирские, грузовые и маневровые.
Пассажирские электровозы, предназначенные для вождения пассажирских поездов, должны развивать высокую скорость при сравнительно небольшой силе тяги. Грузовые электровозы, предназначенные для вождения поездов большого веса, должны обладать значительной силой тяги, а следовательно, иметь большое число колесных пар.
Электропоезда по роду работы различают пригородного и междугородного сообщения. Для первых характерны большие ускорения при пуске и относительно низкие максимальные скорости, для вторых — меньшие ускорения, но большая максимальная скорость.
Классификация электровозов по осевым характеристикам ходовых частей. Электровозы характеризуются числом и расположением движущих колесных пар. Колесные пары группируют по три или по две в отдельные тележки (рис. 6, а и б). Такой локомотив называют те-лежечным. Тележечные электровозы могут иметь как общий кузов, так и кузов,
состоящий из двух (см. рис. 6, в и г), а реже из трех частей.
Для обозначения числа движущих колесных пар электровоза и их взаимного расположения в СССР применяют цифровые характеристики ходовых частей. Колесные пары обозначают цифрами: двухосной тележки — цифрой 2, трехосной— 3. Далее ставится « + », если тяговое усилие передается через сочленение тележек, или «-», если оно передается через раму кузова. Затем следует обозначение числа движущих колесных пар второй тележки. Например, теле-жечный электровоз с двумя трехосными несочлененными тележками (электровозы ВЛ60, ВЛ60К, ВЛ60") имеет осевую характеристику 30-30, восьмиосиый двухсекционный электровоз с двухосными несочлененными тележками, у которого каждая секция самостоятельно работать не может, —20-20-20-20 (элект ровозы ВЛ10, ВЛ10У, ВЛ80\ ВЛ80Р), электровоз с сочлененными тележками —20 + 20 + 20+20 (электровоз ВЛ8). Осевые характеристики локомотивов, у которых каждая секция работает самостоятельно, будут 3 (20-20) — электровоз ВЛ11, 2 (20-20) —электровоз ВЛ80С. Цифры 2 или 3 перед скобкой означают число секций локомотива.
За рубежом число движущих колесных пар показывают большими буквами латинского алфавита. Буква А обозначает одну дви-

Рис 6. Схемы расположения движущих колесных пар в двухосных (а, в, г и е) и трехосных
(б и д) тележках:
жущую колесную пару, В — две, С — три и т д Например, осевая характеристика электровоза с двумя несочлененными двухосными тележками записывается в виде В0-В0, электровоза с двумя несочлененными трехосными тележками — С„-С0. Индекс «О» означает, что каждая ось локомотива имеет свой тяговый двигатель, т е. индивидуальный привод, отсутствие индекса указывает на применение группового привода.
|
|