Рамы тележек электровозов. В зависимости от конструктивного выполнения рамы тележек подразделяют на листовые, брусковые, цельнолитые и сварные.
Листовые рамы. Эти рамы имеют незначительную горизонтальную жесткость, в Советском Союзе их применяют на ширококолейных электровозах промышленного транспорта.
Брусковые рамы. Такие рамы применены на шестиосных магистральных электровозах ВЛ19, ВЛ22, ВЛ22М, ВЛ23. Рама состоит из продольных боковин и поперечных креплений: упряжного (концевого) бруса / (рис. 7), двух средних креплений 2 и 5, бруса сочленения 10. На электровозах ВЛ22 и ВЛ22М на два средних крепления опирается продольная шкворневая балка. Боковины рамы выполнены из листов проката (сталь марки Ст5) толщиной 100 мм. В процессе проката листы получают волнистую форму, выправить их в холодном состоянии при такой большой толщине

Рис. 7. Брусковая рама трехосной тележки электровоза ВЛ23
ие представляется возможным. Поэтому боковины рам обрабатывают на строгальном станке не только по контуру, но и по боковым поверхностям.
Боковины имеют верхний 3 и нижний 4 пояса; последний прерывается у буксового выреза. Оба пояса соединены стойками 6, образующими упоры для букс, через которые на раму передаются тяговые и тормозные усилия от колесных пар. Во избежание появления местных напряжений в боковинах переходы с одного сечения на другое выполнены кривыми достаточно большого радиуса (100—150 мм).
Брусковые рамы создают большое сопротивление изгибу в вертикальной плоскости, а значительная их толщина обеспечивает необходимую жесткость при изгибе в горизонтальной плоскости. Усилия, действующие в рессорном подвешивании, передаются на боковину в ее средней части, не вызывая кручения. Каждая боковина рамы имеет отверстие для втулки 9, в которой поворачивается коленчатый тормозной вал.
На буксовые вырезы устанавливают буксовые направляющие 8, по которым скользят буксы. Для удобства снятия буксы направляющие выполняют съемными, опускающимися вниз. Ввиду того что ось рессорного подвешивания в брусковых рамах совпадает с серединой бо-
ковины, расстояние между боковинами равно расстоянию между серединами шеек. Поэтому буксовые направляющие охватывают буксовые вырезы в боковине с внешней и внутренней стороны, так что середина опорной поверхности направляющей совпадает со средней плоскостью боковины, а следовательно, и с серединой шейки оси.
Буксовые челюсти или приваривают к раме (на электровозах ВЛ23), или прижимают стопорными болтами (на электровозах ВЛ22М). Во втором случае в приливах, обхватывающих рамный лист, буксовая направляющая имеет два отверстия с резьбой под болты. Вверху между челюстью и горизонтальной частью буксового выреза в боковине предусмотрен зазор 5—8 мм для того, чтобы при подтягивании струнки 7 буксовая направляющая 8 не упиралась в выступ выреза. Для предохранения направляющей от быстрого износа к ее рабочим поверхностям приваривают стальные накладки повышенной твердости, которые по мере износа заменяют новыми.
Для усиления рамы в буксовом вырезе на боковине имеются выступы, а в струнке — пазы, обработанные с уклоном 1:12. Между рамой и стрункой оставляют зазор на натяг, равный 5—8 мм Каждый конец струнки крепят к боковине болтом и шпилькой, которые распола-
гают симметрично относительно выступа рамы. Струнки пригоняют к выступам по краске с прилеганием по площади не менее 80%, так как только в этом случае струнка работает как одно целое с рамой
Междурамные крепления к верхнему и нижнему поясам боковин крепят при-зонными коническими болтами (1:200) диаметром 33 мм (из стали Ст5). Для получения плотной посадки болты вытачивают таким образом, чтобы головки их примерно на 25 мм не доходили до плоскости боковины. При установке их специальным прессом загоняют до упора и крепят гайкой с пружинной шайбой. Соединять рамные крепления с боковинами можно и цилиндрическими болтами; необходимый натяг их создается тем, что диаметр болта на 0,05—0,07 мм больше диаметра отверстия.
Чтобы предотвратить работу болтов на срез под действием веса рамного крепления и вертикальной нагрузки, каждое рамное крепление снабжают полочкой //, которой оно опирается на верхний пояс рамы (ширина полочки 30 мм). Увеличивать ширину полочки до толщины боковины рамы нецелесообразно, так как вследствие неплотного прилегания может возникнуть большой изгибающий момент. Привалочные стенки, которыми присоединяются рамные крепления к боковине, имеют толщину не менее 40% толщины боковины.
Упряжной брус / представляет собой литую конструкцию, внутри которой расположена коробка для фрикционного аппарата автосцепки. К упряжному брусу крепят трубы воздушной и тормозной систем и путеочиститель, защищающий наиболее низко расположенные части электровоза от удара о попавшие на путь предметы.
Средние междурамные крепления 5 служат одновременно для подвески тягового двигателя, для чего на них предусмотрены кронштейны 12. В средней части шкворневой балки имеется гнездо 14 для опоры кузова, а по концам — вентиляционные каналы 13. Эти каналы соединены с вентиляционными каналами в средних междурамных креплениях, которые специальными патрубками соединены с тяговыми двигателями. Так как
центральная опора одной из тележек (см. § 19) должна обеспечивать продольное перемещение тележки относительно кузова, что необходимо при движении электровоза в кривой,гнездо шкворневой балки этой тележки выполнено в виде прямоугольника. Центральная кузовная опора второй тележки имеет только вращательное движение, поэтому сечение гнезда 14 ее шкворневой балки представляет собой круг.
Чтобы тележки могли взаимно поворачиваться в горизонтальной и вертикальной плоскостях, в средней части брусьев размещают шкворневое сочленение, через которое тяговое усилие передается от одной тележки к другой. Место расположения пят кузова выбирают так, чтобы обеспечивалось заданное распределение нагрузок между колесными парами.
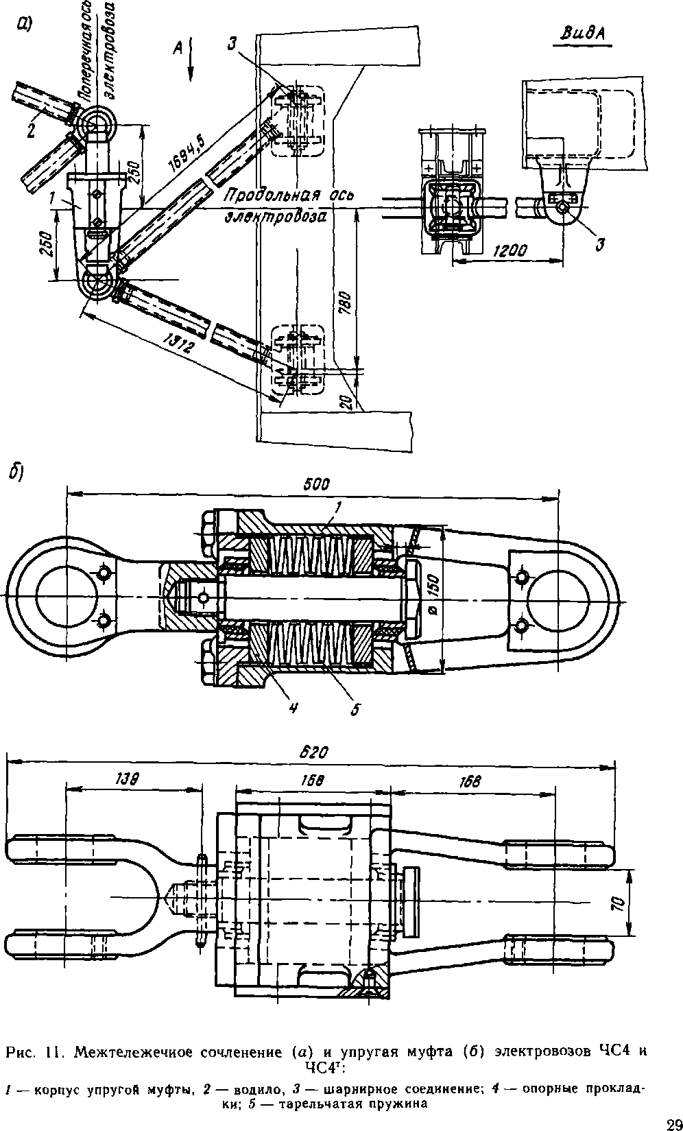
Межтележечное сочленение на электровозах ВЛ22М является жестким. На брусе сочленения (рис. 8) одной тележки электоовоза имеется вилка /, в которую входит серьга 8 бруса другой тележки. В приливах вилки / предусмотрены отверстия с запрессованными втулками 7 для шкворня 6, который вставляют снизу и закрепляют упором 5. В серьге имеется отверстие, в которое вставляется шаровое сочленение, состоящее из шарового вкладыша 2, отлитого из стали, и двух обхватывающих фасонных вкладышей 3, образующих гнезда для шара; между ними установлены регулировочные прокладки. Вкладыши стянуты болтами 4.
Межтележечное сочленение электровозов ВЛ23 и ВЛ8 отличается от рассмотренного размерами и формой отдельных деталей. Оно имеет в вертикальном направлении зазор, зависящий в основном от конструкции рессорного подвешивания обеих тележек. Этот зазор облегчает сцепление тележек и одновременно допускает вертикальное перемещение конца одной тележки относительно другой, препятствуя передаче малых колебаний в вертикальной плоскости с одной тележки на другую. Шаровое соединение при этом обеспечивает свободную установку обеих тележек под углом.
Для подвода смазки к трущимся частям сочленения внутри предусмотрены

Рис. 8. Межтележечное сочленение электровозов ВЛ22"

Рис. 9. Литая рама двухосной крайней тележки электровоза ВЛ8-
1 — брус сочленения, 2 — боковина; 3 — место для установки рессор, 4 — шкворневой брус; 5 — упряжной брус, 6 — направляющая стойка для буксы

каналы, через которые смазка попадает на поверхности шкворня и шара. Состояние сочленения существенно влияет на ход тележек при движении электровоза как по кривым, так и по прямым участкам пути. Поэтому в эксплуатации необходимо следить за тем, чтобы износ трущихся частей не превышал установленных значений.
Для рамных креплений применяют сталь 25ЛКП повышенного качества. При изготовлении отливок для рамных креплений обеспечивают высокое качество литья с тем, чтобы после обработки привалочных мест на них не образовались «черновины». Поверхность необработанных частей должна быть чистой, не иметь трещин и раковин. Изготовленные отливки отжигают.
Недостатками брусковых рам являются трудоемкость изготовления и большой отход металла.
Цельнолитые р а м ы. Такие рамы вместе с междурамными креплениями отливают как одно целое с боковинами Боковины этих рам (рис. 9) имеют один пояс коробчатого сечения Над буксами в нижней части боковин сделаны отверстия для установки пружин, передающих нагрузку от листовых рессор на буксы. В этом месте незамкнутое сечение боковин усиливают горизонтальными полками; нейтральная ось сечения проходит посередине
К боковинам рамы примыкают стойки, которые являются направляющими для букс. Эти стойки обычно имеют короб-
Рис. 10. Сварная рама трехосной тележки (а) и сечеице боковины (б) электровозов ЧС4 и ЧС4Т
чатое сечение; внизу у них предусмотрены приливы, к которым крепят струнки. Все стенки боковин отливают сравнительно небольшой толщины: 15—20 мм в зависимости от размеров рамы.
Преимущество цельнолитых рам — большая жесткость в поперечном направлении и хорошее использование материала Изготовляют их из углеродистой стали Однако большим недостатком этих рам является наличие открытых сечений боковин над буксами, что обусловлено конструкцией рессорного подвешивания Такое сечение плохо работает на кручение, а в месте перехода от замкнутого сечения к открытому создается сильная концентрация напряжений.
Сварные рамы. Эти рамы применяют на всех современных электровозах и электропоездах. В качестве примера рассмотрим конструкцию рам пассажирских шестиосных и грузовых восьми-осных электровозов.
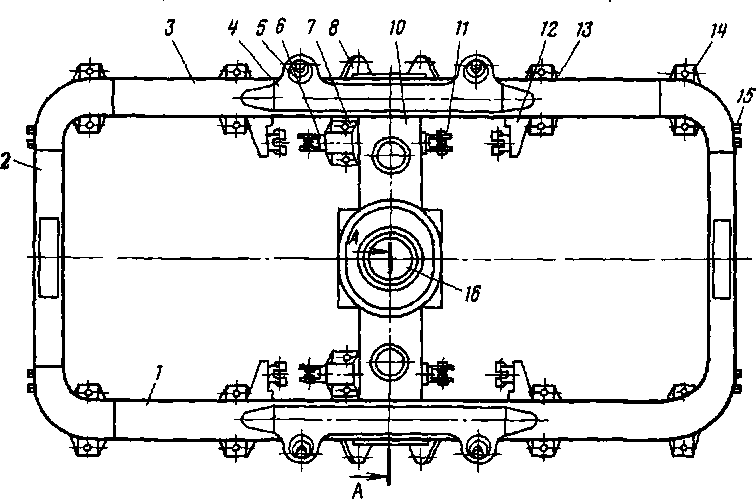
Составными элементами сварной рамы тележки электровозов ЧС4 м ЧС4 являются: боковины / (рис. 10) штампованно-сварные, шкворневой брус 12, поперечный брус 10, передняя 14 и задняя 4 концевые балки. Шкворневой брус расположен между первой, второй или пятой, шестой осями и представляет собой полую балку коробчатого сечения, сваренную из двух фасонных штампованных элементов. Верхняя часть коробки боковины имеет корытообразную форму, выполнена штамповкой из стального листа толщиной 12 мм. Нижняя часть коробки
сварена из трех листов: горизонтального толщиной 14 мм и двух вертикальных тол-шиной 12 мм. Нижний пояс рамы фасонный; вырезы в вертикальных листах и изгибы горизонтального образуют над-буксовые выемки и большие кронштейны 2 крепления буксовых поводков. Нижний горизонтальный лист разрезной, состоит из шести частей. Малые кронштейны 3 буксовых поводков представляют собой отливку; ее вваривают в разрыв между смежными составными частями горизонтального листа. В местах расположения витых пружин буксового рессорного подвешивания горизонтальный лист имеет уширения 15 для крепления опор. В над-буксовых выемках над центрами осей колесных пар к нижнему горизонтальному листу приварены ограничители перемещений буксы относительно рамы тележки. Их используют при контроле зазоров между буксой и рамой тележки под нагрузкой от веса подрессоренных частей электровоза.
На верхней части коробки боковины закреплены плиты //, на которые опираются пружины второй ступени подвешивания (см. § 13). Плиты свободно уложены на верхнюю горизонтальную плоскость боковины. К ним приварены охватывающие боковину косынки 19, которые в свою очередь приварены к вертикальным стенкам по периметру отверстий 20 в косынках. Это позволяет исключить места сварки (концентраторы напряжений) из области высоких напряжений — с горизонтальной плоскости. На верхней горизонтальной плоскости установлены внутренние 9 и внешние 13 ограничители вертикальных перемещений рамы тележки относительно главной рамы кузова. В вертикальные стенки боковин вварены кронштейны для крепления тормозной рычажной передачи 6. Труба, приваренная к кронштейну и пропущенная через обе вертикальные стенки, связывает их и обеспечивает использование всего сечения боковины.
Ту же роль играют решетки «ребер жесткости», устанавливаемые внутри боковин и связывающие их внутренние и внешние вертикальные стенки в месте приварки шкворневого бруса. Ребра, расположенные под опорами кузова, предотвращают возможность потери формы
сечения под действием вертикальной нагрузки.
Ограничители 17 горизонтальных перемещений рамы тележки относительно главной рамы кузова установлены на внешних вертикальных стенках боковины. Торцы боковины закрыты вертикальными листами.
Шкворневой брус 12 связывает ^око-вины, кроме того, на нем размещено гнездо с возвращающим устройством, а также местом крепления первого и второго тяговых двигателей и корпуса редуктора привода первой оси. По конструкции брус представляет собой полую балку коробчатого сечения, сваренную из двух фасонных штампованных элементов. Литая коробка 18 шкворневого узла вварена в среднюю часть балки. Опоры 16 тяговых двигателей и плита 5 крепления редуктора также литые и соединены с балками сваркой. Шкворневую балку приваривают к боковинам на расстояниях 105 мм от верхней и 140 мм от нижней горизонтальной плоскости. Такое соединение шкворневой балки с боковинами позволяет сместить концентратор напряжений, которым является место соединения, в зону малых напряжений, возникающих при вертикальном изгибе боковин. Указанная конструкция соединения с боковинами характерна для всех поперечных балок рамы тележки электровозов ЧС4 и ЧС4Т. К поперечной и передней концевой балкам приварены кронштейны крепления тормозных цилиндров 7 и рычажной тормозной передачи 8.
Раму после изготовления подвергают термообработке в печах для частичного снятия и перераспределения остаточных внутренних напряжений. Сварочные работы после термообработки производить на ней не допускается, так как различные незначительные механические повреждения, вызванные сваркой, могут впоследствии привести к образованию усталостных трещин.
Для разгрузки первой набегающей оси и снижения износа бандажей на электровозах ЧС2, ЧС2Т, ЧС4 и ЧС4тпредусмот-рены упругие межтележечные сочленения (рис. 11).
Рамы тележек электровозов ЧС2 и ЧС2Т по конструкции подобны раме тележки электровозов ЧС4 и ЧС4Т.



Рис 12 Сварная унифицированная рама двухосной тележки электровозов ВЛ10, ВЛ10», ВЛ11, ВЛ80\ влт,
влт, ВЛ80"
Сварная рама тележки грузовых восьмиосных электровозов имеет прямоугольную форму и состоит из двух боковин / и 3 (рис. 12), соединенных шкворневым 10 и двумя концевыми 2 брусьями. Боковины и концевые брусья имеют коробчатое сечение и выполнены сваркой из листов стали 16Д. К нижнему листу боковины приварены малые 14 и большие 13 буксовые кронштейны, отлитые из стали 12 ГТЛ-1; к верхнему листу для усиления боковины приварены накладки 4, к которым крепят сварные наличники под скользуны боковой опоры кузова и обечайку масляной ванны опоры. К накладке и наружной стороне боковины приварены кронштейны 5 лю-лечного подвешивания, к внутренней стороне боковины — кронштейны 12 для подвесок тормозной системы, к наружной — кронштейны 8 под гидравлические гасители
К концевым брусьям приварены кронштейны 15 для подвесок тормозной системы и накладка под рамы противо-разгрузочного устройства.
Шкворневой брус 10 коробчатого сечения имеет усиливающие ребра, состоит из собственно шкворневого бруса и бруса шаровой связи 16, отлитых из стали
12 ГТЛ-1. В средней части шкворневого бруса имеется овальное с коническим переходом по высоте углубление, через которое проходит шкворень. С двух сторон к брусу приварены кронштейны 6 и 11 для подвески рычагов ручного тормоза; на нижней стороне бруса имеются площадки для приварки кронштейнов 7 под крепление тормозных цилиндров.
В брусе шаровой связи 9 имеются проушины для подвешивания тяговых двигателей; во внутренней полости его размещены детали шаровой связи.
Рамы и в целом тележки на всех отечественных грузовых восьмиосных и две-надцатносных (ВЛ15, ВЛ85 ВЛ86*) электровозах унифицированы.
Рамы тележек электропоездов. Рама тележки моторного вагона сварена из штампованных профилей (малоуглеродистая сталь СтЗСН) и состоит из двух продольных боковин и двух средних поперечных балок. Боковины сварены из двух профилей корытообразного сечения с толщиной стенки 12 мм и усилены вваренными внутрь диафрагмами Для увеличения зазоров между корпусами букс и продольными балками в местах расположения букс на нижней плоскости продольных балок имеются уг-
лубления. По обеим сторонам выемки к нижней плоскости балки приварены буксовые направляющие с наличниками из антифрикционного чугуна.
В расточенные отверстия средней части боковин / вварены литые стаканы для установки подвесок центрального подвешивания. Стаканы соединяют верхнюю и нижнюю стенки поперечных балок.
К боковинам приварены литые балки, с шарнирно закрепленными подвесками траверс тормозных башмаков и детали, поддерживающие рычажную передачу, опорные плиты для крепления тормозных цилиндров, кронштейны гидравличе-
ских и фрикционных гасителей колебаний и продольных поводков, передающих усилия тяги и торможения кузову вагона.
Поперечные балки коробчатого сечения сварены из двух штампованных боковин и усилены вваренными внутрь диафрагмами. Внизу поперечные балки соединены съемными распорками 2.
В моторной тележке электропоездов ЭР2Р, ЭР29 и ЭР2Т (рис. 13) применены продольные балки, плавно сужающиеся к концам, отсутствуют буксовые направляющие (на месте буксовых проемов приварены специальные литые кронштейны для крепления буксовых поводков).

Рис 13. Рама тележек моторных вагонов электропоездов ЭР2Т, ЭР2Р, ЭР29, ЭРЗО / — продольная боковина, 2 — распорка поперечных балок, 3 — поперечная балка, 4 и 5 — кронштейны
буксовых поводков
У рам тележек КВЗ-ЦНИИ прицепных вагонов продольные боковины сварены из двух швеллеров № 120 и усилены сверху и снизу накладками из листовой стали толщиной 14 мм В местах размещения букс приварены специальные фланцы, к которым болтами прикреплены шпинто-ны, центрирующие пружины буксового подвешивания. К боковинам приварены также кронштейны гидравлических гасителей колебаний и кронштейны для присоединения продольных поводков. Поперечные балки коробчатого сечения сварены из листовой стали (толщина вертикальных стенок 8 мм, горизонтальных 10 мм).
|
|