Назначение. Автосцепные устройства предназначены для соединения электровоза с составом поезда или вагонов электропоезда друг с другом, передачи продольных растягивающих и сжимающих сил, а также для смягчения действия продольных сил. Важным преимуществом автосцепного устройства является то, что сцепление подвижного состава происходит автоматически.
Классификация. Автосцепные устройства разделяют на жесткие, полужесткие и нежесткие. Каждое устройство состоит из автосцепки, поглощающего аппарата н расцепного привода.
В жестком автосцепном устройстве обе автосцепки имеют одну продольную ось, т е. их взаимные вертикальные перемещения исключаются. Поэтому жесткие автосцепные устройства применяют в тех случаях, когда расцепка и сцепка производятся редко. В нежестких автосцепных устройствах допускаются относительные перемещения двух смежных автосцепок. Такие устройства проще по конструкции, обеспечивают сцепление единиц подвижного состава при значительной разнице расположения автосцепных устройств по высоте, но для них характерен больший износ рабочих поверхностей
Полужестким автосцепиым устройством оборудуют пассажирские рефрижераторные, грузовые восьмиосные и некоторые другие вагоны В этом случае уменьшается число саморасцепов при прохождении вагонами сортировочных горок, паромных съездов и переломов вертикального профиля пути. В таком автосцепном устройстве предусмотрен ограничитель вертикальных перемещений, который начинает действовать при смещении продольных осей сцепленных автосцепок в контуре зацепления по вертикали на на расстояние около 100 мм. Ограничитель не препятствует сцеплению подвижного состава в момент соударения на прямых участках пути и в кривых
радиусом 135 м при скоростях соударений от 1 до 10 км/ч и расхождении продольных осей автосцепок по высоте от 0 до 140 мм.
Центрирующий прибор имеет эластичную (подпружиненную) опору для хвостовика автосцепки и обеспечивает необходимые вертикальные и горизонтальные отклонения автосцепки при сцеплении вагонов Этот прибор возвращает ее в исходное положение после разведения вагонов на прямых и кривых участках пути
На отечественном подвижном составе применяют нежесткие автосцепные устройства (рис. 36), допускаемая разность уровней осей автосцепок перед сцеплением 100 мм. Для предотвращения саморасцепа в пассажирских поездах с 1978 г. автосцепки оборудуют ограничителями, препятствующими относительным перемещениям смежных автосцепок на расстояние более 140 мм.
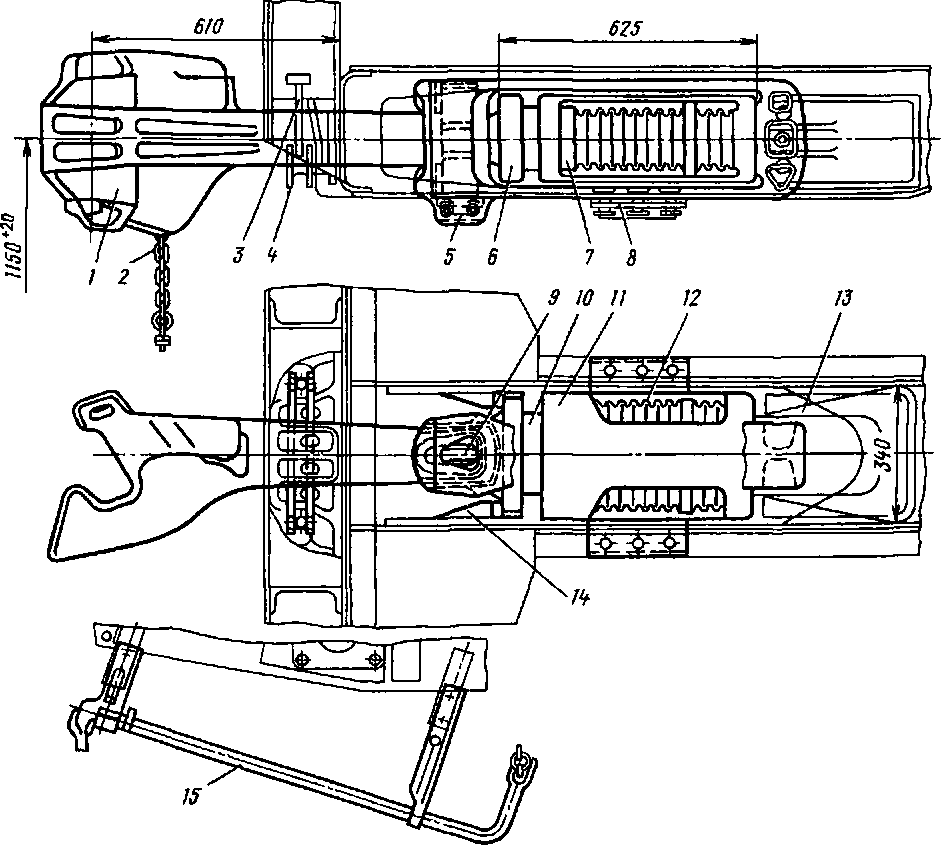
Нежесткое автосцепное устройство состоит из автосцепки СА-3 (советская автосцепка, третий вариант) и поглощающего аппарата. Сила сжатия от корпуса / автосцепки через тяговый хомут 5 передается на поглощающий аппарат //, в котором вследствие трения между рядом перемещающихся друг относительно друга деталей и упругих деформаций пружин 12 поглощается 75% энергии этих усилий. Поглощающий аппарат смягчает удары и рывки, уменьшает динамические воздействия их на подвижной состав. От аппарата усилия через упорную плиту 6 передаются на передние упорные угольники 14, прикрепленные к хребтовой балке рамы кузова. Дно корпуса поглощающего аппарата взаимодействует с задними упорными угольниками 13 таким образом, что при передаче силы тяги и сжимающих усилий поглощающий аппара! работает на сжатие.
После прекращения действия продольной силы на автосцепку сжатые пружины поглощающего аппарата расправля-

Рис. 36. Автосцепное устройство: /—корпус автосцепки; 2—цепь расцепного рычага, 3—маятниковая подвеска, 4—балка, 5—тяговый хомут, 6 — упорная плнта, 7 — горловина поглощающего аппарата, 8 — поддерживающая планка, 9 — клин, 10 — нажимной конус поглощающего аппарата; 11 — поглощающий аппарат; 12 — пружина; 13 — задние упорные угольники; 14 — передние упорные угольники; 15 — расцепной рычаг
ются, выдвигают фрикционные клинья и нажимной конус из корпуса, в результате чего длина поглощающего аппарата восстанавливается до первоначальной. Расцепляют единицы подвижного состава вручную расцепным рычагом. Для рас-

цепления автосцепок нужно до отказа повернуть рукоятку этого рычага любой из двух автосцепок из вертикального положения в сторону от концевой балки и тотчас опустить ее в прежнее положение.
Как показывает практика, существующая конструкция привода автосцепного устройства не обеспечивает его надежную работу. Поэтому с 1983 г. проходит эксплуатационные испытания новый расцепной привод с жесткой связью, в которой отсутствует цепь 2 — один из самых ненадежных элементов существующей конструкции.
Автосцепка СА-3. Она состоит из пустотелого корпуса, в котором помещается механизм сцепления и пустотелого хвостовика / (рис. 37). В вертикальное отверстие вставляется клин для соединения хвостовика с тяговым хомутом Голов-
ная часть 2 имеет большой 3 и малый 4 зубья. Пространство между этими неподвижными зубьями представляет собой зев автосцепки. В зев входит рабочая часть замка 6 и лапа замкодержателя.
Головная часть корпуса автосцепки заканчивается сзади упором, предназначенным для передачи жесткого удара торцу хребтовой балки через концевую балку рамы и ударную розетку. Пустотелый хвостовик корпуса автосцепки имеет прямоугольное сечение постоянной высоты по всей его длине. Торец хвостовика выполнен цилиндрическим. Корпус автосцепки и ее детали отлиты из высококачественной стали без механической обработки.
Во время сцепки локомотива с вагонами или другим локомотивом малый зуб одной автосцепки скользит по скошенной поверхности большого или малого зуба другой Под действием нажатия или удара малые зубья входят в зевы автосцепок, замки при этом сначала вжимаются внутрь корпуса головок, а затем, как только малые зубья становятся на свои места, под действием собственного веса опускаются в нижнее положение, запирая автосцепки. Если автосцепки несколько смещены в стороны, они направляются взаимно скошенными поверхностями зубьев. Чтобы после отклонения автосцепки ее можно было легко возвратить в центральное положение, хвостовик корпуса располагают на центрирующей балке, подвешенной на маятниковых подвесках у верхней части розетки. Чтобы расцепить автосцепки, нужно повернуть до отказа рукоятку подъемника 5 расцепного рычага (см. рис. 37). Для обеспечения нормального процесса расцепления необходимо, чтобы детали свободно, без заеданий, перемещались под действием собственного веса. В тех случаях, когда электровозом вагоны подталкиваются без их сцепки, нужно удерживать замок в расцепленном положении у одной из смежных автосцепок. Для этого рукоятку расцепного рычага поворачивают (как и при расцеплении), но не отпускают, а кладут рычаг плоской частью на горизонтальную полочку кронштейна, находящегося около рукоятки рычага. В этом положении расцепного рычага валик подъемника повернут
до отказа и удерживается натяжением цепи.
Поглощающие аппараты. В эксплуатации широко применяют поглощающие аппараты: ЦНИИ-Н6 (рис. 38, а) и с 1974 г. Р-2П (рис. 38, в) для пассажирских вагонов н вагонов электропоездов, Ш-1-Тм (рис. 38, б), Ш-2-В, Ш-2-Т для грузовых вагонов и электровозов.
Аппарат ЦНИИ-Н6 (см рис. 38, а) работает на сжатие. Он состоит из корпусов / и 13, пружин 6, 7, 8, 9,12, 14, нажимного конуса 2, трех фрикционных клиньев 4, стяжного центрального болта 3 с гайками. Под действием кинетической энергии удара иа ударные поверхности корпуса автосцепки ее хвостовик давит на упорную плиту, а через нее на конус 2, который, сжимая пружины и преодолевая сопротивление трения разрезных фрикционных клиньев 4, входит в них частично или полностью в зависимости от продольного усилия, раздвигает клинья в стороны и прижимает к стенкам корпуса /. Вследствие этого между стенками корпуса и клиньями создается большая сила трения, которая будет тем больше, чем больше сжаты пружины 6 и 7. За счет трения, препятствующего перемещению опорной шайбы 5, поглощается значительная часть кинетической энергии удара (до 75%), остальная часть гасится пружинами.
Внутренняя поверхность корпуса наклонная, и перемещение клиньев сопровождается увеличением сил трения. Работа сил трения характеризует поглощенную энергию, расходуемую на изнашивание и нагревание деталей аппарата. Отношение поглощенной энергии к энергии, затраченной на сжатие аппарата, называют поглощающей способностью (или коэффициентом поглощения энергии) аппарата. У пружинно-фрикционных аппаратов поглощающая способность при полном сжатии, т. е. при соприкосновении корпуса с упорной плитой, составляет 80—85%; остальная часть подводимой энергии идет на сжатие пружин После снятия нагрузки с пружины клинья и нажимной конус возвращаются в исходное положение. Пружины снова раздвигают клинья, преодолевая их трение, что в значительной мере предохраняет поезд от сильных толчков.

При действии сжимающих сил во время сцепки сначала сжимаются центральная 8 и четыре большие угловые пружины 14 пружинной части аппарата, а когда приливы корпуса переместят упорные стержни 10 к дну корпуса 13 с отверстием //, начинают работать четыре малые угловые пружины 12. Пружинно-фрикционная часть вступает в работу после того, как корпус / упрется в торец корпуса 13, что происходит почти одновременно с началом сжатия малых угловых пружин 12. Пружинно-фрикционная часть состоит из трех фрикционных клиньев 4, нажимного конуса 2, шайбы 5, наружной 7 и внутренней 6 пружин. Обе части поглощающего аппарата стянуты болтом 3, который проходит через пружину 9.
Так как первоначально работают только пружины, сопротивление аппарата невелико, что способствует смягчению небольших продольных снл (при трогании и служебном торможении).
Аппарат Ш-1-Тм (см. рис. 38, б) состоит из корпуса /, нажимного конуса 2, трех фрикционных клиньев 4, стяжно-
го болта 3, нажимной шайбы 5, наружной 15 и внутренней 16 пружин.
Поглощающий аппарат Р-2П состоит из корпуса / (см. рис. 38, в), нажимной плиты 17, девяти резинометалли-ческих элементов 18 и промежуточной плиты 19. Каждый резинометаллический элемент имеет два стальных листа толщиной 2 мм, между которыми расположены листы из специальной морозостойкой резины, жестко связанные со стальными листами Резиновые листы имеют параболическое сечение, что предотвращает при сжатии их выход за пределы стальных листов. Для исключения смещения элементов и соприкосновения их с кромками корпуса при сжатии на днище 20, нажимной и промежуточных плитах и на листах элементов имеются фиксирующие выступы и соответствующие им углубления. Толщина элемента 41,5 мм, а полный ход аппарата 70 мм.
В МИИТе разработаны многорежимные гидрогазовые поглощающие аппараты ГА-100М и ГА-500. Каждый аппарат имеет три камеры — две газовые и одну жидкостную, автоматически реаги-
рует на различные режимы работы. Гидрогазовые поглощающие аппараты, принятые к серийному производству, аналогов в мировой практике не имеют и запатентованы в США, Канаде, Англии, Франции, ФРГ, Японии и Индии
|
|