На грузовых восьмиосных электровозах с несочлененными тележками, где
нагрузка от массы кузова передается на тележки через люлечное подвешиаание, шкворневой узел выполняют так, как показано на рис. 22.
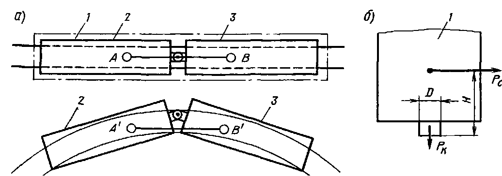
На электровозах ВЛ8, ВЛ23, В Л 22м нагрузка от массы кузова передается на тележки через жесткие опоры, последние должны позволять тележкам не только поворачиваться в горизонтальной плоскости, но перемешаться продольно относительно кузова при движении электровоза в кривых При движении электровоза по прямому участку пути расстояние между двумя точками на шкворневых балках рам 2 и 3 (рис. 47,а)

Рис. 47. Схемы, поясняющие изменение расстояния между опорами сочлененных тележек (а) и действия сил (б) при движении электровоза
сочлененных тележек, расположенными на центральной продольной оси кузова / электровоза, равно АВ, в кривых это расстояние уменьшается до А'В' Поэтому на таких электровозах применены плоские опоры, где одна из опор допускает поворот тележки и скольжение пятника, другая — только поворот тележки. Диаметр плоской опоры О определяется опрокидывающим моментом
Л1опр, создаваемым центробежной силой Рс, приложенной в центре тяжести кузова на высоте Н от опоры (рис. 47,6). Значение этой силы зависит от массы кузова т, приходящейся на опору, скорости движения о и радиуса кривой /?, т. е. йс = ту2//?. Для обеспечения безопасности движения нужно, чтобы восстанавливающий момент Мв = mg й/2 был в 2-5-2,5 раза больше момента

Рис. 48. Опоры секции кузова электровозов ВЛ8: / — амортизатор дополнительной опоры; 2—стакан опоры, 3— опорная плита, 4 — рама тележки, 5 — рама секции кузова, Є — заслонка предохранительная, 7 — пята второй (третьей) тележки, 8— подпятник; 9— пята первой (четвертой) тележки, 10 — болт предохранительный боковой опоры; // — сколь-зуи; 12 — боковая опора секции кузова, 13 — шайбы стальные, 14 — прокладки стальные, 15 — иаделка
чугунная
Мо„р= ти^Н/И. Тогда диаметр плоской опоры 0= (A-±Ь)v2H/{gR).
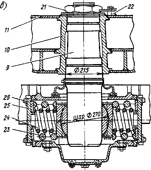
Для примера на рис. 48 показана конструкция опор секции кузова электровоза ВЛ8. Каждая секция опирается на две рамы тележки двумя плоскими пятами 7 и 9 и двумя дополнительными, которые обеспечивают правильную развеску (см. § 24), увеличивают момент сил трения между тележкой и кузовом относительно вертикальной оси. Пята 9 допускает только поворот первой (четвертой) тележки, а пята 7 — поворот второй (третьей) тележки и скольжение Часть пят закреплена в раме секции кузова болтами, а часть установлена на прессовой посадке.
К нижней плоской опорной поверхности пяты и боковой цилиндрической поверхности приварены сменные стальные закаленные наличники. От попадания на опоры пыли и посторонних предметов они защищены заслонками 6 из тонколистовой стали. На пяту подается осевое масло из масленок, расположенных под рамой секции кузова.
Дополнительная опора состоит из стального стакана 2 с чугунной наделкой, скользящей по опорной плите 3 рамы тележки, и двух резиновых амортизаторов / толщиной 25 мм каждый, разделенных стальными шайбами 13 и прокладками 14. Изменяя число и толщину стальных прокладок, регулируют положение рамы тележки, силы, действующие на дополнительные опоры, и зазоры сочленений тележек.
На электровозах ВЛ60" установлены центральные маятниковые и боковые опоры. Центральная опора служит для передачи вертикальных и продольных усилий. Продольные нарузки, силы тяги и торможения со шкворневого бруса / (рис 49,а) рамы тележки через стержень 2, резиновые конусы 3, обеспечивающие упругую передачу усилий, и опорные конусы 4 передаются на кронштейны 12, расположенные на раме 8 кузова. Для придания кузову устойчивости в поперечном направлении с обеих сторон стержня 2 установлены возвращающие устройства 6, соединенные шарнирами через ре-

Рис 49 Центральная (а) и дополнительная (б) опоры кузова электровоза ВЛ60К

зиновые втулки 5 с кронштейнами 7, укрепленными на раме 8 кузова. В местах соприкосновения стержня 2 и кронштейна 12 помещены специальные накладки 10 и упоры // из марганцовистой стали. На шкворневой балке / рамы тележки конус закрыт чехлом 9.
Зазоры между накладками 10 и упорами // в эксплуатации должны быть не более 0,8 мм.
Вертикальные нагрузки воспринимаются центральной и боковыми опорами. Боковые опоры вместе с возвращающими пружинами 13 (рис. 49,6) придают кузову поперечную устойчивость. Пружина 13 установлена в стакане 14 кронштейна, приваренного к балке 8 рамы кузова. Стержень 17 верхним концом через вкладыш 15 из марганцовистой стали и стакан 16 упирается в пружину 13. Нижний конец стержня 17 опирается на вкладыш 18, установленный в кронштейне 19 рамы тележки. Регулировку боковой опоры производят пробкой 20, ввинченной в кронштейн 19 Пружина 13 должна быть сжата не более чем на 47 мм на ровном участке пути.

Рис 50. Боковая шаровая опора (а) и шкворневые узлы электровозов ЧС2, ЧС2* (б) и ЧС4 (в)
На электровозе ЧС2 вертикальная нагрузка от кузова на каждую тележку передается через две боковые шаровые опоры, а продольные силы — через шкворневой узел. Боковая шаровая опора (рис. 50,а) верхним пальцем 6 укреплена во фланце 4, приваренном к боковине 5 рамы кузова, а нижней частью опирается на скользун 7, размещенный в ванне /. Ванна 1 укреплена на хомуте листовой рессоры люлечного подвешивания. Между скользуном 7 и дном ванны / расположена стальная закаленная плита 8, по которой перемещается скользун при повороте тележки относительно рамы кузова. К боковым стенкам ванны приварены накладки 2 из марганцовистой стали, о которые трется скользун 7. На шаровой поверхности опоры 6 имеются канавки, через которые масло, находящееся в ванне /, попадает на трущиеся поверхности. Между фланцем 4 и опорой 6 помешена дистанционная прокладка 3, изменяя толшину которой или добавляя к ней вторую прокладку, можно регулировать зазор между рамами тележек и кузова и поддерживать его
в заданных размерах при просадке листовых рессор люлечного подвешивания.
Шкворневой узел (рис. 50,6) состоит из шкворня 9, верхняя часть которого запрессована усилием 250 кН во втулку 10, приваренную к раме // кузова. Шкворень изготовлен из стали путем ковки и последующей механической обработки. Нижняя цилиндрическая часть шкворня 9 проходит свободно через отверстие в стальном шаре 14. Шар 14 расположен в гнезде, состоящем из нижней 16 и верхней 13 половин, соединенных болтами. Гнездо находится в литой коробке 15 поперечной балки 20 рамы тележки. Между гнездом и коробкой в продольном направлении зазора нет, а в поперечном — предусмотрен зазор, позволяющий смещаться гнезду или тележке относительно продолной оси иа 30 мм в обе стороны. Гнездо в коробку вводят снизу, после чего к поперечной балке рамы тележки болтами прикрепляют крышку 17.
К боковым граням гнезда болтами прикрепляют для уменьшения трения пластмассовые накладки, которые при перемещении тележки трутся о стенки коробки 15. По мере износа накладки заменяют. Коробку 15 заполняют маслом, наливаемым через трубку, конец которой выведен в кузов; уровень его в коробке определяют с помощью контрольной трубки, выведенной наружу балки и закрытой пробкой. Для лучшего доступа масла на шаре сделаны специальные канавки. Масло из коробки спускают через отверстие в нижней крышке 19, закрытое пробкой 18. Чтобы в коробку не попадала влага и посторонние предметы, на фланце шкворня 9 укреплен кожаный чехол 12. Шаровое устройство позволяет

кузову наклоняться и иметь вертикальное перемещение относительно рамы тележки.
На электровозах ЧС4 и ЧС4Т горизонтальные силы передаются шкворнями 9. Для улучшения горизонтальной динамики в поперечном направлении в шкворневом узле предусмотрены линейные перемещения (рис. 50 в). Шкворень 9 на электровозе ЧС4 запрессован по конусу 1:15 в гнездо (коробку) 10, вваренное в шкворневую балку // кузова (на электровозе ЧС4 шкворень запрессован в гнездо по двум цилиндрическим поверхностям). Дополнительно затягивают шкворень гайкой 21 со стопорной планкой 22. С рамой тележки шкворень 9, как и на электровозе ЧС2, связан через шкворневую коробку.
Перемещению скользуна в поперечном направлении противодействует упругая сила пружинных комплектов. Каждый комплект состоит из наружной 23 и внутренней 24 пружин, установленных горизонтально в свободном пространстве шкворневой коробки между скользуном и упорными прокладками 25, закрываемыми крышкой 26.
Упругая поперечная связь кузова с тележками оказывает большое влияние на плавность хода электровоза, особенно при движении в прямых участках пути, и поэтому ее параметры не могут выбираться произвольно.
Желательно, чтобы начальная жесткость упругого соединения была как можно меньше; однако она должна быть достаточной для возвращения кузова в со-осное с тележками положение. Для ограничения перемещений и исключения жестких ударов кузова о раму тележки при исчерпании зазоров с некоторого момента жесткость упругой системы должна резко возрастать На электровозах ЧС4 и ЧС4Т для выполнения этих требований осуществлены специальные конструктивные решения: выбор оптимальных параметров пружин, зазоров, установка на боковины рамы кузова резиновых упоров и др.
На электропоездах шкворневое устройство, предназначенное для соединения кузова с рамой тележки моторного вагона, выполнено так, как показано на рис. 51,а. Шкворень / запрессован в от-
верстие пятника 4 усилием 117,6—147 кН и затянут в шкворневой балке 5 кузова специальной гайкой с усилием 294— 393 Н. При этом зазор между торцом пятника 4 и буртом шкворня / должен быть не менее 8 мм. Упругий элемент 3, через который проходит нижняя часть шкворня, состоящая из пружины, завул-канизированной в резиновой массе, закреплен во втулке поперечной балки 2 рамы тележки нажимной шайбой 6 и гайкой; между торцами шайбы и втулки имеется зазор не менее 3 мм. Шкворень с резиновой втулкой способствует гашению оставшихся колебаний после второй ступени рессорного подвешивания. Верхний скользун состоит из стальных закаленных пластин, прикрепленных к шкворневой балке кузова, и резиновой прокладки, размещенной между балкой 5 и пластинами, расположенными на балке 2.
Нижний скользун изготовлен из специального древесно-слоистого пластика ДСП-Г и размещен в литой опорной коробке поперечной балки 2 на резиновых прокладках. Для обеспечения постоянства момента трения при вписывании тележки в кривые и уменьшения бокового давления гребней колес на головки рельсов скользуны смазывают универсальными густыми смазками
На прицепных и головных вагонах шкворневое устройство выполнено в виде плоских пятников (рис. 51,6). Верхний пятник 7 прикреплен к шкворневой балке 8 рамы кузова болтами и входит в нижний пятник 9, укрепленный на над-рессорной балке 10 рамы тележки вагона, таким образом, что их плоскости не соприкасаются (имеется контролируемый зазор а) и кузов лежит на сколь-зунах тележки.
|
|