СЦБИСТ - железнодорожный форум, фотогалерея, социальная сеть


§ 23. Расположение электрического оборудования на электропоездах

Основные положения. Помимо общих требований, приведенных на с. 90, расположение электрического оборудования на электропоездах должно обеспечивать следующее: наиболее полное и максимальное использование площади кузовов вагонов для пассажиров, оптимальные условия освещения, отопления и вентиляции. Основную часть электрооборудования размещают в подвагонных камерах, подвешенных к рамам кузовов, на тележках и на крышах кузовов. Только небольшую часть аппаратуры располагают в шкафах, установленных в тамбурах вагонов. Подвагонные камеры электропоездов представляют собой сварную конструкцию со съемными крышками, которые снабжены двойным уплотнением из губчатой резины. Далее в качестве примеров описано расположение электрооборудования на электропоездах ЭР2Р, ЭР2Т и ЭР9Е соответственно постоянного и переменного тока.

Вагоны электропоездов ЭР2Р и ЭР2Т.

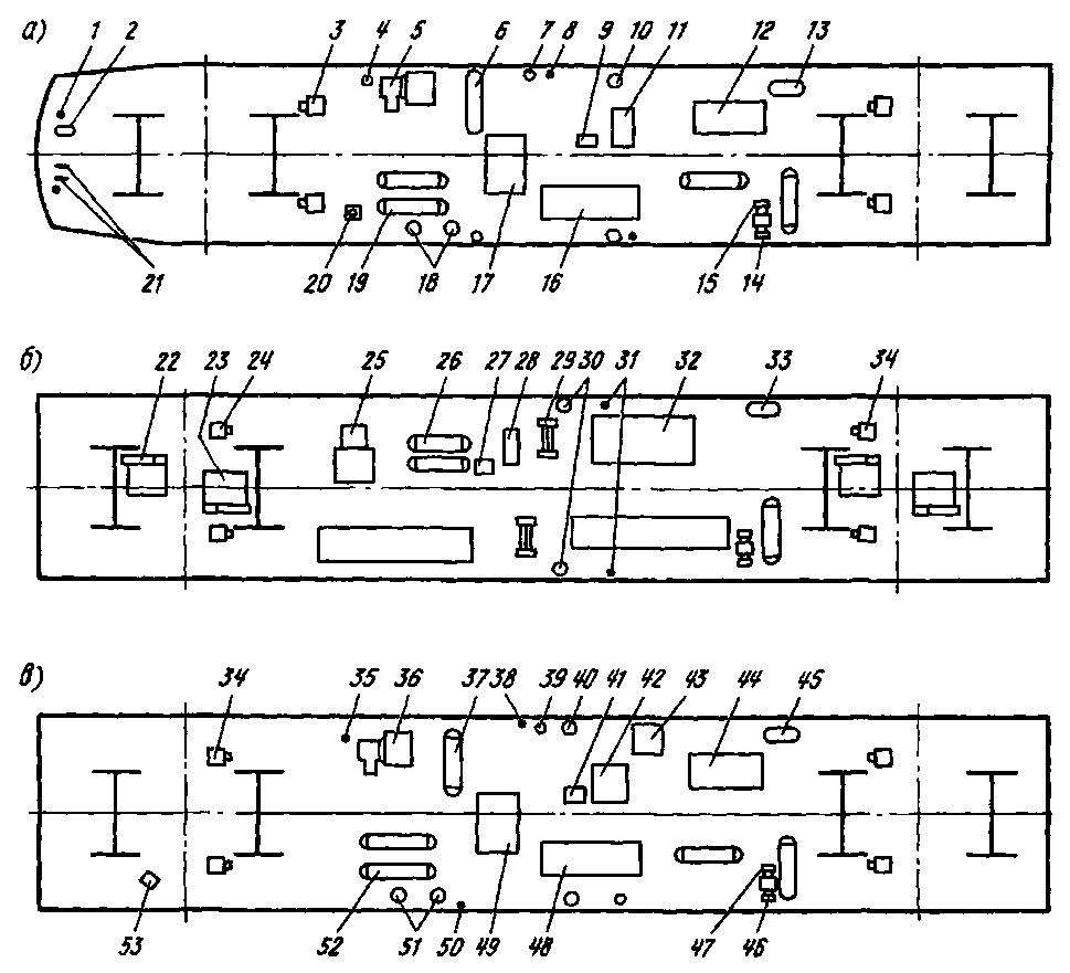
На раме под кузовом головного вагона (рис. 58,а) подвешены аккумуляторная батарея 12, мотор-компрессор 5, преобразователь (двухмашинный агрегат) 17, ящик 16 с контакторами вспомогательных цепей, электровоздухораспределитель 14, воздухораспределитель 15, воздушные резервуары — два главных 19 по 170 л каждый, три резервуара 6 по 78 л, один уравнительный 2 на 20 л и один вспомогательный 13 на 12 л, блок пусковых резисторов // и преобразователь. На рамах тележек установлены тормозные цилиндры 3, а под кузовом на раме — фильтры 4 для очистки воздуха, засасываемого компрессором, два маслоотделителя 18, обогреватель сливной трубы 20, два свистка /, два тифона 21, мусоросборник 9, с левой и правой стороны — розетки 7 деповского питания, а также вакуумные патрубки 10 и патрубки і? водоснабжения, используемые при механизированной уборке вагона электропоезда

В кабине машиниста смонтирован пульт с аппаратами управления, сигнализации и радиосвязи, измерительными приборами. Часть из них размещена на задней стенке кабины. Пульт выполнен в виде отдельных съемных блоков. В левой его части у места помощника машиниста установлен маховик ручного тормоза (см. рис. 58,а). В пульте предусмотрены отсеки для аптечки и технической документации, под ним на полу перед креслом машиниста установлена педаль для воздействия на клапан тифона и свистка. Такая же педаль имеется и около места помощника В правой части кабины на задней стенке расположен блок с выключателями цепей вспомогательных нужд.

В шкафу № 1 размещены электропневматический клапан автостопа, кран двойной тягн, вентиль замещения электропневматического торможения пневматическим, два разобщительных крана, фильтр, штепсельные разъемы и др. В шкафу № 2 установлен блок с аппаратурой управления поездом, вентиляцией и электропневматическим торможением; в шкафу № 3 — усилитель и устройство питания, приемопередатчик и блок питания из комплекта радиостанции, бло-


Рис 58 Расположение оборудования под кузовом и в шкафах головного (о), моторного (б) и прицепного (в) вагонов электропоезда ЭР2Р

ки питания, управления и регистрации из комплекта скоростемера, в шкафу № 4 — дешифратор и усилитель из аппаратуры локомотивной сигнализации, в шкафу № 5 — блок с аппаратурой управления освещением, отоплением и вентиляцией; в шкафу № 6 — блок с амперметром и вольтметром заряда батареи и регуляторами напряжения и частоты преобразователя в шкафу № 7 — блок с аппаратурой управления и переключателем цепи заряда батареи, трансформатор цепи управления зарядом батареи и питания цепей I10 В.

Рядом со шкафом № 1 смонтирован электрокалорифер для обогрева кабины. Слева от двери кабины находится шкаф для одежды, открывающийся со стороны тамбура, а над ним — шкафчик для термосов и продуктов, открывающийся внутрь кабины На каркасах шкафа № 1 и шкафа для одежды около наружных дверей установлены блоки с выключате-

4 Зак 95 5

лями дверей, кнопками звуковой сигнализации и лампами сигнализации закрытого положения дверей; рядом размещены пульты оповещения системы ТОН. На крыше вагона установлены антенна и резистор цепи прожектора.

Под кузовом моторного вагона размещено все электрическое и пневматическое оборудование (рис. 58,6), по два тяговых двигателя 22, 23 и два тормозных цилиндра 24, 34 на каждой тележке, ящик 32 (ІЯК.013) с силовыми контакторами, ящик с контакторами отопления и реверсивно-тормозным переключателем, ящик с реостатным контроллером, главным разъединителем и повторителем силовых контакторов, автоматический быстродействующий выключатель 25, индуктивный шунт 28, блок 29 шунтирующих резисторов, блок резисторов ослабления возбуждения, электровоздухораспределитель, воздухораспределитель, воздушные резервуары 26 по

97

78 л и 33 на 12 л, а также мусоросборник 27. С левой н правой стороны расположены вакуумные патрубки 30 и патрубки 31 водоснабжения, используемые при механизированной уборке вагона.

В лобовом и торцовом шкафах расположены блоки с аппаратурой для пуска вспомогательного компрессора, выключатели, вспомогательный компрессор и маслоотделитель, с аппаратурой управления торможением; размещены амперметры для измерения тягового тока и тока реостатного торможения и вольтметр для измерения напряжения тяговых двигателей, амперметр для измерения тока тяговых двигателей в режиме тяги и рекуперации, счетчик, шунты н добавочные резисторы, колонка ручного тормоза. На крыше расположены токоприемник, два разрядника РМВУ-3,3, конденсаторный и индуктивный фильтры радиопомех и 16 блоков пуско-тормозных резисторов. Разрядники и фильтры установлены на общей раме, которую крепят к крыше на амортизаторах, разрядники имеют ограждения, которые в случае их разрушения не позволяют разлететься осколкам.

Провода для соединения токоприемников при их параллельной работе проложены в трубе вдоль крыши, перемычку междувагонного соединения, обеспечивающую параллельную работу токоприемников, крепят болтами к кронштейнам по концам крыши. Провода от пуско-тормозных резисторов проходят по желобу на чердак Лестница для подъема на крышу расположена на лобовой стене и имеет электрическую блокировку безопасности.

Под кузовом прицепного вагона (рис. 58,в) размещены аккумуляторная батарея 44, преобразователь 49, мотор-компрессор 36, ящик 48 с контакторами высоковольтных вспомогательных цепей, блок 42 демпферных резисторов, электровоздухораспределитель 46, воздухораспределитель 47, по два тормозных цилиндра 34 на тележке, два главных резервуара 52 по 170 л, три резервуара 37 по 78 л, резурвуар 45 на 12 л, два маслоотделителя 51, обогреватель сливной трубы 53, мусоросборник 41, фильтр 35 и ящик для колодок 43. С левой и правой

стороны расположены розетки 38, 50 деповского питания, вакуумные патрубки 40 и патрубки 39 водоснабжения

Вагоны электропоездов ЭР9Е. На раме под кузовом головного вагона (рис. 59,а) подвешены: воздушные резервуары— один уравнительный / на 20 л, два главных 8 по 170 л, один запасной 9 на 78 л, трансформатор 2, реактор (дроссель) 3, аккумуляторная батарея 4, мотор-компрессор 5, фильтр 6, маслоотделитель 7, электровоздухораспределитель 10, воздухораспределитель //, тормозной цилиндр 12, мусоросборник 13 и обогреватель 14 сливной трубы туалета В кабине машиниста расположен пульт с аппаратами управления, сигнализации и радиосвязи, измерительными приборами Пульт, как и на вагоне электропоезда ЭР2Р, выполнен в виде отдельных съемных блоков. В шкафу № 1 размещены электропневматический клапан автостопа, кран двойной тяги, вентиль замещения электропневматического торможения пневматическим, электрический звонок и штепсельные разъемы; в шкафу № 2 — блок с аппаратурой аккумуляторной батареи и питания цепей управления; в шкафу № 3 — блоки из комплекта радиостанции, усилитель, устройство переходное и устройство питания нз комплекта аппаратуры оповещения ТОН, в шкафу № 4 — панель с аппаратурой электропневматического тормоза,№ 5 — аппаратура локомотивной сигнализации; №6 — блок с аппаратурой освещения, вентиляции и компрессор, в шкафу №7 — панель 1ПА.383 с контакторами цепей отопления салона.

Рядом со шкафом № 1 установлен электрокалорифер для обогрева кабины. Слева от двери кабины находится шкаф для одежды, а над ним — шкафчик для термосов и продуктов. На каркасах шкафа № 1 и шкафа для одежды около наружных дверей установлены блоки с выключателями дверей, кнопками звуковой сигнализации и лампами сигнализации закрытого положения дверей, рядом размещены пульты оповещения системы ТОН. Блоки соединяются с цепями вагона штепсельными разъемами. На крыше вагона установлены антенна и резисторы прожектора.

Под кузовом моторного вагона на те-


Рис 59 Расположение оборудования под кузовом и в шкафах головного (а), моторного (б и г) и прицепного (в) вагонов электропоезда ЭР9Е

лежках установлены тяговые двигатели 15 и 24 (рис 59,6) и тормозные цилиндры 16, на раме кузова — тяговый трансформатор 17 со встроенным реактором, выпрямитель 21, охладитель масла 18, ящик 19 с контакторами и трансформаторами тока, ящик 20 с разрядником, резистор 22 расщепителя фаз 23, воздушные резервуары 25 и 31, реле давления 26, резисторы 27 и 28, мусоросборник 29, камера 30 с аппаратурой,электровоздухораспределитель 32 и воздухораспределитель 33. В шкафах (рис. 59 г) расположены: № 1 — панель с аппаратурой освещения и вентиляции, вспомогательный компрессор с двигателем и регулятором давления, два манометра,редуктор, клапан токоприемника, переключающие краны пневматической сети токоприемника и воздушного выключателя; № 2 — блок с аппаратурой управления; № 3 — проходной трансформатор тока, верхняя часть проходного изолятора и токоведу-шая шина, соединяющая их; № 4 — блок с аппаратурой стабилизации напряжения 220 В; № 5 — блок ускоренного отключения выключателя, фильтр конденсаторный, амперметр цепи тяговых двигателей и счетчик расхода электроэнергии; № 6 — планки с зажимами. Через дверцы шкафов № 1, 2, 4 и 6 осу-

ществляется доступ к проводам, подходящим к розеткам и штепселям междувагонных соединений цепей управления.

В тамбурах и в простенке между окнами рядом со шкафом с высоковольтным вводом установлено по одному стоп-крану. На крыше моторного вагона расположены токоприемник, разрядник, индуктивный фильтр радиопомех, воздушный выключатель, верхняя половина трансформатора тока высоковольтного ввода и опорные изоляторы с шинами для параллельного соединения токоприемников.

Под кузовом на раме прицепного вагона (рис. 59,в) расположены: мусоросборник 34, аккумуляторная батарея 35, маслоотделитель 36, главные воздушные резервуары 37 по 170 л каждый, тормозной цилиндр 38, электровоздухораспределитель 39, воздухораспределитель 40, запасной резервуар 41 на 78 л, мотор-компрессор 42, фильтр 43 и обогреватель 44 сливной трубы. В шкафах, как и на моторном вагоне, установлены блоки с аппаратурой управления, освещения, вентиляции, отопления. В торцовом шкафу № 4 размешен маховик ручного тормоза и планки с зажимами, на крыше — опорные изоляторы с шинами для параллельного соединения токоприемников.

Предыдущая Оглавление Следующая