На э. п. с. тяговые трансформаторы применяют для понижения напряжения до уровня, необходимого для работы тяговых двигателей, двигателей вспомогательных машин и других устройств.
На э. п. с. со статическими преобразователями у тяговых трансформаторов имеются еще несколько вторичных обмоток (тяговая, собственных нужд). Поэтому для трансформатора э. п с. переменного тока введено понятие типовая мощность. Тяговый трансформатор в процессе работы локомотива нагревается медленнее, чем тяговые двигатели. Поэтому обычно типовую мощность трансформатора определяют по длительной мощности тяговых двигателей, полагая, что работа их в кратковременных режимах не отражается заметно на установившейся температуре обмоток трансформатора. Если пренебречь током холостого хода трансформатора, а также потерями в нем и в выпрямителях, то типовая мощность в режиме тяги
где Рдоо = к^Р^ — мощность тягового двигателя в продолжительном режиме (здесь коэффициент вентиляции кв = = 0,85 Ч- 0,95 при независимой вентиляции и /св = 0,7 -ь 0,85 при самовентиляции); пд — число тяговых двигателей локомотива; — коэффициент формы кривой тока нагрузки трансформатора (/Сф = 1,03 Ч- 1,08); к™ — коэффициент типовой мощности трансформатора, т. е. отношение типовой мощности к номинальной выпрямленной («^ = 1,11 и ж,.м = 1,34 соответственно для схем выпрямления мостовой и с нулевым выводом при регулировании напряжения на стороне низшего напряжения, при регулировании напряжения на стороне высшего напряжения соответственно /с,.м = = 1,66 и к™ = 1,89); г)доо — к. п. д. двигателя в продолжительном режиме
Типовая мощность при полной нагрузке трансформатора
где Рвст — мощность обмотки вспомогательных нужд (обычно при общих подсчетах Рвст принимают равной 7,5—12% мощности тяговой обмотки); Рот — мощность обмотки отопления (на один пассажирский вагон для отопления требуется мощность Рот = 30 4-40 кВ-А) '.
Трансформаторы э. п. с. характеризуются еще и номинальной мощностью — это длительная мощность, потребляемая из сети при номинальных значениях выпрямленных тока и напряжения. Отношение мощности Р2, отдаваемой трансформатором, к подведенной к нему мощности Я) есть к. п д., который обычно равен 97—99%
Тяговые трансфоматоры в отличие от стационарных имеют широкий диапазон регулирования выходного напряжения. Кроме того, они должны надежно работать в более тяжелых условиях: при возможном отклонении напряжения на токоприемнике от +15 до —25% номинального, воздействии вибраций и толчков с частотой 1,5—3,0 Гц; ускорении в вертикальном направлении 0,3 § и в горизонтальном поперечном направлении 0,2 g■, значительных динамических усилиях в обмотках, вызванных глухими короткими замыканиями; температуре воздуха, охлаждающего трансформатор от +40 до —50 °С; воздействии на обмотки атмосферных и коммутационных перенапряжений 10 кВ и более; без дополнительных ремонтов в промежутке между большими периодическими ремонтами, при которых производят подъемку магнитопровода с обмотками, проверяют и восстанавливают все крепления.
Конструкция тяговых трансформато-
1 При определении мощности обмотки отопления число вагонов в пассажирском поезде принимают равным 16, а число вагонов в секции электропоезда — равным двум
ров в значительной степени зависит от способа регулирования напряжения на локомотиве (схема включения обмоток, число секций и выводов); основными узлами трансформаторов являются: маг-нитопровод, обмотки, бак, вводы и система охлаждения. На э. п. с. переменного тока применяют тяговые трансформаторы с регулированием напряжения на стороне низшего напряжения, с регулированием напряжения на стороне высшего напряжения и трансформаторы с постоянным коэффициентом трансформации.
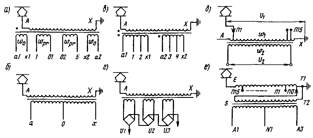
Трансформатор со ступенчатым регулированием напряжения на стороне низшего напряжения (рис. 108, а) имеет на вторичной стороне регулируемые и нерегулируемые обмотки, включаемые встречно или согласно. От каждой пары обмоток (регулируемой й нерегулируемой) питается через выпрямитель группа тяговых двигателей. Такая схема принята в качестве типовой для электровозов ВЛ60\ ВЛ80Т, ВЛ80К, ВЛ80С. Применение встречного и согласного включения обмоток позволяет при небольшом числе секций (например, восьми) получить большое количество ходовых ступеней регулирования напряжения.
На электровозах двойного ВЛ82, ВЛ82М питания регулирование напряжения обычно осуществляется на стороне постоянного тока. Для таких локомотивов тяговые трансформаторы выполняют с постоянным коэффициентом трансформации (рис. 108, б). Вторичная (тяговая) обмотка имеет два основных вывода а, х и точку 0; рассчитана эта обмотка на суммарную мощность всех тяговых двигателей электровоза
На электропоездах ЭР9П, ЭР9М, ЭР9Е напряжение регулируют на стороне низшего напряжения по схеме рис. 108, в. Число выводов вторичной обмотки определяют исходя из оптимального напряжения ступени. Уменьшение числа выводов приводит к увеличению напряжения ступени, т. е. к упрощению конструкции тягового трансформатора, но одновременно и к сокращению ходовых позиций.
Тяговый трансформатор, собранный по схеме рис. 108, в и г, также выполнен с регулированием на стороне низшего
напряжения. Вторичная обмотка его разделена на две или три части, к которым подключают выпрямительные мосты 111—U3 для бесконтактного плавного регулирования напряжения Число ступеней в этом случае определяется допустимым снижением коэффициента мощности электровоза или моторного вагона при пуске, допустимым искажением формы потребляемого тока и условиями работы тиристоров.
При регулировании напряжения на стороне низшего напряжения, как видно из рис. 108, а, б, в, г, тяговые трансформаторы имеют только первичные (сетевые) А—X и вторичные (тяговые) обмотки. Однако при регулировании на стороне высшего напряжения нельзя выполнить тяговый трансформатор с простым переключением ступеней первичной обмотки А—X (рис. 108, д). Пуск локомотива в этом случае должен начинаться со ступени П1, которой соответствует максимальное число витков первичной обмотки, так как напряжение U2 ^1/{/кт ~ Ulw2/wv
По окончании пуска значительная часть витков обмотки А—X должна быть выведена из цепи и на конце А этой обмотки появится напряжение, в несколько раз превосходящее напряжение контактной сети. Использование обмотки А—X при этом будет неудовлетворительное. Чтобы избежать столь высокого повышения напряжения на обмотке А—X и улучшить ее использование, на локомотивах с регулированием напряжения на стороне высшего напряжения применяют тяговые трансформаторы с регулировочными автотрансформаторами.
Автотрансформатор может быть выполнен или на отдельном сердечнике, или в виде дополнительной обмотки на сердечнике основного трансформатора (рис. 108, е). Магнитный поток в стержне регулировочной обмотки Е — 77 на всех ступенях регулирования остается постоянным, так как постоянно напряжение на ее зажимах. Ко вторичной (тяговой) обмотке At — A3 через выпрямители подключают тяговые двигатели. Вторичная обмотка также может быть разделена на равные части, от которых получают питание отдельные тяговые двигатели.

Рис 108. Схемы обмоток тяговых трансформаторов с регулированием на стороне низшего
(о, б, в и г) и высшего (д и е) напряжения: А—X — первичная обмотка; а2—х2, х1—а1, а-о-х — основные нерегулируемые обмотки; 5—02, 01—/ — регулируемые; VI, 112, 113 — выпрямительные мосты; Е—77 — обмотка автотрансформатора; 5—Т2 — первичная обмотка, А1—N1, N1—АЗ — вторичные обмоткн
Когда обмотка тягового трансформатора подключена к выводу ПО, напряжение на обмотке S — Т2 равно нулю; также равно нулю и напряжение на обмотке А1 — N1. При подключении к выводу П1 на обмотке S — Т2 напряжение повышается, соответственно увеличивается напряжение и на обмотке А1 — N1. Таким образом, при регулировании на обмотке высшего напряжения в трансформатор необходимо вводить дополнительную обмотку. В результате усложняется его конструкция, увеличивается по сравнению с трансформатором с регулированием на стороне низшего напряжения типовая мощность, понижается cos ф на промежуточных позициях.
Такие тяговые трансформаторы тяжелее примерно на 12%, чем трансформаторы с регулированием напряжения на стороне низшего напряжения. Коэффициент типовой мощности тягового трансформатора с регулированием на стороне высшего напряжения, если обмотка Е — 77. выполнена из провода одного сечения, равен 1,6, трансформатора с регулированием на стороне низшего напряжения—1,11. Преимуществом схемы рис. 108, е является меньшая масса (на 25—30%) и простота коммутационной аппаратуры, так как токи в обмотке Е — 77 при напряжении на токоприемнике 25 кВ обычно не превосходят 200 А.
На серийном электроподвижном составе отечественного производства применяют трансформаторы с регулированием иа стороне низшего напряжения За рубежом многие электровозы имеют трансформаторы с регулированием на стороне высшего напряжения Также осуществляется регулирование напряжения на электровозах ЧС4, ЧС4Т и ЧС8, эксплуатируемых на дорогах СССР.
По устройству магнитной системы тяговые трансформаторы разделяют на стержневые (рис. 109, а) и броневые (рис. 109, б и в). У стержневых трансформаторов обмотки 2 различного напряжения располагают концентрически в виде цилиндрических катушек, охватывающих стержни магнитопровода /. В броневых трансформаторах стержни магнитопровода / частично охватывают, как бы бронируя их, обмотки 2, состоящие из дисковых катушек.
Трансформаторы отечественного производства с регулированием на стороне низшего напряжения выполняют стержневыми, а тяговые трансформаторы с регулированием на стороне высшего напряжения — броневыми.
Магнитопровод и обмотки являются активными узлами трансформатора. При работе трансформатора в них выделяется тепло, а следовательно, их необходимо охлаждать. В связи с ограничением размеров и массы тяговые транс-

форматоры выполняют с повышенными тепловыми нагрузками, применяя масляное охлаждение с принудительной циркуляцией масла. Такая система охлаждения наиболее эффективна, так как при ней значительно увеличивается теплоотдача по сравнению с теплоотдачей при естественном охлаждении (трансформаторы с принудительным воздушным охлаждением. Интенсивное охлаждение циркулирующим маслом позволяет доводить плотность тока в обмотках трансформатора до 4,5—5,5 А/мм2.
В трансформаторах применяют масло, имеющее пробивное напряжение 25— 30 кВ/мм, температуру вспышки не ниже 135°С, температуру застывания не выше —45 °С и плотность около 900 кг/м3 при отсутствии механических примесей и воды.
Для трансформаторов отечественного производства с изоляцией обмоток, выполненной из бумаги, устанавливают следующие допускаемые превышения температур над температурой окружающего воздуха: обмотки трансформатора — на 70 °С; поверхность сердечников — на 75 °С; трансформаторное масло в его верхних слоях — на 60 °С. При температуре окружающего воздуха 35 °С наивысшая температура обмоток не должна превосходить 105 °С, масла — 95 °С, а сердечника на поверхности — 110°С.
|
|