Общие сведения. Групповыми контакторами называют аппараты, состоящие из нескольких кулачковых контакторов (контакторных элементов) или выключателей контакторного типа с общим механическим приводом, обычно кулачковым. Кулачки, управляющие контакторами, объединяются общим валом, для вращения которого аппарат снабжают приводом.
Индивидуальные контакторы по сравнению с групповыми имеют простую конструкцию, однако применение их значительно усложняет цепи управления из-за необходимости иметь большое число блок-контактов для обеспечения последовательности срабатывания контакторов. Поэтому применение групповых контакторов позволяет значительно сократить число электрических блокировок (последовательность замыкания и размыкания контактов обеспечивается разверткой кулачковых шайб), упростить электрические цепи, повысить их надежность и уменьшить размеры контроллера машиниста.
Название группового контактора обычно связано с теми функциями, которые выполняют его кулачковые контакторы, например: групповые контакторы, предназначенные для переключения тяговых двигателей с одного соединения на другое, называют групповыми переключателями; групповые контакторы, переключающие ступени реостатов (резисторов),— реостатными контроллерами
Основными частями группового контактора являются кулачковые контакторы, кулачковый вал с кулачковыми шайбами или кулачками, привод, блокировочное устройство и корпус.
Кулачковые контакторы. По принципу действия кулачков или кулачковых шайб различают контакторы:
работающие на замыкание (рис. 171, а), т.е. с замыкающими контактами 1 и 2, которые замыкают цепь тока под действием выступа кулачковой шайбы 4,

Рис. 171 Кинематические схемы кулачковых контакторов, работающих на замыкание (а) и размыкание (б):
/ — неподвижный контакт, 2 — подвижной контакт; 3 — притирающая пружина, 4 — кулачковая шайба, 5 — кулачковый вал, б — ролик, 7 — включающая пружина
а размыкают под действием пружины или собственного веса подвижной системы. Нажатие контактов создается усилием притирающей пружины 3 работающие на размыкание (рис. 171, б), т.е. с размыкающими контактами, которые замыкаются под действием включающей пружины 7; размыкаются они под действием выступа кулачковой шайбы 4, который с помощью ролика и рычага подвижного контакта 2 сжимает включающую пружину.
К первому виду относятся кулачковые контакторы типа КЭ-1 групповых переключателей электровозов ВЛ8, ВЛ10, ВЛ10У, ВЛ11 и др.; ко второму — например, кулачковые контакторы групповых переключателей и главных контроллеров электровозов ВЛ60К, ВЛ80, ВЛ80Т, ВЛ80° и кулачковые контакторы типов КЭ-4 и КЗ-30 электропоездов. Оба вида кулачковых контакторов на э.п.с. имеют примерно одинаковое распространение.
Кулачковые контакторы выполняют как с дугогашением, так и без него (рис. 172).
В целях повышения допустимой температуры нагрева контакты иногда серебрят электролитическим способом (кулачковые контакторы ЭКГ-8 и др.). Чтобы ускорить восстановление электрической прочности дугового промежутка, у некоторых кулачковых контакторов (на главном контроллере ЭКГ-8 и др.) продувают сжатым воздухом пространство между разрывными контактами. Воздух подают по воздушному каналу в верхнем кронштейне от электромагнитных вентилей. Для повышения электродинамической стойкости контактор снабжен электромагнитным компенсатором, состоящим из якоря и ярма. Якорь жестко укреплен на держателе неподвижного контакта. Ярмо охватывает контактные рычаги и укреплено на рычаге разрывного контакта. При прохождении тока по рычагу в ярме и якоре образуется магнитный поток, под действием которого ярмо притягивается к якорю и создает дополнительное нажатие на главные и разрывные контакты, имеющие контактные напайки из металлокерамических композиций.

Рис 172. Кулачковые контакторы главного контроллера ЭКГ-8 с дугогашением (а) и без него (б).
1 и 23 — рейки изолированные для установки контакторов, 2 — держатель; 3 — включающая пружина, 4 — гибкий шунт, 5 — приводной рычаг, 6 — боковина, 7 — контактный рычаг, 8 — якорь компенсатора; 9 — контактодержатель; 10 — полюс, // — фланец полюса, 12 — дугогасительная катушка с деионной решеткой, 13 — дугогасительная камера, 14— разрывные контакты, 15— рцчаг разрывного контакта; 16 — главные контакты; 17 — пружина разрывного контакта, 18 — гибкий шунт, 19 — регулировочные прокладки, 20 — прижимной винт, 21 — ярмо компенсатора, 22 — резиновая втулка, 24 — прижим; 25—центральная ось; 26—кулачковая шайба; 27 — хомут, 28 — кулачковый вал, 29 — прокладка
Кулачковые валы. Валы для групповых контакторов выполняют из стали. Они имеют в средней части квадратное, шестигранное или круглое сечение и опираются обычно на шариковые подшипники.
На валу крепят литые чугунные кулачки или прессованные из пластмассы кулачковые шайбы.
В случае применения чугунных кулачков вал опрессовывают изоляцией. Контакторы группируют так, чтобы рядом находились контакты одного потенциала. Кулачки таких контакторов выполняют из одной отливки, плотно надевают на опрессованный вал и фиксируют на нем стопорными болтами. Для увеличения расстояния по поверхности изоляции между кулачками разного потенциала на вал надевают изоляторы, имеющие фигурный профиль. Кулачковые шайбы прессуют; их профиль обычно фрезеруют по шаблонам.
Конфигурация кулачков, относительное расположение их на валу, взаимодействие с приводом и контакторами в целом задаются диаграммой замыкания контакторов. На диаграмме показано, какие контакторы должны быть замкнуты и какие разомкнуты на каждой позиции аппарата, а также последовательность замыкания и размыкания контакторов при переходе с одной позиции на другую. Обычно на таких диаграммах черные полосы соответствуют положениям вала, на которых данные контакторы полностью замкнуты (рис. 173), белые концы у этих полос — углам поворота вала, в пределах которых происходит притирание контактов, толстые линии — периоду перемещения подвижных контактов до соприкосновения с неподвижными, отсутствие полос и линий — положению полного выключения контактов. Вертикальными линиями отмечены позиции, фиксируемые приводом. Диаграммы используют также для проверки правильности сборки группового аппарата и допустимости износа его частей в эксплуатации.

Рис. 173 Часть диаграммы замыкания контакторов группового переключателя
Приводы групповых контакторов.
Классификация и общая характеристика. По числу позиций (положений) приводы групповых контакторов разделяют на двух-, трех-, четырех-и многопозиционные, по направлению вращения — на одно- и двусторонние, по роду привода — на пневматические, гидравлические, электродвигательные и электромагнитные. На магистральных электровозах наибольшее распространение получили приводы пневматические и электродвигательные.
Групповые приводы тяговых аппаратов сообщают кулачковому валу вращательное движение. Поворот кулачков или кулачковых шайб вместе с кулачковым валом вызывает перемещение подвижной системы механически связанных с ними контактов. Мощность привода и развиваемый им вращающий момент определяют исходя из нагрузок, создаваемых контакторами.
Для снижения необходимого усилия или вращающего момента привода и повышения четкости его работы предусматривают по возможности постоянную сумму моментов сопротивления отдельных контакторов при любом угле поворота кулачкового вала (2,МЛК). Это достигается включением и выключением одинакового числа контакторов на каждой позиции, а в случае необходимости — некоторым смещением моментов включения отдельных контакторов в пределах одной позиции При этом, конечно, предотвращают возможность возникновения вредных контуров в электрических цепях при неодновременном переключении контакторов.
Вращающий момент, развиваемый приводом и приложенный к кулачковому валу, должен несколько превышать суммарный момент, обусловленный сопротивлением контакторов, с тем, чтобы обеспечить первоначальное ускорение системы. Однако это превышение должно быть сравнительно невелико, так как значительные угловые ускорения не способствуют четкой фиксации группового контактора на позициях. Кроме того, наличие больших угловых ускорений, вызывающих значительные неуравновешенные инерционные усилия, приводит к разрегулировке системы и быстрому износу ее деталей и узлов.
Двухпозиционный привод поршневого типа. Он имеет два фиксированных положения, соответствующих двум соединениям тяговых двигателей. В двухпози-ционном приводе имеется один цилиндр / (рис. 174) с двумя поршнями 2 и зубчатой рейкой 7, связанной с шестерней
4 кулачкового вала 3. Управление приводом осуществляется вентилями выключающим 5 и включающим 6, пневматически соединенными с полостями цилиндра /.
Когда катушки вентилей не возбуждены, сжатый воздух через клапан вентиля 5 поступает в первую полость цилиндра, вторая полость которого через клапан вентиля 6 сообщена с атмосферой. Под действием сжатого воздуха поршень вместе с зубчатой рейкой перемещается, поворачивая шестерню и кулачковый вал, чем фиксируется первое положение переключателя.

Рис 174. Двухпозиционный привод групповых переключателей ПКГ-4 и ПКГ-6 электровозов ВЛ10, ВЛ10У, ВЛ8
Для того чтобы получить второе положение, возбуждают катушки вентилей. При этом вторая полость цилиндра через клапан вентиля 6 сообщается с источником сжатого воздуха, а первая через клапан вентиля 5 соединяется с атмосферой. Под действием сжатого воздуха на поршень цилиндра зубчатая рейка перемещается в другое крайнее положение, поворачивая шестерню и кулачковый вал. При этом фиксируется второе положение группового переключателя.
Многопозиционные пневматические приводы. Эти приводы применяют в главных контроллерах, с помощью которых осуществляют реостатный пуск и переключение тяговых двигателей с одного соединения на другое. На электровозах ЧС4Т, ЧС2, ЧС2Т, ЧС4, ЧС6 применяют многопозиционные приводы с коленчатыми валами, а на отечественном моторва-гонном подвижном составе — приводы системы Л. Н. Решетова.
Приводы с коленчатыми валами имеют по четыре цилиндра, расположенных в картере 12 либо V-образно (рис. 175, а), либо звездообразно (рис. 175, б). Движение поршней 3,6,9 и 10 цилиндров 2, 5, 8 и 11 передается шатунами коленчатому валу 4, который через зубчатую передачу вращает кулачковый вал главного контроллера. Управляют приводом двумя сдвоенными электромагнитными вентилями, в каждом из которых конструктивно объединены клапаны включающего ВВ и выключающего ВКВ вентилей с общим электромагнитом.
На нулевой позиции катушки вентилей / и 7 не возбуждены, сжатый воздух через выключающие клапаны поступает в цилиндры 2 и 8; цилиндры 5 и 11 сообщаются с атмосферой. Коленчатый вал 4 находится в положении /. При возбуждении катушки вентиля 7 цилиндр 8 сообщается с атмосферой, в цилиндр 5 поступает сжатый воздух. Коленчатый вал 4 поворачивается иа 90°, занимая положение //. Вал в этом положении фиксируется противодавлением поршня цилиндра 5. При дополнительном возбуждении катушки вентиля 1 цилиндр 2 сообщается с атмосферой, а в цилиндр // поступает сжатый воздух. Коленчатый вал 4 поворачивается снова на 90°, занимая положение ///, в котором и фиксируется противодавлением поршня цилиндра 11. Если разомкнуть цепь катушки вентиля 7, цилиндр 5 сообщится с атмосферой, а в цилиндр 8 поступит сжатый воздух. Коленчатый вал 4 займет положение IV, в котором и будет фиксирован противодавлением поршня цилиндра //. При дальнейшем управлении вентилями / и 7 положения коленчатого вала 4 повторяются, кулачковый вал переходит с одной позиции на другую.

Рис 175. Схемы положений пневматического многопозициониого привода главных контроллеров электровозов ЧС1, ЧС2, ЧС2Т (а) и ЧС4, ЧС4Т (б)
Привод с коленчатым валом сложен по конструкции и имеет большую массу и размеры. Однако коленчатый вал может вращаться в двух направлениях, т. е. возможно реверсирование, что является достоинством привода.
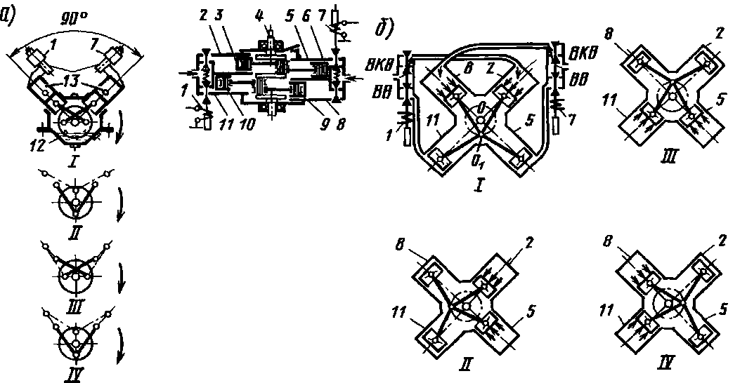
Значительно проще по конструкции привод одностороннего вращения системы Л. Н. Решетова. Этот привод состоит из трехконечной звезды 2 (рис. 176, а),

двух цилиндров с поршнями / и 5, соединенными рейкой 4. Звезде 2 напрессована на вал 3, который через зубчатую передачу соединен с кулачковым валом реостатного контроллера. На рейке 4 смонтированы ролики 7 и 8. Профиль выступов звезды 2 несимметричен относительно впадин и сдвинут так, что когда один из роликов находится во впадине, другой оказывается не против вершины выступа, а несколько ниже. Управляют приводом с помошью вентилей 6 и 9 включающего действия.
При возбужденной катушке вентиля 9 сжатый воздух перемешает поршень 1 вместе с рейкой 4 в крайнее правое положение. Если прервать цепь катушки вентиля 9 и возбудить катушку вентиля
6 (рис. 176, б), сжатый воздух будет давить на поршень 5 и заставит его, а вместе с ним рейку и поршень 1 перемещаться в крайнее левое положение. При этом ролик 7 приблизится к лучу звезды 2 и далее, катясь по нему, заставит ее вращаться против часовой стрелки. Вместе со звездой будет вращаться шестерня, а следовательно, и кулачковый вал реостатного контроллера. Звезда и кулачковый вал при дальнейшем питании катушки вентиля 6 (рис. 176, б и в) будут вращаться до тех пор, пока ролик
7 не упрется во впадину звезды 2, фиксируя ее. Это соответствует полному ходу штока внутри цилиндра от правого крайнего положения к левому, причем ролик 8 (см. рис. 176, о) установится несколько выше вершины третьего выступа звезды Если при этом кулачковый вал стремится повернуться дальше, т. е. проскочить соответствующую позицию, то нажатие ролика 7 на впадину звезды противодействует этому и вал остановится только в определенном положении.
Последующее вращение кулачкового вала может быть достигнуто поступательно-возвратным перемещением рейки внутри цилиндра, что возможно лишь при прекращении питания катушки вентиля 6 и возбуждении катушки вентиля 9. Под воздействием ролика 8 звезда, а следовательно, и кулачковый вал будут вращаться в том же направлении до тех пор, пока ролик 8 не установится во впадину между двумя выступами звезды (рис. 176, г и д). При каждом продольном ходе рейки от одного положения к другому поступательно-возвратное движение поршней преобразуется во вращательное движение звезды, причем каждому ходу поршней соответствует поворот звезды на '/б окружности (на 60°).
Кулачковый вал контроллера соединен со звездой зубчатой передачей, передаточное отношение которой выбирается так, что при повороте звезды на 60° вал поворачивается на 20°; это соответствует одной позиции кулачкового вала. Кулачковый вал на следующую позицию установится только при обратном продольном ходе рейки, для чего необходимо возбудить катушку вентиля 6 и разомкнуть цепь катушки вентиля 9. Поочередное питание катушек достигается с помощью переключателя вентилей.
Приводы Л. Н Решетова имеют переключатели вентилей рычажного (первых выпусков), кулачкового и бесконтактного типов. Переключатель кулачкового типа состоит из трех кулачковых шайб, насаженных на вал привода, и трех кулачковых контакторов. Шайбы поочередно нажимают на кулачковые контакторы, замыкающие цепь питания катушек вентилей, подъемных, реле ускорения и реле времени.
В приводе Л. Н. Решетова система преобразования поступательного движения поршней во вращательное движение звезды сочетается в единое целое с системой фиксации позиций, причем возможность проскакивания позиций из-за неисправности привода исключается. Кроме того, в приводе для перехода иа каждую следующую позицию используется полный рабочий ход, благодаря чему объем цилиндров может быть значительно меньше, чем в приводах с промежуточной фиксацией. Для снижения потерь трения в самом приводе и повышения точности взаимного расположения отдельных деталей в нем широко применены подшипники качения. Звезда помещена в литой кожух, заполненный смазкой, что снижает потери на трение в самом приводе.
Особенностями этого привода являются:
обязательное равенство углов между всеми позициями кулачкового вала, в том числе между последней и 1-й позициями; угол между ними должен быть 360°/п, где п — целое число; при сложных переключениях для перехода с одной позиции на другую может быть использован двойной угол и соответственно два хода поршней; при прекращении процесса пуска на любой рабочей позиции привод не может быть возвращен в нулевое положение иначе как путем вращения его вхолостую вперед до окончания полного оборота кулачкового вала на 360°. Это свойственно всем приводам, имеющим вращение в одном направлении.

Рис. 177. Кинематическая схема главного контроллера ЭКГ-8 электровозов ВЛ60К, ВЛ80°,
ВЛ80К, ВЛ80Т н ВЛ80Р
Многопозиционные электродвигательные приводы. Основным преимуществом электродвигательных приводов является равномерность и постоянство частоты вращения, тогда как у пневматических приводов оиа меняется в зависимости от состояния манжет, качества смазки и температуры. Электродвигательные приводы надежнее в эксплуатации, не требуют частых ревизий. Кроме того, используя их, легче создавать схемы управления.
Двигатель привода обладает высокой частотой вращения, в связи с чем необходимо применять редукторы с большими передаточными отношениями (от 25 до 340 и более) между двигателем привода и кулачковым валом. Такие передаточные отношения можно обеспечить, лишь применяя многоступенчатые зубчатые или червячные передачи, при которых затрудняется фиксация положений привода иа позициях Чтобы обеспечить фиксацию позиций, применяют мальтийские кресты и электродинамическое торможение (иа главных контроллерах ЭКГ-60/20 и ЭКГ-8 электровозов ЕЛШ, ВЛ60", ВЛ80", ВЛ80Т), червячные редукторы и электромагниты (на вагонах Е метрополитена), эксцентрикозубчатые передачи и др.
В качестве примера рассмотрим электродвигательный привод главного контроллера ЭКГ-8. В системе привода использован серводвигатель / (рис. 177), вал которого связан с валом 19 червячного колеса 21 через шестерню 23, промежуточную шестерню 2, укрепленную на валу ручного привода 22, и предохранительную муфту 4. Муфта с калеными боковыми поверхностями через два фланца со шпонками передает вращение валу 19 благодаря силам трения. Изменяя натяжение пружины 3, регулируют момент срабатывания муфты 4 От вала 19 через червячное колесо 21 и колесо 20 передается вращение иа вал 6, на котором находится двухцевочный поводок 18. Цевка (палец) поводка, входя в паз шестипа-зового мальтийского креста 7, поворачивает его. Каждому повороту червячного колеса и поводка на 180° соответствует поворот вала 8 на 60°. На валу 8 расположен одноцевочный поводок 9, связанный с шестипазовым мальтийским крестом 15. От вала 8 через зубчатую передачу приводится во вращение кулачковый вал 10 контакторов с дугогашением, от вала креста 15—валы // и 13 контакторов без дугогашения. Передача вращения от вала 11 к валу 13 осуществляется через промежуточный редуктор 12.
Кинематическая схема привода выполнена так, что поворот червячного колеса 21 на 180° вызывает поворот двухцевоч-ного поводка 18 на 180°, а креста 7 — на 60°. Этому соответствует поворот вала 10 на 30°, а одноцевочного поводка 9 на 120°. В результате размыкается один из контакторов с дугогашением. Поворот червячного колеса 21 еще на 180° вызывает поворот валов // и 13 соответственно на 18 и 9° и переключение ступеней или обмоток трансформатора. При дальнейшем повороте червячного колеса 21 на 180° валы 11 и 13 не вращаются, а вал 10 производит замыкание разомкнутого контактора с дугогашением. Таким образом, переход с одной позиции на другую совершается за 540° (1,5 оборота) червячного колеса. На любой позиции мальтийские кресты 7 и 15 (рис. 177) фиксированы. Для ограничения угла поворота валов установлен механический упор 14, который позволяет валу // поворачиваться на 684° и валу 13 — на 342°. Вал 10 упора не имеет.
Вал 19 червячного колеса через зубчатую передачу 1 : 4,5 приводит во вращение вал 5 блок-контактов, а от вала // через зубчатую передачу с передаточным отношением 1:2 — второй вал 16 блок-контактов. С валом 16 связан зубчатой передачей 1 : 1 сельсин-датчик 17 указателя позиций (см. § 76).
Блокировочные устройства групповых контакторов. Групповые контакторы с другими аппаратами (а иногда с цепью своих электропневматических вентилей) связаны блокировочными устройствами в виде пальцевых контактов (на групповых переключателях ПКГ-4Б, ПКГ-6, главного переключателя 18КН и др.) или кулачковых контакторов (на главных контроллерах ЭКГ-60/20, ЭКГ-8, силовых контроллерах КСП-1 А, 1КС-015, 1КС-009 и др.). Блокировочное устройство пальцевого типа состоит из барабана и пальцев (рис. 178), а кулачкового типа — из блокировочных кулачковых валов с напрессованными шайбами и кулачковых контакторов, переключение которых определяется диаграммой их замыкания.

Рис. 178. Блокировочное устройство группового переключателя ПКГ-6 электровозов ВЛ10, ВЛ10* и ВЛ8: / — стальной вал, 2 — блокировочный барабан; 3 — медные сегменты; 4 — блокировочные пальцы; 5 — изоляционная рейка, 6 — изоляционная пластина
Корпуса. Корпус объединяет все части группового контактора в один самостоятельный аппарат. Корпус группового контактора электровозов обычно состоит из двух или трех литых или листовых рам, соединенных продольными балками. Рамы отливают из ковкого чугуна, делая иа них приливы и отверстия для скрепления с продольными балками, установки привода и подшипников кулачковых и блокировочных валов. Поперечные балки выполняют из стальных уголков, прямоугольников или в виде шпилек. Корпуса групповых переключателей электровозов верхних кожухов или ящиков не имеют. Корпусами реостатных контроллеров моторных вагонов служат металлические ящики с крышками, снабженными войлочными уплотнениями.
На моторных вагонах и вагонах метрополитена иногда в ящиках групповых переключателей монтируют также ряд других аппаратов, что создает удобства как при монтаже оборудования, так и при уходе за ним в эксплуатации.
Конструктивное выполнение групповых контакторов. В качестве примеров рассмотрим главные контроллеры ЭКГ-8 и 18КН и силовой контроллер КСП-1А. Все эти аппараты имеют горизонтальное исполнение.
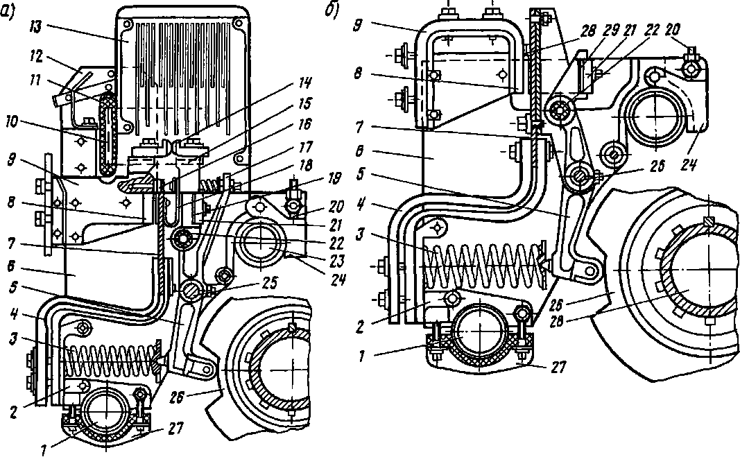
Главный контроллер ЭКГ-8 (рис. 179) предназначен для переключения под нагрузкой ступеней вторичной обмотки тягового трансформатора при регулировании напряжения выпрямителя. Он имеет: многопозиционный электродвигательный привод, выполненный по схеме рис. 177; две группы кулачковых контакторов — четыре с дугогашением и 30 без дугогашения; три кулачковых вала для привода кулачковых контакторов, блокировочное устройство с валами и контакторными элементами. Все детали и узлы смонтированы на корпусе, состоящем из трех рам и четырех изолированных реек Собственное время включения и выключения контакторов на позициях пуска составляет 25—28 с при работе электродвигателя с напряжением 50 В. Переход с одной позиции на другую происходит за 0,66 с. Остановка привода аппарата на позициях достигается переключением серводвигателя из двигательного режима в режим электродинамического торможения. Редуктор привода помещен в разъемный корпус, который заполнен маслом. Для подогрева масла в зимнее время (при температуре окружающей среды ниже —20 °С) в едук-торе под червячным колесом установлен электрический нагреватель

Рис. 179 Главный контроллер ЭКГ-8 электровозов ВЛ60К, ВЛ80С, ВЛ80Т и ВЛ80К. / — электродвигатель, 2 и 3 — кулачковые контакторы блокировочного устройства, 4 — кулачковые шайбы, 5 — механизм с зубчатой передачей, 6—рама, 7— монтажная шина, 8—кулачковый контактор без дугогашения, 9 — кулачковый контактор с дугогашением
Главный контроллер ЭКГ-82А имеет конструкцию, аналогичную контроллеру ЭКГ-8, и служит для переключений секций резисторов пускового реостата на электровозах ВЛ82 и ВЛ82М.
Главный контроллер 18КН (рис 180) установлен на электровозах ЧС2 с № 455 для вывода секций пусковых резисторов и переключения тяговых двигателей с одного соединения на другое. Он состоит из корпуса, 32 контакторов, кулачкового вала, многопозиционного (48 позиций) пневматического привода, редуктора и блокировочного устройства.
Две литые боковины корпуса соединены четырьмя стальными изолированными снаружи бакелитовой бумагой стержнями. К боковине прикреплены редуктор и кронштейн, на котором установлен пневматический привод. На боковине смонтировано блокировочное устройство. Привод выполнен по схеме рис. 175, а.
Конструкция главных переключателей ТРРЬ электровозов ЧС4, ЧС4Т и переключателя 1КНД1 электровозов ЧС2Т в основном аналогична конструкции главного контроллера 18КН.
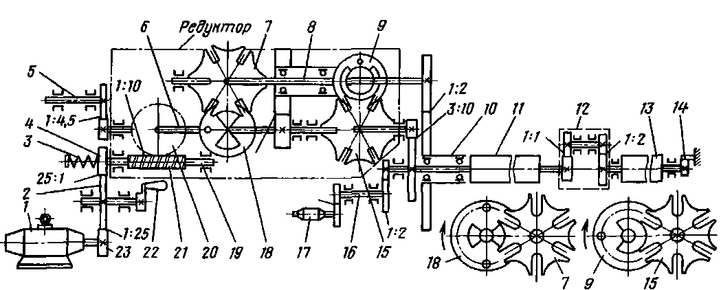
Силовой контроллер КСП-1А установлен на электропоездах ЭР1 и ЭР2 для переключений секций резисторов пускового реостата и резисторов ослабления возбуждения тяговых двигателей. Он имеет привод Л. Н. Решетова (см. рис. 176) Зубчатая передача 5 (рис. 181, а) имеет передаточное отношение 3:1. Корпус контроллера представляет собой каркасную конструкцию, состоящую из двух продольных стальных угольников и трех поперечных алюминиевых рам, в которых вращается кулачковый вал с пластмассовыми кулачковыми шайбами. По обе стороны кулачкового вала на текстолитовых рейках установлены 12 кулачковых контакторов КЭ-4Д силовой цепи, а на стальных рейках — 10 кулачковых контакторов КР-ЗА-1 цепей управления. На средней и задней рамах контроллера над кулачковым валом закреплена изоляционная перегородка. Вращением вала контроллера управляют с помощью кулачкового вала переключателя вентилей с тремя кулачковыми
Рис. 180. Главный контроллер 18КН электровоза ЧС2: /—литая боковина, 2 — контактор с дугогасительной камерой, снабженной деионной решеткой; 3 — контактор с обычной дугогасительной камерой; 4 — изолированный стержень; 5 — пружины для облегчения подъема дугогасительных камер; 6 — рама с поднятыми дугогасительиыми камерами; 7 — квадрат кулачкового вала для поворота вручную при проверке развертки шайб; 8 — диск с указанием
позиций, 9 — блокировочное устройство
Таблица 17



Рис. 181 Силовые контроллеры КСП-1А электропоездов ЭР1 и ЭР2 (а) и 1КС-009 электропоезда ЭР2Р (б)
/ — каркас; 2 — электропневматический вентиль, 3—цилиндр привода, 4 — картер привода, 5 — зуб чатая передача, 6 — кулачковые контакторы переключателя вентилей, 7 и 17 — кулачковые контакторы цепи управления; 8 — кулачковая шайба кулачкового вала, 9 и 14 — изоляционные перегородки, 10 и 13 — кулачковые контакторы силовой цепи, // — ротор герконового переключателя, 12 — контейнер с герконом; 15—нижний (главный) кулачковый вал; 16 — верхний кулачковый вал, 18 — текстолитовые шестерни
контакторами КР-ЗА-1 и двух электропневматических вентилей ВВ-3 с трубопроводом, снабженным регулировочными вентилями, обеспечивающими равномерное вращение главного вала и возможность изменения времени поворота с позиции на позицию.
Силовой контроллер 1КС-015 установлен на электропоездах ЭР9М для переключения ступеней обмотки тягового трансформатора и секций резисторов ослабления возбуждения тяговых двигателей. В отличие от контроллера КСП-1А его кулачковый вал имеет 20 фиксированных позиций, два механических фиксатора, работающих поочередно через одну позицию, и бесконтактный переключатель вентилей
Контроллер 1КС-009 установлен на электропоездах ЭР2Р и ЭР2Т для управления тяговыми двигателями в режимах тяги и электрического торможения. Привод контроллера 1КС-009 (рис. 181, б) имеет переключатель вентилей, состоящий из ротора // и контейнера с герконом 12. Контейнер с герконом 12 размещен на кронштейне в непосредственной близости от ротора 11. В роторе через 60° друг от друга вмонтированы шесть постоянных магнитов. На фиксированных позициях вала один из магнитов находится напротив геркона, под действием магнитного поля его контакты разомкнуты. Кулачковые контакторы 13 переключаются нижним (главным) кулачковым валом 15, над которым на рамах установлены изоляционные перегородки 14. Верхний вал приводится во вращение с помощью текстолитовых шестерней 18 с передаточным отношением 1:1.
Основные технические данные некоторых многопозиционных групповых контакторов. Технические данные таких контакторов с приводами электродвигательным (ЭКГ-8Ж электровозов ВЛ80\ ВЛ80Т, ВЛ80С, ВЛ60К) и электропневматическим (ПКГ-4Б, ПКГ-6Г электровозов ВЛ8, ВЛ10, ВЛ10у; 18КН, 1КНД1, ТРРТ электровозов соответственно ЧС2, ЧС2Т и ЧС4, ЧС4Т; КСП-1А электропоездов ЭР1 и ЭР2; 1КС-015 с бесконтактным переключателем вентилей, находящийся в блоке с электронным реле, и 1КС-009 с герконовым переключателем вентилей электропоездов соответственно ЭР9М и ЭР2Р, ЭР2Т) приведены в табл. 17.
|
|