СЦБИСТ - железнодорожный форум, фотогалерея, социальная сеть


§ 69. Автоматические выключатели

§ 69. Автоматические выключатели

Общие сведения. Автоматические выключатели на э. п.с. применяют для защиты оборудования силовых цепей от токов короткого замыкания (к. з.) и от возникновения круговых огней по коллекторам тяговых двигателей, перебросу дуги с токоведущих частей на заземление. В ряде случаев автоматические выключатели используются для так называемых оперативных включений и отключений силовой цепи, например, при проезде нейтральных вставок электровозами или моторными вагонами переменного тока, проведении каких-либо работ в высоковольтной камере, необходимости включения и отключения устройств отопления и т. д.

К автоматическим выключателям обычно предъявляют требования исходя из допустимой динамической и термической устойчивости защищаемого оборудования. Так, во избежание кругового огня ток к. з. не может превышать 5—8-крат-ного значения тока двигателя при часовом режиме. При этом длительность тока выше предельного по коммутации не должна превышать 4—8 мс, а напряжение на обмотке якоря не должно быть более 2,5—3 кВ.

В эксплуатации скорость нарастания тока к. з. достигает 200—600 А/мс, его установившиеся значения—15 ООО— 18 ООО А, при напряжении 220 В предельный ударный ток составляет 40 000 А. В месте к. з. выделяется большое количество тепла, вызывающее повреждение металлических и изоляционных деталей.

Особую трудность представляет защита тяговых двигателей в режиме рекуперации, так как при этом из цепи двигателей исключены их обмотки возбуждения, обладающие значительной индуктивностью, что приводит к увеличению скорости нарастания тока к. з. Автоматические выключатели должны ограничивать токи глухих к. з. в пределах, допускаемых тяговыми двигателями и самим выключателем. Ограничивая ток к. з., эти выключатели одновременно обеспечивают селективность (избирательность) работы подстанционной защиты и защиты локомотива.

Коммутационная способность быстродействующих выключателей определяется прежде всего размерами дугогасительных камер. Например, отключающая способность выключателей БВП-ЗА и БВП-5 с учетом ограничения тока ие превышает 12 000 — 20 000 А.

Скорость отключения и степень ограничения тока к. з. зависят как от параметров цепи к. з., так и от конструкции выключателя. Ток г в цепях постоянного тока нарастает по экспоненциальному закону (рис. 187).

По времени отключения автоматические выключатели разделяют на обыкновенные и быстродействующие. У быстродействующих выключателей полное время отключения ^бв (кривые 2 и 4 на рис. 187) в несколько раз меньше, чем у обыкновенных (ов (кривые 1 и 3). Полное время отключения 7 и /ов от момента достижения током к з. тока уставки /у до момента полного гашения дуги максимальное значение тока к. з. при отключении ее выключателем.


Рис. 187. Кривые изменения тока короткого замыкания и напряжения при разрыве цепи быстродействующим и обычным выключателями

Коэффициент ограничения увеличивается с увеличением индуктивности цепи и уменьшением ее активного сопротивления. Увеличение тока /кз тах сопровождается увеличением амплитуды тока отключения /втах. При некотором наибольшем /кз тах выключатель не способен разорвать дугу в пределах дугогасительной камеры. Наибольшее значение /кз тах, при котором выключатель еще может при наибольшем возможном напряжении в сети и наибольшей возможной для этих условий ее индуктивности надежно отключить защищаемую цепь, называют отключающей способностью выключателя.

Основные узлы. На э. п. с. постоянного тока магистральных железных дорог применяют только специальные быстродействующие автоматические выключатели, а на подвижном составе переменного тока — главные выключатели и автоматические выключатели с электромагнитными и тепловыми расцепителями и с ручным восстановлением.

Основными элементами любого автоматического выключателя являются следующие: чувствительный орган — отключающее устройство, исполнительный орган — контактное устройство, промежуточное кинематическое устройство, дугогасительное устройство, привод включения.

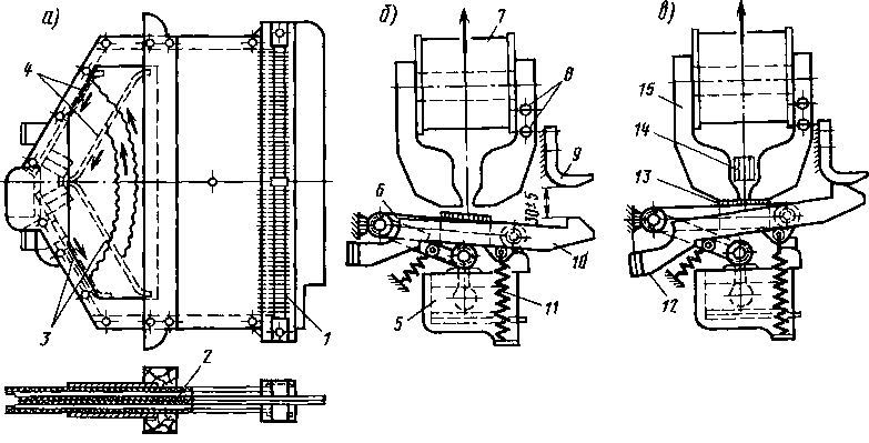
Отключающие устройства на э. п. с. постоянного тока обычно представляют собой электромагниты разной формы с различными схемами включения. Отключающее устройство воздействует на механизм выключателя. Общее требование ко всем отключающим устройствам — возможно меньшее время их срабатывания. В выключателе 12НС электровозов ЧС2 и ЧС2Т (рис 188, а) механизм отключения состоит из электромагнитного устройства с подвижным контактом 1 и защелок 9. Приводом включения служит электромагнитное устройство 10 с рычагом ручного включения 11. Нажатие между главными контактами 1 и 2 осуществляется пружинами 3. Отключение контакта 1 происходит под действием пружины 4, когда ток / в защищаемой цепи и катушке 8 превысит

где f16„ и iloB — время срабатывания выключателя — от момента достижения тока уставки /у до момента начала расхождения главных контактов; t26B и t2oB — время гашения дуги — от момента ее возникновения до момента исчезновения.

Составляющие ?,ов и f16„ определяются конструкцией механизма размыкания аппарата и в большой степени зависят от способа расцепления подвижной системы, силы выключающих пружин, массы подвижных частей, характера изменения тока и перемещений, предшествующих отрыву подвижного контакта. Снижение величин i16B и il0B имеет существенное значение, так как от них зависят токи /дтахбв и /д шахов- У быстродействующих выключателей собственное время составляет 0,002 — 0,008 с, у обычных оио находится в пределах 0,02 — 0,08 с. Величины f2oB и <2вв зависят от эффективности применяемого дугогасительного устройства, индуктивности цепи и максимального тока, достигаемого в процессе выключения. Для обыкновенных выключателей полное время отключения составляет 0,1—0,3 с, для быстродействующих — 0,02—0,06 с.

Как видно из рис. 187, максимальный ток силовой цепи при выключении быстродействующим выключателем /д тах бв значительно ниже максимального тока /д тахов при размыкании цепи обыкновенным выключателем. Поэтому осуществить защиту от к. з. обычным автоматическим выключателем не представляется возможным, так как он отключал бы ток уже после достижения им максимального значения. Кроме того, прервать дугу при больших токе, индуктивности и напряжении более 3000 В обыкновенным выключателем очень трудно.

В равных условиях автоматические выключатели по-разному ограничивают ток короткого замыкания. Степень этого ограничения характеризуется коэффициентом ограничения


где /кзтах — максимальное значение тока к. з., неотключаемой цепи; /8тах



Рис. 188. Системы механизмов и электромагнитов быстродействующих выключателей типов 12НС (а), БВП-ЗА и БВП-5 (б), малогабаритного БВЗ-2 (в) и БВЭ-ЦНИИ (г)

некоторое предельное значение. В результате этого якорь 7 преодолевает усилие пружины 6 и защелки 9 освобождают рычаг 5.

В выключателях БВП-ЗА и БВП-5 (рис. 188,6) контакт 1 размыкается под действием пружины 22 после отрыва якоря 21 от полюсов 20 в результате снижения или полного исчезновения притягивающих сил под влиянием размагничивающего действия тока /р. Удерживающая катушка 17 питается от генератора управления или аккумуляторной батареи. По размагничивающему витку 12, который расположен иа дополнительном сердечнике 19, проходит ток /р. Поток Фу удерживающей катушки 17 замыкается через сердечник 19, полюсы 20 и якорь 21.

Если рассматривать потоки независимо, то направление магнитодействующей силы (м. д. с.) витка 12 выбрано так, что создаваемый им поток Ф' в левой части направлен встречно части потока Ф' удерживающей катушки 17, а в правой части — согласно с потоком Ф'. Следовательно, при увеличении тока в витке 12 полный поток, проходящий через якорь Ф = Ф' — Фр, уменьшается и при некотором значении тока становится недостаточным для удержания якоря 21\ при этом происходит отключение контакта 1. Размагничивающее действие усиливается тем, что при к. з. и быстром увеличении тока [ (0,1 ч-0,7) 106 А/с] вследствие наличия шунта 18 с индуктивным сопротивлением хиш > хр (где хр — индуктивное сопротивление размагничивающего витка) большая часть тока протекает через размагничивающий виток. Это ведет к дальнейшему увеличению потоков Ф' и Ф" и уменьшению Ф, а следовательно, к снижению времени выключения <вв быстродействующего выключателя.

Таким образом, быстродействующий выключатель обладает свойством ускоренного действия при к. з. с большим установившимся током, поскольку в этом случае больше значение й!к 3 [сИ. При установившемся токе I защищаемой цепи индуктивность размагничивающего витка и йндуктивиого шунта не влияет на распределение токов /рви /иш и / //иш =

Вихревые токи в полюсах 20 задерживают уменьшение полного потока Ф' — Ф'. Поэтому ярмо 15 выполняют из массивной стали, а полюсы 20 и якорь 21 — из листовой. Для регулирования тока уставки в стержне магнитопровода

14 и ярме 15 предусмотрены винты 13 и 16, при вывертывании которых ослабляется поток удерживающей катушки 17 Магнитная система с витком 12 на сердечнике (мостике) 19 обладает лучшей динамической характеристикой по сравнению с другими более простыми системами (например, при расположении витка 12 на магнитопроводе 14 удерживающего электромагнита).

На электровозах ВЛ10 с № 459 (ТЭВЗ) ис№ 1011 (НЭВЗ) для защиты вспомогательной цепи от токов к з применяют малогабаритный быстродействующий выключатель. Якорь 29 (рис. 188, в) и магнитопровод 30 его выполнены шихтованными. Магнитопровод имеет три катушки: две силовые А, Б и одну В оперативного отключения. Катушки А к Б включены последовательно в цепь нагрузки: А — со стороны токоприемника до нагрузки, Б — после нагрузки (вспомогательные цепи). Направление тока в них выбирают так, чтобы создаваемые им в магнитопроводе 30 магнитные потоки были направлены встречно. Механизм защелки состоит из двух защелочных (качающихся на шарнирах 03 и 04) рычагов 23 и 32, на концах которых укреплены шариковые подшипники 24 и 25. Защелочный рычаг 23 через шарнир 05 соединен с рычагом подвижного контакта /, на который передается усилие отключающих пружин 37.

Оси защелочных рычагов 01 и 02 расположены таким образом, что обеспечивается контакт роликов. Поворот рычага подвижного контакта влево ограничивается роликом рычага 32. Пружиной 33 рычаг 32 прижимается к регулировочному винту 26. В замкнутой защелке на ось 01 ролика передается сила Р, созданная отключающими пружинами 37. Штриховыми линиями показано разложение силы Р. Составляющая Q создает фиксирующий момент М = QI, прижимающий рычаг 32 к регулировочному винту, что обеспечивает устойчивое положение защелки. Этот момент регулируют винтом 26, изменяя значения плеча / и силы Q.

Для расцепления защелки надо повернуть рычаг 32 по часовой стрелке, приложив к нему момент, превышающий по значению фиксирующий момент. По мере поворота рычага фиксирующий момент снижается (уменьшается плечо I) до нуля и защелка расцепляется. Под действием отключающих пружин 37 контакты выключателя размыкаются. Момент, размыкающий защелку, приложенный к двуплечему рычагу, создается выключающим электромагнитом. Фиксирующий момент невелик. Он определяется необходимой виброустойчивостью защелки, а поскольку составляющая <3 имеет относительно большее значение (значительно превышает силу Р), то плечо I мало. Небольшие значения момента М и плеча I определяют ценное свойство защелки: для выключения ее к рычагу 32 надо приложить небольшое усилие и повернуть его на малый угол — это и обес^ печивает быстродействие выключателя.

Изменяя натяжение пружины 31, добиваются того, что якорь притягивается при результирующей м. д. с. в ярме (разности м. д. с. силовых катушек), равной 600 А. В момент притяжения якоря к ярму боек якоря ударяет по концу рычага 32, поворачивая его по часовой стрелке. Защелка размыкается, и выключатель отключается. Зазор у якоря выключающего электромагнита регулируют винтом 28, а зазор между якорем и рычагом 32 устанавливают винтом 27.

При перегрузке по силовым катушкам А и Б течет один и тот же ток и выключатель отключается при токе 300 А, так как результирующая м. д. с. составляет 600 А. При к. з. в цепи ток проходит только по одной силовой катушке А, и выключатель отключается при токе не более 50 А

Включение выключателя производится электромагнитным приводом, состоящим из силового электромагнита 34 и изоляционного включающего рычага 35. Электромагнит имеет втяжной конический якорь, что позволяет получить сравнительно большие начальные усилия. Изоляционный включающий рычаг представляет собой трехплечую систему: через одно плечо проходит ось вращения, на второе опирается ролик штока силового электромагнита, на третьем укреплен упорный ролик. Рычаг выполняет роль изолятора и передает механическую нагрузку. Этим рычагом производится также включение аппарата вручную. Регулировку механизма включения осуществляют, изменяя длину штока 36 электромагнита.

В быстродействующем выключателе БВЭ-ЦНИИ (рис. 188, г) с целью компенсации возникающей в катушке 40 э. д. с. самоиндукции применен дополнительный трансформатор 39, силовая обмотка которого включена последовательно с контактами 1 и 2. Из двух вторичных обмоток управления одна включена последовательно с удерживающей катушкой 40, а другая — параллельно катушке вспомогательного электромагнита 38.

Трансформатор 39 позволяет уменьшить собственное время выключателя до 0,0015—0,002 с и благодаря воздействию в момент отключения на малоподвижный контакт 2 вспомогательного электромагнита 38 получить высокую скорость расхождения силовых контактов 1 и 2.

Контактное устройство размыкает защищаемую цепь; оно состоит из подвижных и неподвижных частей. Это устройство должно иметь малую инерцию подвижных частей и высокую скорость отключения, высокую электродинамическую и термическую устойчивость, надежность контактов, высокую износостойкость, быть простым в обслуживании.

Механизм выключателя связывает контактное устройство с отключающим. Основное требование, предъявляемое к механизму выключателя,— малое время освобождения механизма с целью увеличения скорости отключения. Для этого, помимо применения сильных отключающих пружин, стремятся уменьшить число рычагов, принимающих участие в движении, и изготовлять их из легких сплавов.

Дугогасительное устройство обеспечивает гашение возникающей электрической дуги в минимально возможном объеме с наименьшим выбросом пламени и звуковым эффектом. В автоматических выключателях э. п. с. иашли применение дугогасительные камеры: с узкой щелью, многощелевые (многократные) и лабиринтные с деион-ными решетками.


Рис. 189 Быстродействующий выключатель БВП-5

Привод выключателей представляет собой пневматический или электромагнитный механизм дистанционного управления с промежуточным кинематическим устройством.

Быстродействующие выключатели БВП-ЗА и БВП-5. Выключатели БВП-ЗА разработаны НЭВЗом; их применяют на электровозах ВЛ22М и ВЛ8. Выключатели БВП-5 разработаны ТЭВЗом в 1961 г. на основе выключателя БВП-ЗА и дугогасительной камеры и катушки автоматического выключателя АБ-2/4 тяговых подстанций. Ими оборудованы электровозы ВЛ8 (последних выпусков), ВЛ10, ВЛ10У и ВЛ11.

Каждый выключатель БВП-5 (рис. 189—192) и БВП-ЗА имеет следующие основные узлы: основание, контактное устройство, пневматический привод, магнитную систему с дугогасительной камерой, электромагнитное удерживающее устройство и механизм блокировок. Основание состоит из угольников 1 (рис. 189), скрепленных двумя изолированными стержнями 2, и рамы 3. Угольники установлены на гетинаксовом листе 4 и прикреплены болтами к плоской прямоугольной стальной плите 6, на которой устанавливают выключатель на электровозе. Рама 3 состоит из двух половин сложной формы (правой и левой), отлитых из алюминиевого сплава (силумина) и связанных болтами с распорными трубами. На раме укреплены все детали выключателя.


Контактное устройство состоит из неподвижного контакта 35, укрепленного на гетинаксовой плите 20, и подвижного контакта 24 (см. рис. 190), установленного на конце контактного рычага 25. Главным контактам 24 и 35 (см. рис. 191) придана форма, при которой образуется узкая петля (виток). В ней возникает дополнительный магнитный поток того направления, что и от катушки 10 (см. рис. 189). Этот поток пропорционален току выключателя и не отстает от него во времени, что усиливает магнитное поле в зоне контактов, перебрасывающее дугу, возникшую на них при отключении, на рога дугогасительной камеры. Гетинаксовую плиту 20 (см. рис. 190) крепят к раме выключателя болтами. Контакты 24 и 35 изготовляют из меди. Контактный рычаг для уменьшения его массы, улучшения проводимости и теплоотдачи набран из алюминиевых пластин и шарнирно связан с якорем электромагнитного удерживающего устройства. На контактном рычаге укреплены: пластина 27, по которой перекатывается ролик 55 (см. рис. 192) включающего рычага 49, шпильки 26, за которые зацеплены две отключающие пружины 54, медный гибкий шунт 29 с переходной шиной 28.


Рис 191 Дугогасительиая камера быстродействующего выключателя БВП-5

Магнитная система (см. рис. 189), смонтированная на гетинаксовой плите 20, состоит из магнитопровода 11, двух секций дугогасительной катушки 10 с шиной 19 и опорных изоляторов 9. Маг-нитопровод набран из листов электротехнической стали в виде незамкнутого кольца. Секции катушки 10 навиты из меди и соединены параллельно. Катушка 10 у выключателя БВП-5 изолирована от магнитопровода прессшпаном, а катушка у БВП-ЗА выполнена с воздушным зазором.

По концам магнитопровода устанавливают специальные съемные полюсы 12, набранные из листов электротехнической стали. Каждый полюс скреплен скобой, которой его крепят к магнито-проводу 11. Съемный полюс 12 в верхней части образует шесть лучей, расположенных веерообразно и разведенных под углом 16°. Полюсы обхватывают дугогасительную камеру с обеих сторон и служат продолжением магнитопровода.

Дугогасительная камера (см. рис. 191) выключателя БВП-5 состоит из двух половин, на которых смонтированы все детали. Одна половина камеры имеет асбестоцементную пластину, на которой укреплены: шарнир 41, рога 36 и 42 неподвижного и подвижного контактов, лабиринтные перегородки 38. Лабиринтные перегородки имеют клинообразную форму, их крепят в пазах листов жидким стеклом. При соединении двух половин камеры перегородки одной стенки размещают между перегородками другой стенки, в результате чего образуется постепенно расширяющаяся кверху лабиринтная щель в виде зигзага. Применение перегородок и выполнение камеры в виде раструба с уширением в верхней части дают возможность при сравнительно небольших размерах камеры увеличить в ее пределах длину дуги 39 до 3,6 м. При этом улучшаются аэродинамические свойства камеры (уменьшается сопротивление движению дуги и выхлоп газов вниз), а также уменьшается градиент напряжения дуги в верхней части камеры. Последнее приводит к снижению перенапряжений, возникающих при отключении выключателем токов короткого замыкания. В устье дугогасительной камеры1 установлена одна центральная перегородка (вставка асбестоцементная) 40. Рога 36 и 42 выполнены латунными и расположены в камере симметрично относительно ее средней оси. Рог 42 соединен медной шиной с шарниром 41, а рог 36 при опускании камеры заходит в шлиц головки неподвижного контакта 35, обеспечивая под действием веса камеры необходимое контактное нажатие.

Расположение рога неподвижного контакта в камере и небольшая ширина щели в нижней ее части обеспечивают максимальное уплотнение устья, что резко уменьшает выход ионизированных газов из камеры вниз. Сужение щели и увеличение скорости движения дуги в нижней части камеры усилением магнитного дутья ускоряют деионизацию дуги, в связи с этим увеличивается скорость нарастания ее сопротивления в первый период после размыкания контактов. Чтобы уменьшить выхлоп пламени и ионизированных газов из камеры, в верхней ее части устанавливают деионную решетку, состоящую из отдельных элементов 16 (см. рис. 189). Каждый элемент деионной решетки представляет собой набор металлических пластинок, скрепленных двумя текстолитовыми планками и шпильками 15 и 17. На наружных стенках 14 камеры установлены стальные пластины 13. Благодаря съемным полюсам 12 и пластинам 13, установленным с обеих сторон дугогасительной камеры, создается равномерное магнитное поле. Дугогасительиую камеру крепят к раме валиком, входящим в отверстия шарнира 41, и тягой 18, которую закрепляют шарниром 37.


Рис. 192. Кинематическая и электрическая схема быстродействующего выключателя БВП-5

Электромагнитное удерживающее устройство (рис. 193, см. также рис. 189, 192) выключателей БВП-5 и БВП-ЗА состоит из магнитопровода 43, ярма 22, полюсов 44, удерживающей катушки 23, винтов 21 для регулирования тока уставки выключателя, размагничивающего витка 31 с сердечником 32, расположенных между полюсами 44, и индуктивного шунта 5, подключенного к соединительным пластинам 30 и 33 параллельно размагничивающему витку.


Магнитопровод 43 и ярмо 22 выполнены из массивной стали, полюсы 44 набраны из листов электротехнической стали. Размагничивающий виток (два витка) изготовлены из шинной меди и изолированы от магнитопровода кипер-ной лентой. Сердечник размагничивающих витков набран из листов электротехнической стали. Удерживающая катушка намотана из медной проволоки марки ПЭЛ.

Индуктивный шунт 5 представляет собой медную шину прямоугольного сечения, изолированную в средней части двумя слоями лакоткани. На изолированную часть для увеличения индуктивности иабраны штампованные из электротехнической стали шайбы, изолированные друг от друга шеллаком. Активное сопротивление индуктивного шунта равно 0,65 активного сопротивления размагничиваюшего витка. Индуктивное сопротивление шунта в 9 раз больше, чем размагничивающего витка.

Пневматический привод состоит из цилиндра 52, в котором движется поршень 51 со штоком, электромагнитного вентиля 57 включающего типа, рычага 49 с роликом 55, оттягивающих пружин 50 и амортизатора, установленного на цилиндре. Цилиндр отлит из чугуна и прикреплен четырьмя болтами к раме выключателя. Поршень 51 бронзовый, имеет два уплотняющих кольца. Под действием оттягивающих пружин 50 (см. рис. 191) при отсутствии сжатого воздуха в цилиндре поршень отводится в левое крайнее положение.

Блокировочное устройство 7 (см. рис. 189) имеет основание, выполненное из изоляционного материала; оно прикреплено болтами к угольникам. На основании укреплены держатели с контактными пластинами, к которым подведены провода цепи управления. Подвижная система блокировочного устройства состоит из стержня 8, на котором смонтированы блокировочные контакты.

Для включения быстродействующего выключателя предварительно должна быть замкнута цепь удерживающей катушки 23 кнопкой БВ (см. рис. 192). При возбуждении этой катушки никаких перемещений в механизме не происходит, так как при большом воздушном зазоре между якорем 46 и полюсами 44 притягивающее усилие мало.

Чтобы приблизить якорь к полюсам, приводят в действие пневматический привод выключателя. Для этого нажимают кнопку Возврат БВ. Нажатие этой кнопки в том случае, когда главная рукоятка контроллера машиниста КМ установлена в нулевую позицию и замкнут его кулачковый контактор (что предотвращает ошибочное включение быстродействующего выключателя при нахождении главной рукоятки на позициях, кроме нулевой), вызывает возбуждение катушки электромагнитного вентиля 57. При этом сжатый воздух через изолирующий резиновый шланг поступает в цилиндр 52 привода и начинает перемещать поршень 51. Движение поршия 51 через шток 53 передается включающему рычагу 49, который, вращаясь на оси 48, роликом 55 толкает контактный рычаг 25 вправо (см. рис. 193).

Первая стадия включения быстродействующего выключателя состоит в том, что контактный рычаг 25, не отрываясь от верхнего упора 56 (рис. 193, а), начинает вращаться под действием включающего рычага 49 вокруг оси 45 до соприкосновения его нижнего выреза с втулкой оси 47 (рис. 193,6). При дальнейшем движении контактный рычаг отходит от упора 56 (рис. 193, в) и движется вместе с якорем 46 до соприкосновения якоря с полюсами 44, натягивая при этом отключающие пружины 54. В этом положении главные контакты 24 и 35 остаются разомкнутыми.

Чтобы главные контакты замкнулись, необходимо прекратить возбуждение катушки электромагнитного вентиля, т.е. дать возможность кнопке Возврат БВ под действием пружины разомкнуть цепь катушки. При размыкании цепи электромагнитный вентиль соединит цилиндр привода с атмосферой, а под действием оттягивающих пружин 54 включающий рычаг 49 вместе с поршнем отойдет в левое крайнее положение. При этом якорь останется притянутым к полюсам, так как удерживающая катушка 23 остается возбужденной. При отходе включающего рычага в левое крайнее положение контактный рычаг под действием отключающих пружин 54 поворачивается вокруг оси 45 по часовой стрелке и замыкает главные контакты 24 и 35 (рис. 193, г).

Таким образом, замыкание главных контактов происходит только после возвращения в первоначальное положение кнопки Возврат БВ и рычага 49, что обеспечивает нормальное срабатывание выключателя в случае включения его при наличии короткого замыкания в цепи.

Движение контактного рычага при замыкании главных контактов передается также через системы рычагов стержню блокировочного устройства, который приводит в замкнутое состояние ранее разомкнутые и в разомкнутое ранее замкнутые блок-контакты выключателя.

Выключение быстродействующего выключателя происходит при размыкании цепи удерживающей катушки 23 или кнопкой БВ по усмотрению машиниста или контактами соответствующих защитных аппаратов, включенных в цепь удерживающей катушки выключателя Быстродействующий выключатель отключается также при повышении тока защищаемой цепи до тока уставки. В том и другом случае выключение происходит вследствие того, что магнитный поток, замыкающийся через якорь, становится ниже определенного значения, при котором притягивающее усилие меньше усилия пружин 54. Якорь 46 отрывается от полюсов 44, и рычаг 58 якоря вместе с рычагом 25 подвижного контакта под действием пружин 54 устанавливается в отключенное положение. Таким образом, одни и те же пружины 54 замыкают главные контакты, создают необходимое контактное нажатие во включенном положении, когда якорь 46 удерживается полюсами 44, и перемещают подвижные детали, размыкая главные контакты, когда магнитный поток становится ниже определенного значения.

Нажатие главных контактов регулируют, изменяя натяжение отключающих пружин 54. Ток уставки выключателя изменяют регулировочными винтами 21. При ввертывании винтов площадь сечения магнитопровода или ярма увеличивается, в результате чего уменьшается сопротивление магнитному потоку удерживающей катушки. Последний также увеличивается, что требует большего тока в размагничивающем витке для срабатывания выключателя. При вывертывании винтов площадь сечения магни-топровода или ярма уменьшается, а сопротивление магнитному потоку удерживающей катушки увеличивается, следовательно, уменьшается ее магнитный поток.

У отрегулированного быстродействующего выключателя регулировочные винты фиксируют специальными планками и пломбируют. Пломбируют также и регулировочный виит отключающих пружин.

Таким образом, процесс выключения БВП-5 зависит от направления тока в удерживающей катушке и размагничивающем витке. Если поток распределен так, как показано на рис. 194, а, увеличение тока в размагничивающем витке 31 будет вызывать уменьшение потока якоря. При некотором значении тока в размагничивающем витке поток якоря падает настолько, что сила притяжения якоря этим потоком становится меньше усилия отключающих пружин.

При изменении полярности размагничивающего витка 31 (рис. 194, б) и том же направлении тока в удерживающей катушке 23, что и на рис. 194, а, якорь 46 при токе уставки уже не оторвется от полюсов 44. Быстродействующие выключатели, имеющие такие удерживающие электромагниты, называют поляризованными. Они не реагируют на недопустимо возросшие токи обратного направления, которые могут возникнуть во время электрического торможения и короткого замыкания контактной сети.

В выключателе БВП-5 по сравнению с выключателем БВП-ЗА электровоза ВЛ23 увеличена ширина силовых контактов с 10 до 34 мм; для повышения номинального тока и тока уставки изменено соотношение активных сопротивлений размагничивающего витка грв и индуктивного шунта гиш (у БВП-5


Конструкция выключателя БВП-5-02 электровоза ВЛ11 подобна конструкции выключателя БВП-5 электровозов ВЛ8, ВЛ10, ВЛ10У. Технические данные быстродействующих выключателей электровозов постоянного тока приведены в табл. 18.

Быстродействующие выключатели БВП-105-1 и БВП-105А-4. Эти выключатели поляризованные и установлены на электропоездах ЭР2 (выключатели БВП-105А-1), ЭР2Р, ЭР2Т, ЭР22М и ЭР22 (выключатели БВП-105А-4). Конструктивно они имеют незначительные отличия, связанные с исполнением катушек управления иа напряжение 50 и 110 В и монтажом.

Выключатель БВП-105А (рис. 195) состоит из диафрагменного привода, двухконтактных систем, соединенных последовательно гибким шунтом; удерживающего электромагнита с размагничивающей катушкой; дугогасительного устройства с дугогасительиой катушкой и двух дугогасительных камер Дугогасительная камера выполнена двукратной с деионными решетками 1 (рис. 196, а) и продольной асбестоцементной перегородкой 2, которая камеру делит на две щели.

Таблица 18


* При индуктивности 6—8 мГн. *2 То же при 6—14 мГн. *3 То же при 5—7 мГн и напряжении


Рис. 194. Направление потока в частях удерживающего электромагнита быстродействующего выключателя БВП-5 при различной полярности размагничивающего витка


Рис. 195. Быстродействующий выключатель БВП-105А со снятыми крышками (а) и его магнитная система дутья (б):

I — кожух, 2 — дугогасительная катушка, 3 и 4— дугогасительиые камеры, 5 — магнитопровод дутья, 6 и 3 — неподвижные контакты, 7 — соединительная шина


Рис. 196. Дугогасительная камера (а) и кинематические схемы (6 и в) быстродействующего выключателя БВП-105А

В каждой щели расположены два дугогасительных рога 3 а 4. Образовавшаяся при расхождениях главных контактов дуга в щелях камеры делится на две последовательно соединенные части, предельная длина которых в 2 раза больше, чем длина дуги в простой камере тех же габаритов.

После возбуждения удерживающей катушки 7 (рис. 196, б и в) и подачи сжатого воздуха в привод 5 его шток подводит якорь 13 к полюсам основного магнитопровода 15 так, что в момент упора якоря в полюсы зазор между неподвижными 9 и подвижными 10 контактами уменьшается до 7 мм. Замыкание контактов 9 и 10 происходит, когда прекращается подача сжатого воздуха в полость привода и шток отходит в исходное положение. При этом под действием двух отключающих пружин 11 рычаги 12 поворачиваются на оси рычага 6 до тех пор, пока подвижные контакты 10 не упрутся в контакты 9. Выключается БВП-105А либо при размыкании цепи удерживающей катушки 7 (кнопкой или блок-контактами защитных аппаратов), либо под действием размагничивающей катушки 14. Регулируют ток уставки выключателя винтами 8.

Быстродействующий выключатель БВП-105А имеет следующие технические данные:


Главный выключатель ВОВ-25А-Ю/ 400УХЛ1 (ВОВ-25-4МУХЛ1) и ВОВ-25А-10/630ХЛ1. Эти выключатели унифицированы для всех отечественных электровозов и моторных вагонов электропоездов переменного тока. Силумино-вым корпусом 1 главный выключатель (рис. 197) укреплен в специальном люке 294 на крыше локомотива. Между корпусом и установочной площадкой в паз закладывают резиновый шнур 2. К внешней стороне (к одной из стенок и сверху) корпуса прикреплены: патрубком 4 воздушный резервуар 6 вместимостью 32 л: воздухопроводный опорный фарфоровый изолятор 7 с фарфоровым изолятором 8, дугогасительной камерой, неподвижным контактом 10 и латунным фланцем 9 — выводом выключателя для подключения к высоковольтной цепи; фарфоровый поворотный изолятор 14 с разъединителем 12 и выводом 13\ заземляющий кронштейн 11 для заземления ножей разъединителя 12 в отключенном положении контактов 20, 21 и снятия емкостного заряда с обмотки тягового трансформатора. Конденсат из резервуара 6 отводится через трубку 5. Подвод сжатого воздуха производится через штуцер 3. В полом фарфоровом изоляторе 8 дугогасительной камеры размещены неподвижный 20 (рис. 198, а) и подвижной 21 контакты.

Подвижной контакт 21 соединен штоком 28 с поршнем 27. Для уменьшения обгорания медного наконечника подвижного контакта 21 на его торец припаян стержень из тугоплавкого материала, который выступает над торцовой поверхностью на 5—8 мм. Шток перемещается в латунной трубке 23, которая с одной стороны припаяна к цилиндру 24, а с другой оканчивается гибкими ламелями 22. В цилиндр 24 помещены поршень 27 и пружина 26, которая создает контактное нажатие около 450 Н при вжиме контакта 21 на 8 мм путем ввинчивания патрубка 19. Для смягчения удара поршня 27 при его перемещении в крайнее правое положение предусмотрен демпфер 25, набранный из резиновых и стальных шайб.

Неподвижный контакт 20 внутри имеет сопло и патрубком 19 соединен с фланцем 9, к которому подключается ошиновка. В патрубок 19 встроен стальной дугоприемный ограничитель — электрод 15 с тугоплавким наконечником К фланцу 9 болтами прикреплена головка (колпак) 17 с отверстиями 16 и выхлопным клапаном 18, предохраняющим детали, расположенные внутри дугогасительной камеры, от атмосферных осадков.


В корпусе 1 смонтированы механизмы управления выключателем: блок 46 главного привода и клапана; клапаны отключения 33 и включения 45, включающий электромагнит 43, отключающий электромагнит удерживающего типа; отключающий электромагнит переменного тока 32, контрольно-сигнальный аппарат 36, выключатель минимального давления 29, панели зажимов, промежуточное реле 38, трансформатор тока 39. Механизм выключателя снизу закрыт кожухом. Все контактные поверхности токоведущего контура покрыты слоем серебра. На электровозах главный выключатель монтируют в комплекте с проходным изолятором ПНБ-35/400, в который встроен трансформатор тока. Через проходной изолятор, стержень которого является первичной обмоткой этого трансформатора, вводится напряжение 25 кВ на тяговый трансформатор.

Включение главного выключателя начинается с поднятия давления воздуха в резервуаре 6 до 0,56 МПа (5,6 кгс/см2).

Схема рис. 198, б соответствует выключенному положению разъединителя выключателя. При этом замыкаются замыкающие контакты выключателя минимального давления 29 и подготовляется общая цепь управления. Затем возбуждается катушка электромагнита 43 (от источника энергии постоянного тока напряжением 50 В). Сердечник удерживающего электромагнита 44 притягивает якорь и удерживает его от воздействия на отключающий клапан 33. Напряжение кнопкой «Включение ГВ» подается на включающий электромагнит 43 через контакты 42 штепсельных разъемов ШР1. Электромагнит возбуждается, открывает включающий клапан 45, подающий сжатый воздух из резервуара 6 в пневматический привод 46, и закрывает отверстие, через которое воздух выходит в атмосферу. Шток привода поворачивает вал 34 до замыкания ножей 12 с неподвижным контактом 10 дугогасительной камеры и переключает контакты кон-трольно-сигнального аппарата 36, размыкая цепь питания катушки включающего электромагнита 43 Электромагнит 43 отпускает включающий клапан 45, который открывает выход сжатому воздуху через отверстие А. При этом эксцентрик 37 вместе с валом 34 поворачивается и сжимает (взводит) отключающую пружину 35 удерживающего электромагнита 44. Время включения разъединителя определяется скоростью движения поршня пневматического привода в зависимости от темпа заполнения сжатым воздухом рабочего объема привода и регулируется изменением рабочего зазора между включающим клапаном и якорем включающего электромагнита.


Разъединитель отключается, когда удерживающая катушка электромагнита 44 теряет питание. Это происходит при выключении кнопки «Выключение ГВ», установке главной рукоятки контроллера машиниста в положение БВ (быстрое выключение), установке переключателя режимов в отключенное положение, срабатывании одного из реле защиты, отключении быстродействующего выключателя, размыкании контактов автомата минимального давления 40 при понижении давления сжатого воздуха в резервуаре 6 до 0,46 МПа (4,6 кгс/см2). Выключатель выключается и при подаче рабочего напряжения через контакты 41 разъема ШР2 на отключающий электромагнит переменного тока 32. После срабатыва ния удерживающего 44 или отключающего 32 электромагнита открывается клапан 33, закрывая отверстие А, и подает сжатый воздух из резервуара в пневматический привод 31 главного клапана 49. Привод 31 открывает главный клапан 49, и сжатый воздух из резервуара 6 через воздуховодный изолятор 7 поступает в дугогасительную камеру, воздействуя на контакты 20 и 21, и в пружи-но-пневматический привод. Контакты размыкаются, возникает электрическая дуга, которая выдувается в сопло неподвижного контакта 20 на ограничитель 15 и затем гасится в интенсивной струе сжатого воздуха.

Для облегчения гашения электрической дуги и снижения коммутационных перенапряжений контакты 20 и 21 шунтированы нелинейным резистором ВНКС-25-МУХЛ1, состоящим из 15 шайб, электрически соединенных друг с другом контактными поверхностями. Шайбы расположены внутри фарфорового изолятора (см. вид А на рис. 197), сжаты пружиной, залиты эластичным термостойким и морозостойким компаундом для обеспечения неподвижности и электрического контакта.

Одновременно сжатый воздух из резервуара 6 через главный клапан поступает в дополнительный резервуар 48 и пневматический привод 46 разъединителя, который поворачивает вал 34 до замыкания ножей с контактом заземляющего кронштейна 11 (см. рис. 197 и 198) и переключает контакты аппарата 36, замыкая цепь включающего электромагнита 43. При этом эксцентрик 37 вместе с валом 34 поворачивается и отпускает отключающую пружину электромагнита 44. Клапан отключения закрывается и открывает отверстие, через которое сжатый воздух из пневматического привода главного клапана выходит в атмосферу. Главный клапан закрывается под действием пружины 50. В дугогасительной камере падает давление воздуха и под действием пружины 26 замыкаются подвижной и неподвижный контакты.

Разъединитель должен размыкать электрическую цепь при разомкнутых контактах дугогасительной камеры после того, как на них погаснет электрическая дуга Запаздывание на размыкания контактов разъединителя на 0,03—0,035 с относительно размыкания контактов дугогасительной камеры создается временем заполнения сжатым воздухом дополнительного резервуара 48 и объема пневматического привода разъединителя до достижения рабочего давления, которое регулируют, изменяя размеры впускного отверстия с помощью регулировочного винта 47.

Главный выключатель рассчитан на номинальный ток 400 А, наибольшее рабочее напряжение 29 кВ, имеет собственное время отключения не более 0,06 с в случае воздействия на него промежуточного реле при напряжении в цепи управления 50 В, давлении сжатого воздуха 0,8 МПа (8 кгс/см2) и токе срабатывания, равном 1,3 тока уставки.

На электровозах ЧС4 и ЧС4Т в качестве главного применяют воздушный однополюсный выключатель 20УУ-25А2; его номинальный ток отключения 10 кА, собственное время отключения 0,04 с. Гашение электрической дуги в этом аппарате осуществляется так же, как и в выключателе ВОВ-25-4М.

Автоматические выключатели А-3134. Эти аппараты применяют для защиты вспомогательных цепей на электропоездах ЭР9М и ЭР9Е от недопустимых токов, возникающих при перегрузках и коротких замыканиях, и для оперативных переключений в этих цепях. Выключатель трехполюсный с комбинированным расце-пителем максимального тока, состоящим из теплового и электромагнитного элементов. В случае перегрузки какой-либо фазы срабатывает тепловой элемент рас-цепителя, а при коротком замыкании — электромагнитный, соответствующий данному полюсу. В этом случае рукоятка расцепителя занимает промежуточное положение, указывая на автоматическое отключение выключателя. При включенном положении рукоятка занимает верхнее положение, при отключении вручную — нижнее. Контакты каждого полюса заключены в дугогасительную камеру с деионной решеткой. Механизм управления обеспечивает замыкание и размыкание контактов с постоянной скоростью, не зависящей от скорости движения рукоятки. Аппарат А-3134 рассчитан на номинальный ток 200 А, номинальное напряжение 500 В и ток срабатывания 1400 ± 15 А.

Автоматические выключатели А-313.

Эти аппараты применяют на электровозах ЧС2 и ЧС2Т для зашиты от перегрузок и токов короткого замыкания в цепях переменного тока с напряжением до 500 В или постоянного тока — до 300 В. Выключатели снабжены двумя независимыми отключающими устройствами — электромагнитным и тепловым. Электромагнитное устройство имеет токовое реле (см. § 71), которое срабатывает прн к.з. в защищаемой цепи. Тепловое устройство предназначено для отключения выключателя при длительных или кратковременных перегрузках, сопровождающихся большим увеличением тока. В этом режиме биметаллические пластины, включенные в защищаемую цепь последовательно с нагрузкой, нагреваются, удлиняются н воздействуют на отключающий механизм, который мгновенно размыкает пластины. Дуга в дугогасительную камеру выдувается обычно с помощью постоянного магнита. Конструктивно выключатель УМ имеет однополюсное исполнение, ^МИ51 и ^М1?50 — трехполюсное.

Предыдущая Оглавление Следующая