Они предназначены для защиты электрических цепей электропоезда от атмосферных и комутационных напряжений, которые могут достигать опасных величин при большой скорости нарастания. Принцип их действия основан на резком уменьшении электрического сопротивления при повышении приложенного напряжения. В результате волна опасного перенапряжения быстро отводится в "землю", тем самым ограничивается напряжение, прикладываемой к защищаемому оборудованию.
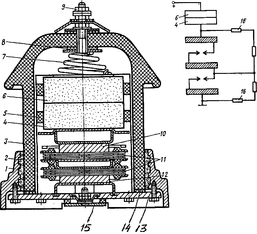
На крыше моторного вагона установлены два разрядника РМВУ-3,3: один непосредственно соединен с рамой токоприемника, другой расположен за индуктивно-емкостным фильтром. Разрядник состоит из двух вилитовых дисков 4,6 (рис. 47), двух искровых униполярных промежутков 11, которые с дугогасительной камерой размещены в зазорах между постоянными магнитами 10, 12, заключенных в фарфоровом кожухе 3.

Рис. 47. Разрядник РМВУ-3,3 и его электрическая схема:
1 — основание; 2 — заливочная масса; 3 — фарфоровый кожух;
4, 6 — вилитовые диски; 5 — фетровая прокладка; 7 — пружина;
8, 14 — кольцевые прокладки; 9 — контактный болт; 10, 12 — постоянные
магниты; 11 — искровые униполярные промежутки; 13 — днище;
15 — предохранительный клапан; 16 — высокоомные резисторы
Каждый искровой промежуток шунтирован двумя последовательно соединенными высокоомными резисторами 16. Снизу кожуха имеется днище 13 и основание 1 с заливочной массой 2. Вилитовые диски 4, 6 диаметром 130 мм по бокам покрыты твердой изоляционной обмазкой, скрепляющей их и предохраняющей диски от разрядов по поверхности. От смещения диски удерживает фетровая прокладка 5. Постоянные магниты служат для того, чтобы обеспечить равномерность магнитного
поля при горении дуги в искровых промежутках. Поскольку вилит при попадании в него влаги теряет свои электрические свойства, кожух 3 уплотнен резиновыми кольцевыми прокладками 8, 14.
Бывают случаи перекрытия вилитовых дисков, когда из-за к. з. повышается давление внутри корпуса. Чтобы не допустить взрыва разрядника, в его днище предусмотрено предохранительное устройство — клапан 15. При давлении 5 кгс/см2 он срабатывает, и газы выходят в атмосферу.
При опасных перенапряжениях (7,5 — 9 кВ) сопротивление вилитовых дисков резко уменьшается, пробиваются искровые промежутки. Большой ток протекает через разрядник и отводится в "землю". После снижения волны перенапряжения в контактной сети сопротивление вилитовых дисков восстанавливается, дуга гасится полем магнитов, разрядник опять готов к работе.
На электропоезде в основном работает первый разрядник, подсоединенный к токоприемнику. Если волна перенапряжения велика, и один разрядник с ней не справился, то подключается второй, соединенный с фильтром. Он снимает перенапряжение с конденсатора. Оба разрядника для безопасности установлены в металлическом ограждении.
|
|