Они установлены на крышах вагонов или под вагонами, включены в силовые цепи тяговых двигателей и высоковольтные цепи вспомогательных машин. Блоки резисторов 1БС.013, 1БС.014 и 1БС.015 используются в режиме пуска и электрического торможения в качестве пуско-тормозных сопротивлений. Блоки 1БС.016 служат для ограничения якорного тока преобразователя при резких колебаниях напряжения или к. з. в контактной сети, т.е. являются демпферным сопротивлением.
Блоки резисторов 1БС.021 используются в шунтирующей цепи для ослабления возбуждения тяговых двигателей. Блоки 1БС.022 ограничивают токи к.з. при отключениях контактора защиты КЗ. Кроме того, они служат для предварительного усиления или ослабления возбуждения перед отключением тяги или электрического торможения с самовозбуждением.
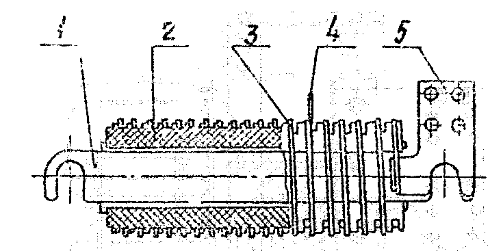
Блоки резисторов 1БС.013, 014, 015 размещены на крыше моторного вагона (рис. 49). Они состоят из шести элементов сопротивления 1, смонтированных на держателях, прикрепленных к стальным шпилькам. Шпильки изолированы эскапоновой лентой и крепятся к опорным скобам 3 и 4. На шпильках расположены стальные и изоляционные шайбы, дистанционные трубки, изоляторы и внешние выводы. Скобы установлены на опорных изоляторах 5.
Элемент сопротивления (рис. 50) представляет собой спираль из ленты 3 с отводами, установленной на изоляторах 2. Держатель (рис. 51) — это изолированная шпилька 1, с надетыми на нее шайбами 2, дистанционными трубками 3, изоляторами 4.

Рис. 49. Блоки сопротивлений резисторов 1БС.013, 1БС.014 и 015,
установленные на крыше моторного вагона: 1— элемент сопротивления; 2 — изолятор; 3,4 — опорные скобы; 5 — опорнный изолятор

Рис. 50. Элементы сопротивления резистора:
1 — металлический держатель; 2 — фарфорныс сегменты; 3 — фехралевая лента; 4 — вывод; 5 — выводы держателя

Рис. 51. Держатель:
1 — изолированная шпилька; 2 — шайба; 3 — дистанционная трубка; 4 — изолятор
|
|