В силовой схеме электропоезда возможны режимы, когда при неполном коротком замыкании аварийный ток нарастает медленно, место замыкания находится вблизи "земли". Тогда ток будет мал и не вызовет срабатывания быстродействующего выключателя. Поскольку уставка БВ достаточно высока (600 А), аварийный ток продолжит выжигать то место, где произошел пробой, и выключатель не среагирует.
От подобных режимов силовая цепь защищена дифференциальной защитой, которая реагирует на небаланс токов начала и конца цепи. При нормальной работе силовой схемы (с хорошей изоляцией) эти токи всегда одинаковы. В случае любого пробоя в силовой цепи ток в начале схемы будет обязательно отличаться от тока в конце схемы, причем последний может вообще исчезнуть.
При небольшой разнице этих токов (40 — 60 А) сработает дифференциальное реле, воздействуя на блок защиты БЗ, который моментально отключит БВ и КЗ и защитит силовую цепь двигателей. Другими словами, дифференциальная защита, значительно повышающая чувствительность БВ, является самой эффективной.

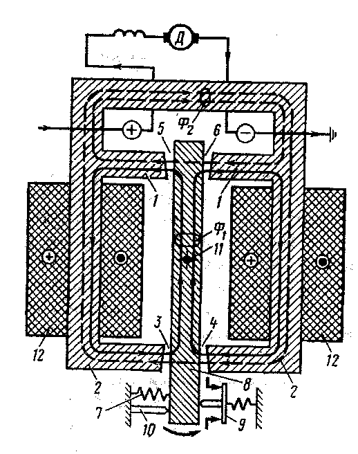
Рис. 66. Магнитная система дифференциального реле Р-104:
1,2 — стержни; 3, 4, 5, 6 — воздушные зазоры; 7 — пружина; 8 — якорь;
9 — блокировка; 10 — упор: 11 — ось; 12 — катушки

Рис. 67.
Дифференциальное герконовое
реле 1Р.006(а):
1— каркас; 2,3 — катушки;
4 — геркон;
5 — выводы геркона;
магнитные потоки реле (б): 1-2, 3-4 — выводы катушек; 5-6 — выводы геркона;
герконовое реле 1Р.008 (в): 1 — каркас; 2 — катушка;
3 — геркон КЭМ-1;
4 — выводы;
5 —трубка типа ТКР;
6 — маркировочные трубки
На стальном сердечнике (рис. 66) дифференциального реле имеются две последовательно соединенные подмагничивающие катушки 12. В середине установлен якорь 8, который может вращаться на оси 11. С помощью болта и пружины 7 его положение регулируют так, чтобы воздушные зазоры 3, 4, 5, 6 были одинаковыми. В верхней части магнитопровода помещаются два кабеля силовой цепи тяговых двигателей (кружок со знаком "+" обозначает начало цепи, кружок со знаком "—" конец цепи). Когда ток цепи управления протекает через подмагничивающие катушки, их магнитный поток Ф1 замыкается по стержням 1, 2 через воздушные зазоры.
При нормальной работе схемы и отсутствии к. з. по входному и выходному силовым кабелям протекают одинаковые токи. Поэтому их магнитные потоки, направленные встречно, взаимно уничтожаются и не влияют на реле. Якорь 8 находится в положении равновесия, и на него действует только пружина 7.
После появления к.з. в цепи тяговых двигателей силовой ток во входном кабеле "+" будет больше, чем в выходном кабеле "—". Их разность создает в стержнях 1 и 2 поток небаланса Ф1, который в воздушных зазорах 4 и 5 складывается с магнитным потоком подмагничивающих катушек Ф1, а в зазорах 3 и 6 направлен встречно. Намагничивающая сила в зазорах 4 и 5 преодолевает усилие пружины и поворачивает якорь против часовой стрелки. Якорь изоляционной планкой нажимает на мостик и размыкает блокировочный контакт в схеме управления. Быстродействующий выключатель отключается.
Восстанавливается реле после отключения силового тока в цепи тяговых двигателей и тока в подмагничивающих катушках. При этом якорь реле возвращается в исходное положение.
Мы подробно разобрали действие электромагнитного дифференциального реле, которое устанавливали на электропоездах ЭР2Р и ЭР2Т первых выпусков. Теперь читателям станет проще понять, как работает герконное дифференциальное реле 1Р.006, устанавливаемое в настоящее время. Назначение и принцип действия обоих реле совпадают, но конструкция реле 1Р.006 совершенно иная.
|
|