Герконные реле 1Р.008 используют в качестве реле напряжения (по схеме РН), реле максимального напряжения (РМН), реле боксования (РБ) и реле разносного боксования (РРБ).
Реле состоит из каркаса и катушки, изолированной эпоксидным компаундом. В полости каркаса расположен геркон с припаянными выводами. При подаче напряжения на катушку происходит замыкание геркона в реле. После снятия напряжениях катушки он размыкается (рис. 67,в).
Таблица 22
Технические данные реле 1Р.008
|
Реле |
Вид реле |
|||
|
РН |
РБ |
РМН |
РРБ |
|
|
Ток, мА: |
||||
|
срабатывания |
1,7 — 2,4 |
1,7 — 2,4 |
2,0 — 4,0 |
25,4 ±1,0 |
|
отпускания якоря |
0,6 — 2,2 |
— .. |
. .-it-, . ..■ |
|
|
Напряжение, В: |
||||
|
2400 |
— |
3950 ± 50 |
— |
|
|
1700 |
54 ±3,0 |
— |
— |
|
Если ток срабатывания реле не соответствует заданному (табл. 22), необходимо установить геркон в такое положение относительно катушки, при котором ток будет соответствовать уставке. В этом положении его следует зафиксировать пластмассовыми клиньями.
Если напряжение отключения реле РБ не соответствует уставке, реле регулируют, закорачивая последовательно по одному стабилитрону (см. схему реле боксования), начиная с ПП1. Величину добавочных резисторов реле боксования R18, R19, R20, R21, R51 и R52 устанавливают равной (25 ± 0,5) кОм.
Регулируя реле максимального напряжения РМН, добиваются, чтобы ток, при котором оно включается, соответствовал уставке. Если этого нет, то изменением величины добавочных резисторов R17, R61, R62 и R63 (закорачиванием, припаивая проводник параллельно резистору) выставляют нужную величину тока уставки.
Специального обслуживания герконные реле не требуют, но при осмотрах надо обращать внимание: нет ли следов перекрытий по корпусу реле и по панели, а также на состояние болтовых и винтовых соединений.
Характерные неисправности герконных реле
Таблица 23
|
Неисправность |
Причина |
Способ устранения |
|
Реле не срабатывает |
Неисправности в цепи добавочных резисторов |
Проверить резисторы тестером, неисправный заменить |
|
Обрыв в катушке реле |
Заменить реле и настроить |
|
|
Вышел из строя геркон |
Заменить геркон |
|
|
Нарушена регулировка |
Отрегулировать реле |
|
|
Реле отключается при отключении катушки |
Приварились контакты геркона |
Залить геркон Проверить цепь геркона на отсутствие короткого замыкания |
|
Ток срабатывания реле больше допустимого 1 . . |
Нарушено положение геркона в каркасе Межвитковое замыкание в катушке |
Восстановить положение геркона, проверить уставку Заменить реле |
Продолжение таблицы 23
|
Неисправность |
Причина |
Способ устранения |
|
Нарушено положение геркона в каркасе, сорвано эмалевое покрытие При возникновении тока короткого замыкания реле не срабатывает Реле срабатывает при отсутствии тока короткого замыкания |
Прикладывалось усилие к выводам геркона Вышел из строя геркон Механическое повреждение высоковольтных катушек Нарушена'настройка реле Межвитковое замыкание одной из катушек |
Отрегулировать положение геркона Заменить геркон Заменить реле Произвести настройку Заменить реле |
Блок реле ускорения БРУ
Блок реле ускорения (БРУ) контролирует вращение реостатного контроллера, т.е. вывод пуско-тормозных резисторов при разгоне и торможении электропоезда. Выходом (нагрузкой) блока служат вентили привода реостатного контроллера PKI, РК2, которые по проводам Щ 1Е, 614 поочередно получают управляющие импульсы.
На вход БРУ через разъемы al — Ь4 и провода 1Ф — ЗОА подается постоянное напряжение 110 В от контроллера машиниста.
|
Положение переключателя |
Уставка БРУ, А |
Положение переключателя |
Уставка БРУ, А |
|
1 |
140 |
5 |
320 |
|
2 |
185 |
6 |
365 |
|
3 |
230 |
7 |
410 |
|
4 |
275 |

Рис. 68. Схема для работы БРУ, обеспечивающая непрерывное вращение вала реостатного контроллера

Рис. 69. Схема работы реле ускорения в зависимости от тока якорей двигателей
Рис. 70. Схема воздействия переключателя уставок на блоки БРУ
Рис. 71. Ввод и вывод стабилитронов ПП400—ПП405 в диагональ выпрямительного моста


В этом состоянии, как показано на рис. 68, блок обеспечивает непрерывное так называемое "хронометрическое" вращение вала контроллера до тех пор, пока не будет снято питание с проводов 1Ф—ЗОА. Такой режим используется при возврате на позицию 1, а также для перевода контроллера с 1-й на 2-ю позицию при переходе на самовозбуждение.
Для того чтобы работа блока БРУ определялась током якорей двигателей, требуется еще один вход: через разъемы аб — а4 по проводам 603 — 638 подается переменное напряжение, пропорциональное току двигателей. На рис. 69 видно, что напряжение 220 В берут от двух фаз резервной магистрали 66,67. Через переключатель В27, предохранители Пр23, ПрЗ 1 оно поступает на блок, причем величина сигнала, подаваемого на вход аб — а4, будет определяться индуктивным сопротивлением рабочих обмоток 601 — 602 датчика тока якорей ДТЯ1, представляющий собой магнитный усилитель.
По кабилю Р-С протекает ток двигателей, который меняется в процессе пуска. Следовательно, меняется и его магнитный поток, а значит, и индуктивное сопротивление рабочих обмоток 601 — 602. В итоге будет меняться переменное напряжение на входе БРУ 638 — 603. Если ток двигателей меньше уставки блока, индуктивное сопротивление обмоток 601 — 602 достаточно велико, сигнал на блок не поступает.
При наличии питания в проводах 1Ф — 30А подается очередной импульс на вентиль реостатного контроллера: Контроллер поворачивается на очередную позицию. При возрастании силового тока двигателей из-за уменьшенного индуктивного сопротивления обмоток 601 — 602 увеличивается сигнал на проводах 603 — 638. Блок не позволяет дальнейшее переключение вентилей, ожидая спадания тока двигателей. Таким образом, наличие сигнала на входе 603 — 638 исключает хронометрическое вращение, удерживая реостатный контроллер.
Из рис. 69 понятно назначение блокировки контактора ОВ. Для того чтобы после окончания торможения с независимым возбуждением произошел переход на самовозбуждение, требуется перевести реостатный контроллер с 1 -й на 2-ю позицию для необходимых переключений в силовой схеме. Контактор ОВ в этот момент включен, вход 603 — 638 закорочен. Как только на провод 1Ф поступит питание, реостатный контроллер перейдет на позицию 2. Затем контактор ОВ выключается, раешунтируя вход 603 — 638, и дальнейшая работа блока будет определяться током двигателей.
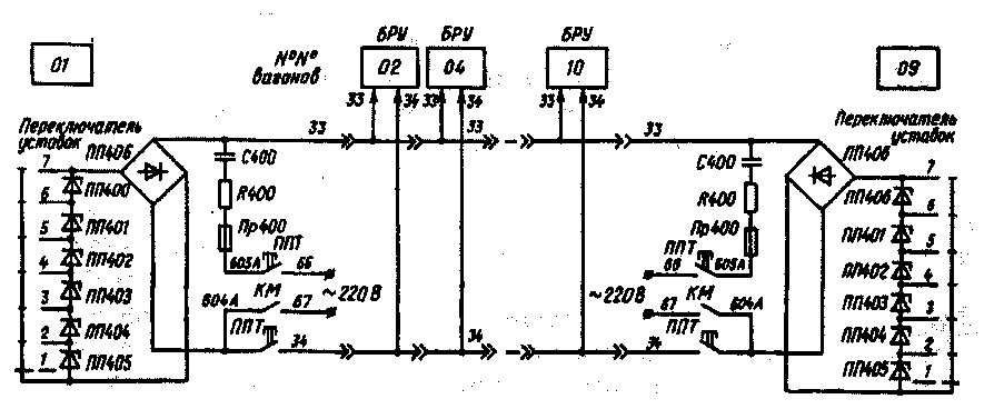
Блок реле ускорения имеет третий вход а5 — Ь5, на который по поездным проводам 33, 34 подается переменное напряжение. Его машинист может регулировать специальным переключателем, расположенным на пульте управления.
Схема работает следующим образом (рис. 70). На выпрямительный мост ПП406 по проводам 66, 67 подается переменное напряжение 220 В через контакты контроллера машиниста, переключатель ППТ, резистор 11400 и конденсатор С400. В диагональ моста как нагрузка включены последовательно шесть стабилитронов ІШ400 —1111405. В зависимости от положения переключателя можно менять и* число от одного д© шести или вообще закоротить диагональ моста.
Так, в положении 7 мост полностью закорочен, напряжение на диагонали моста и входе равно нулю, а значит, равно нулю и напряжение между проводами 33, 34. На блоки БРУ сигналы не подаются (рис. 71,а) блоки работают с максимальной уставкой.
В положении 1 введены все стабилитроны (рис. 71,6), увеличиваются до максимума переменное напряжение, а значит, и сигнал на БРУ в проводах 33, 34. Блоки работают с минимальной уставкой. В промежуточных положениях переключателя уставок величина сигнала на БРУ будет определяться числом стабилитронов, подключенных в диагональ моста ПП406.
Следует иметь в виду, что обрыв поездных проводов 33,34, перегорание предохранителя Пр400, потеря контакта в контроллере машиниста, переключателя ППТ ведет к работе блоков с максимальной уставкой, что связано с повышенным боксованием и юзом.
Конденсатор С400 снижает напряжение на проводах 33, 34, резистор 11400 ограничивает броски тока при переключениях. Контакты ППТ 66 — 605А и 34 — 604А, контакты контроллера машиниста 67 — 604А блокируют переключатель уставок хвостового вагона. Уставку реле ускорения можно менять в широких пределах.
Таким образом, блок реле ускорения в зависимости от заданной машинистом уставки и сигнала, поступающего с датчика тока якорей ДТЯ1 при наличии управляющего напряжения, подаваемого с контроллера машиниста, разрешает реостатному контроллеру перейти на следующую позицию. При этом подается питание на соответствующий вентиль. Окончательная схема подключения блока приведена на рис. 72.
ЄРУ._

Рис 72. Включение блока БРУ в цепь управления
Блок защиты БУКЗ
Как видно из рис. 73, блок защиты БЗ, как иблокБРУ, подключен к тому же источнику питания: предохранители Пр23, ПрЗ 1, переключатель В27, две фазы резервной магистрали 66, 67, т.е. оба блока находятся в одной цепи. Блок защиты выполняет две основные функции: включение контактора защиты КЗ и его отключение в аварийных режимах. Одновременно с КЗ восстанавливается или срабатывает быстродействующий выключатель БВ.
Оба аппарата включают с пульта управления воздействием на реле РКЗ-1 (контактор КЗ можно включить также кнопкой В28 "Восстановление защиты в шкафу моторного вагона"). Через блокировки РКЗ-1 700 — 701 и КЗ 701 — 704 блок защиты обеспечивает питание включающих катушек контактора КЗ (левая К32 и правая КЗЗ), соединенных параллельно. После включения контактора катушки переключаются последовательно.
При перегрузках в силовой цепи датчик тока якорей ДТЯ1 воздействует на блок защиты аналогично его воздействию на БРУ. Если ток превосходит уставку блока, то на вход "токовая защита" поступит сигнал по проводу 638. Подается питание на размагничивающую катушку КЗ 1 по проводам 702, 703, и контактор КЗ отключается. Одновременно срабатывает и БВ. Блок защиты отключит контактор и при срабатывании дифференцирующего трансформатора ТрД.
В этом случае по проводам 647,648 подается соответствующий сигнал. Если сработает реле ДР, то его повторитель своей блокировкой ПДР 601 — 601А снимет питание с блока, а блокировкой ПДР 67Ж — 702 подает напряжение на размагничивающую катушку К31, и контактор отключится.
Сигнализация светодиодов ПП39 — ПП41 дает машинисту дополнительную информацию о том, какая сработала защита — от перегрузки или дифференциальная. Причем при ее восстановлении с пульта управления светодиоды продолжают сигнализировать. Выключить их можно кнопкой В28 "Восстановление защиты", расположенной в шкафу, определяя при этом, что именно сработало.
Так, ПП40 будет сигнализировать, если сработало реле ДР, а при срабатывании трансформатора ТРД светодиод не загорится. При срабатывании от перегрузки по проводам 711, 713 подается питание на светодиод ПП39 "перегрузка". Кнопкой В24 проверяют действие защиты по каналу перегрузки; своими контактами она шунтирует рабочие обмотки датчика ДТЯ 1, чем имитируется повышение тока якорей двигателей. При нормально восстановленной защите светодиоды ПП39 и ПП40 не горят, сигнализирует только ПП41 "Защита восстановлена".

Рис. 73. Схема включения блока защиты.
Блок управления торможением САУТ
Блок САУТ входит в систему автоматического управления торможением при независимом возбуждении двигателей. В этом случае обмотки возбуждения двигателей являются нагрузкой для управляемого моста Тт1 — Ттб. На мост подается напряжение 220 В переменного тока от генератора управления трехполюсным контактором КВ через трансформатор ТрВ (рис. 74).
Блок САУТ работает в диапазоне скоростей от максимальной до 45 — 50 км/ч, поддерживая ток якорей на заданном уровне за счет увеличения тока в обмотках возбуждения М1 — М4 по мере снижения скорости поезда.

Блок обеспечивает автоматическое управление тиристорами Тт1 — Ттб в зависимости от внешних сигналов, поступающих с датчиков тока якорей, датчиков тока возбуждения, реле боксования, юза и др.
Кроме того, функционирование блока зависит от уставки, которая задается контроллером машиниста: в положении 1Т сигнал поступает по проводу 4, в положении 2Т — по проводу 1 А, в положении ЗТ — по проводу 41. Он настраивается на требуемую уставку, т.е. обеспечивает такое возбуждение, при котором в первом тормозном положении ток якорей оставит 100 А, во втором — 250 Айв третьем тормозном — 350 А.
Напряжение питания 110 В подается на блок по проводам 40К, 30А. После сбора тормозной схемы размыкается блокировка контактора ЛКТ 20А— 87Л и снимается питание со входа блока 87Л. Это является сигналом для включения блока. После снижения скорости поезда до 45 — 50 км/ч ток возбуждения достигает своего максимума — 250 А. Данная величина обусловлена мощностью источника питания (генератора).
В этот момент блок САУТ по проводам 010 и 031 включает специальное реле PCB. Оно поворачивает вал реостатного контроллера из позиции 1 в позицию 2, чтобы переключить силовую схему на режим самовозбуждения. Затем замыкаются блокировки РК2-11 и ПЛК 87Н-87Л. На вход блока 87Л вновь поступает сигнал, и блок исключается из работы, контур независимого возбуждения разбирается.
Блок управления и защиты преобразователя БУП и блок регулятора частоты БРЧ.
Блок БУП обеспечивает запуск и защиту преобразователя, а также регулирование напряжения генератора за счет изменения тока в обмотке возбуждения. На блок БУП подаются внешние входные сигналы, определяющие параметры работы преобразователя (рис. 75).
На вход "Реле тока" поступает сигнал от реле РОТ, которое определяет ток якоря двигателя. Входы "Фаза" и "Нейтраль" (провода 82 и 84Б) контролируют фазное напряжение генератора. На входы "55 В" и "UBX" по проводам 74Б и 90В подается напряжение от нейтральной точки вторичных обмоток трансформатора управления ТРУ и линейное напряжение трансформатора, выпрямленное неполнофазным мостом Д21 — Д24 (см. заводскую схему).
В зависимости от исходных сигналов блок управляет работой реле защиты РЗПЗ, контакторов КП, ПКП и БК. Реле РЗПЗ отключает схему преобразователя в аварийных режимах. Контакторы КП, ПКП обеспечивают двухступенчатый запуск двигателя преобразователя.

Рис. 75. Упрощенная схема работы блока БУП
Контактор БК переводит аккумуляторную батарею в режим заряда при нормальной работы генератора, трансформатора управления и выпрямителя. Напряжение питания ПО В подается на блок по проводам 15Ж, 30 через предохранитель Пр26 после включения управления в головной кабине.
Пуск преобразователя начинается после включения реле управления ПРУ и контактора КП. Затем включается реле РОТ и блокировкой 15И — 20Е подает сигнал на ввод БУП "Реле тока". Включается контактор генератора КГ, контролирующий появление напряжения на генераторе, и шунтирует блокировку ПКП 20В — 20С в цепи контактора КП.
При напряжении генератора, близком к номинальному, входной сигнал "UBX" достигает значения уставки, и с выхода блока "Заряд" поступает питание на катушку контактора Б К, который переключает батарею в режим заряда. Через 3,5с после сигнала "Реле тока" блок БУП подает выходной сигнал "Задержка" и по проводу 20Ш включается пусковой контактор ПКП. Блок формирует сигнал "Защита" и с помощью реле РЗПЗ отключает преобразователь в аварийных случаях:
при напряжении генератора на входе "Фаза — нейраль" более 160 В и частоте 50Гц (или при частоте более 75 Гц, но нормальном фазном напряжении 127 В);
при длительном (более 1 с) повышении напряжения "UBX" 125 В;
при длительном (более 1 с) понижении напряжения "UBX" менее 85. В этом случае отключается также контактор БК.
Во время работы электрического торможения включается реле защиты РЭП1, и на вход "Нейтраль" подается сигнал через резистор R16, что "загрубляет" защиту и предотвращает ложные срабатывания. Схема преобразователя разбирается также в случаях срабатывания теплового реле ТР7, автоматического выключения Q1, разъединении аварийного разъема Ш17 — Ш19.
Блок БУП обеспечивает импульсное регулирование тока в обмотке возбуждения Й1 — И2, т.е. выходного напряжения генератора. Сигнал "управление" по проводу 80В подается на управляющий вход тиристора Тт1 и открывает его. Запирается тиристор за счет работы неполнофазного моста Д8 — Д11, так как импульсы напряжения, подаваемые на нагрузку (обмотку возбуждения) имеют "нулевые" паузы.
В эти моменты происходит естественное гашение тиристора. Изменяя моменты включения Тт1, меняется "ширина" импульсов на обмотке возбуждения, а значит, регулируется среднее значение напряжения и тока возбуждения. Одновременно с включением контактор КП получает питание вход блока БУП "Регулятор", благодаря чему обеспечивается подача управляющих импульсов на тиристор Тт1 при регулировании напряжения.
Аналогично регулируется среднее значение тока в независимой обмотке двигателя преобразователя блоком БРЧ. В начале пуска возбуждение двигателя обеспечивается силовой обмоткой возбуждения. При достижении частоты вращения, близкой к номинальной, вступает работу блок БРЧ.
Начинают подаваться сигналы на управляющий вход тиристора Тт2, и
появляется ток в независимой обмотке возбуждения HI .....- Н2.
Трансформатор обратной связи ТрС обеспечивает гашение автоколебаний в системе автоматического регулирования частоты.
|
|