С помощью электропневматических вентилей дистанционно управляют проводами аппаратуры: силовыми контакторами, быстродействующим выключателем, групповыми переключателями, автоматическими дверями и т.д. Вентили имеют клапанную систему, благодаря которой сжатый воздух попадает в цилиндры аппаратов или выпускается в атмосферу.

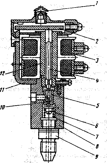
Рис. 77. Вентиль ВВ-2Г:
1 — кнопка с пружиной для включения вентиля вручную; 2 — якорь;
3 — катушка; 4, 6 — бронзовые клапаны; 5 — седло клапана; 7 — пружина;
8 — стальной корпус; 9 — пробка со штуцером для подачи воздуха;
10 — игла клапана; 11 — магнитопровод; 12 —полный стальной сердечник
Включающий вентиль ВВ-2 (рис. 77) имеет магнитопровод 11, полый сердечник 12, на который намотана катушка 3. Снизу сердечник соединяется со стальным корпусом 8, в который запрессовано седло 5 клапана 6, внутри сердечника проходит шок клапана 4. Клапан 6 упирается в шток иглой 10. В верхнем положении оба клапана удерживаются пружиной 7, которая фиксируется пробкой со штуцером (по нему подается сжатый воздух из резервуара управления). Заметим, что игла клапана 10 и шток клапана 4 —- это разные детали, они только соприкасаются. Сверху вентиля установлена крышка с кнопкой 1 для ручного управления.
Когда на катушку вентиля 3 подается питание, якорь 2 притягивает, нажимает на шток верхнего клапана. Шток опускается и заставляет верхний клапан сесть на седло. Тем самым перекрывается атмосферное отверстие, которое расположено выше седла.
Одновременно шток воздействует на иглу нижнего клапана и, преодолевая усилие пружины 7, отжимает нижний клапан и открывает отверстие в седле для поступления сжатого воздуха из магистрали в боковое отверстие. Аппарат срабатывает.
После обесточивания катушки пружина прижимает клапан 6 к седлу, перекрывая источник сжатого воздуха. Нижний клапан, прижатый к седлу своей иглой, поднимает верхний клапан, который открывает свое отверстие в седле и соединяет цилиндр аппарата с атмосферы. Аппарат отключается.
На реостатных контроллерах применяют аналогичные вентили В-3, на магнитопроводе которых установлены медные демпфирующие кольца. При включении или выключении катушек в кольцах наводятся вихревые токи. Их магнитные потоки направлены встречно нарастающему потоку катушки (при включении), и согласно с потоком катушки (при выключении вентиля). Другими словами, обесточенная катушка какую-то долю секунды удерживает якорь. За счет этого вал реостатного контроллера четко доходит до следующей позиции, предотвращаются его заедания между позициями.
Таблица 24
Возможные неисправности вентилей
|
Неисправность |
Причина |
Способ устранения |
|
Дутье воздуха, |
Засорилось |
Вручную несколько раз включить вентиль. |
|
при обеспечен- |
седло или |
Отвернуть нижнюю пробку (или штуцер), вы- |
|
ной катушке |
нижний |
нуть пружину и нижний клапан. Тщательно |
|
клапан |
протереть часть клапана и седла. Собрать вентиль, убедиться, что игла вошла в отверстие верхнего клапана. В необходимых случаях следует произвести притирку клапана. |
|
|
Дутье воздуха |
Засорилось |
Несколько раз вручную включить вентиль. |
|
при включен- |
седло или |
Снять крышку вентиля, вынуть якорь и верх- |
|
ной катушке |
верхний |
ний клапан. Седло и клапан протереть. Соб- |
|
клапан |
рать вентиль и убедиться, что отверстие в торце клапана село на иглу. В необходимых случаях следует притереть клапан |
|
|
Вентиль не |
Обрыв це- |
Заменить катушку вентиля, устранить неиспра- |
|
включается при |
пи катуш- |
вности схемы |
|
подаче напряже- |
ки. |
|
|
ния на катушку |
Неисправна схема управления |
|
|