Чтобы обеспечить работу электропоезда по системе многих единиц и запитывать высоковольтные вспомогательные цепи прицепных головных вагонов, электрические цепи соединяют междувагонными штепсельными соединениями. Их расположение на торцовых и лобовых стенах вагонов позволяет выполнить следующие соединения;
моторного блока — лобовым концом с торцовым концом головного или прицепного вагона;
два моторных вагона (М) — только с лобовым концом прицепного вагона (П).

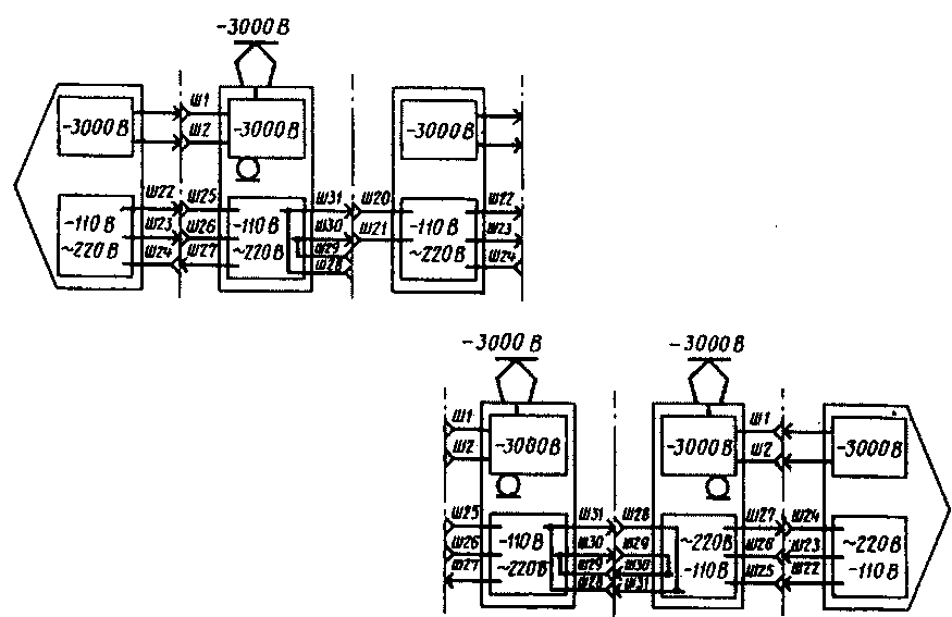
Рис. 113. Схема межвагонных соединений электропоезда ЭД2Т
Электропоезда Демиховского машиностроительного завода допускают вцепление одного дополнительного прицепного вагона, т.е. последовательное соединение двух прицепных вагонов. В этом случае .происходит нормальное соединение (рис. 113), поскольку на торцовой стороне прицепного вагона имеются вилки для соединения высоковольтных цепей 3 кВ и розетка для соединения цепей 220 В. Необходимо лишь правильно сориентировать (развернуть) дополнительный вагон. Его можно успешно вцеплять и в поезда ЭР2Т.
Питание вспомогательных цепей прицепного или головного вагона напряжением 3000 В осуществляется от моторного вагона через штепсельные соединения Ш1, Ш2. Через них подается высокое напряжение от одного прицепного вагона на другой, когда в составе имеется дополнительный вагон. Цепи питания напряжением 220 В, 110 В и 50 В передаются между вагонами через низковольтные штепсельные соединения. Подобные соединения имеются и на лобовой части головных вагонов электропоездов, что позволяет сцеплять два состава.
Наименьшая составность электропоезда — четыре вагона, т.е. две секции: Г+М+М+Г. Номинальная составность для поездов ЭР2Т — Г+М+П+М+П+М+М+П+М+П+М+Г, т.е. 12 вагонов; для поездов Демиховского завода — Г+М+П+М+П+М+М+П+М+Г, т.е. 10 вагонов.
Схема междувагонных соединений при формировании шестивагонного электропоезда ЭР2Т в качестве иллюстрации приведена на рис. 114.

Рис. 114. Схема формирования шестивагонного электропоезда ЭР2Т
Таблица 25
Характерные неисправности в электрических цепях электропоездов ЭР2Р, ЭР2Т, ЭД2Т
|
Неисправность |
Причина |
Способ устранения |
|
Аккумуляторная батарея |
||
|
При включении батареи нет напряжения 110 В • |
Перегорели предохранители Пр29, ПрЗО, плохой контакт в контактах контактора БК 15— 15Ф |
Заменить предохранители, зачистить контакты |
|
Отсутствует напряжение 50 В |
Перегорел предохранитель Пр31, плохой контакт в контактах выключателя BIO 44ВА — 44Е или контактора БК 44 — 44Е |
То же |
|
На батареях всего поезда пониженное напряжение (менее 80 В) |
На одном нз вагонов неполное к.з. в проводах 15-30 |
Убрать предохранители Пр13 по всему поезду и определить неисправную секцию. Разделить состав пополам междува-гоиными соединениями, включить ПРУ вручную, привести в рабочее состояние исправную часть поезда, после чего вновь заблокировать междувагонное соединение |
|
При включении батареи перегорает предохранитель Пр29 или ПрЗО |
Пробой диодов выпрямительного моста Д32 —Д37 или к.з. в цепи проводов 15 — 30 |
Снять контактную накладку ХТ1 на рейке зажимов |
|
После запуска преобразователя 1ГГО6 пропадает напряжение 50 В |
Перегорел предохранитель Пр18, нет контакта в контактах контактора БК 44—74Б |
Заменить предохранитель, проверить контакт БК 44—74Б |
|
Нет питания ПО В от соседних секций |
Перегорел предохранитель Пр13 |
Проверить предохранители на неисправной секции, а также на соседних секциях, неисправный заменить |
|
Одна из батарей сильно разряжена |
Неисправна цепь вольто-добавки, обрыв диода Д38 |
Проверить предохранители Пр19, Пр29, ПрЗО, диод Д38. При сильно разряженной батарее на головном вагоне поставить перемычки 44—48 на данном вагоне и на соседнем прицепном |
Продолжение таблицы 25
|
Неисправность |
Причина |
Способ устранения |
|
Вспомогательные компрессоры |
||
|
Компрессоры не включаются по всему поезду |
Перегорел предохранитель Пр50 на пульте управления, неправильное положение переключателя BIO |
Заменить предохранители, установить переключатель BIO в требуемое положение |
|
Не работает компрессор на одном из вагонов |
В шкафах моторных вагонов обрыв провода 13 Перегорел предохранитель Пр22, неисправен регулятор давления, неисправен двигатель компрессора |
Проверить целость цепи включения, при необходимости заменить щетки двигателя |
|
Токоприемники |
||
|
Не поднимаются токоприемники на всем поезде при наличии сжатого воздуха |
Перегорел предохранитель Пр50, плохой контакт в кнопке 'Токоприемник поднят", обрыв провода 25 |
Заменить предохранитель, убедиться в исправности кнопки и целости провода 25 |
|
Не поднимается токоприемник на одном вагоне |
Заедает пробка клапана токоприемника, отсутствует или малое давление сжатого воздуха в цепи управления, засорился фильтр. Сработало реле термосигнализации или открылась дверца шкафа. При этом слышен шум воздуха в клапане токоприемника |
Проверить давление воздуха, развернуть пробку вручную. Если реле РББ1 выключено, проверить блокировки безопасности, целость резистора г157. Найти и устранить причи ну срабатывания реле ГГГРС. Смазать пробку клапана токоприемника |
|
Преобразователь |
||
|
При включении выключателя ВУ преобразователи продолжают работать |
Пробой диодов Д25, Д26 в головном или хвостовом вагонах |
Отсоединитель провода от диодов |
|
Нет запуска преобразователей по всему поезду. Горит сигнальная лампа "Преобразователь" и "Вспомогательные цепи" |
Перегорела вставка ВУ Пр54, нет напряжения в контактной сети, низкое напряжение на батарее, обрыв провода 22 |
Убедиться в наличии напряжения сети, проверить напряжение на батарее. Заменить вставки Пр29, ПрЗО, Пр13, Пр54. На моторном вагоне поставить перемычку 15 — 22 |
Продолжение таблицы 25
|
Неисправность |
Причина |
Способ устранения |
|
Не запускается преобразователь на одном из вагонов. Горят сигнальные лампы "Преобразователь" и "Вспомогательные цепи" |
Перегорели вставки Пр2, Пр19, Пр26, Пр4, Пр5, Пр12, Пр14 Сработала защита или выключатель СП. Неисправен блок БУП, электрические разъемы КП или цепь его включения. Не включается реле управления ПРУ, сработала тепловая защита — реле ТР7 |
Заменить предохранители, осмотреть контакты ПРУ 15-20 н 20Г-20В. При срабатывании защиты выключить и вновь включить В1 или кратковременно отжать якорь РЗПЗ, проверить реле перегрузки РПП и реле обратного тока РОТ. Выключить и снова включить автоматический выключатель СП, проверить разъем Ш17 — Ш19. Восстановить ТР7. Осмотреть контактор КП и контрольной лампой проверить напряжение на катушке контактора в шкафу № 6 на зажимах 20С — ЗОАЭ |
|
Преобразователь идет вразнос, срабатывает защита |
Перегорели предохранители ПрЮ, Пр44 — Пр46, пробой днода Д7, тиристоров Тлі, Тт2, плохой контакт между кольцами и щетками генератора (недостаточное нажатие щеток, износ, заедание и другие неисправности), неисправны блок БУП, резисторы ЮІ.ІШ |
Заменить предохранители, проверить состояние щеток, заменить блок БУП |
|
Резистор К5 остается введенным в цепь двигателя преобразователя, светоди-од на блоке БУП при этом не горит |
Неисправен контактор ПКП или блок БУП. Не отрегулировано реле обратного тока РОТ, нет контакта в разъемах блоков БРЧ и БУП, неисправны диоды Д4 и Д50 |
Заменить блок БУП и убедиться во включении контактора ПКП |
|
Повышенное напряжение на генераторе |
Перегорели предохранители Пр4, Пр5, Пр12, Пр14, Пр41 — Пр43, Прб Неисправны диоды моста Д21 — Д24 или блок БУП |
Заменить предохранители, блок БУП илн отрегулировать напряжение |
Продолжение таблицы 25
|
Неисправность |
Причина |
Способ устранения |
|
Частота в сети не соответствует норме (повышена, понижена, автоколебания) |
Плохие контакты в разъемах БУП и БРЧ. Неисправны илн ие отрегулированы блоки, иет цепн обратной связи |
Заменить ли отрегулировать блоки, проверить работу трансформатора ТрС |
|
При запуске преобразователя стрелка вольтметра не отклоняется (нет возбуждения) |
Перегорела Пр4, Пр5. ПрЮ, нет цепи от батареи на независимую обмотку возбуждения, пробит диод Д5 |
Заменить предохранители |
|
При запуске преобразователя стрелка вольтметра отклоняется, но напряжение и частота повышены или понижены, срабатывает реле зашиты РЗПЗ |
Перегорели предохранители ПрЗ, Пр4, Пр5, ПрЮ, Пр12,Пр14, Пр18, Пр41, Пр46 |
То же |
|
При запуске преобразователь идет вразнос |
Неисправен блок БУП, возможен пробой диодов, отсутствует питание на провод 20К |
Проверить работу блока БУП, проверить все диоды на пробой, н наличие напряжения на проводе 20К, осмотреть блокировку РЗП373М-73Б |
|
Не запускается преобразователь |
Повреждение преобразователя, перегорание предохранителя Пр2 на моторном или прицепном вагоне |
Отключить В1, подложить изоляцию под якорь реле РВТ2, зафиксировав его в выключенном положении, заменить предохранители |
|
Главные компрессоры |
||
|
Не включаются компрессоры на всем поезде. Горит лампа "Вспомогательные цепи" |
Неисправны регуляторы давления, перегорела вставка Пр17 в головном вагоне |
Заменить вставку, проверить регулятор давлення, зачистить контакты. Не допускать включение контакторов К от одного регулятора давления, т.к это может вывести из строя контакторы К (выгорают катушки) |
Продолжение таблицы 25
|
Неисправность |
Причина |
Способ устранения |
|
Не работает компрессор на одном вагоне горит лампа "Вспомогательные цепи" |
Перегорели вставки Пр25, Пр15, Пр16, сработала тепловая защита, нет контакта в блокировках цепи включения, неисправно реле напряжения РНК |
Заменить вставки,, убедиться, что реде РЩ включено, восстановить тепловую защиту. В ключить контактор К вручную, если якорь удерживается, проверить блокировки РЗП127—27А, ПКП 21 к—27Б |
|
При включении компрессора отключается преобразователь |
Перегорел один из предохранителей Пр44 — Пр46 |
Заменить вставку |
|
Во время работы компрессора мигают лампы главного освещения |
Неисправна механическая часть компрессора, двигатель работает с перегруз-кон |
Провести ревизию клапанной коробки и устранить неисправность (в условиях депо) |
|
Быстродействующий выключатель и контактор защиты |
||
|
Не восстанавливается защита на всем поезде,торит лампа ''БВ" |
Перегорел предохранитель Пр54, иет контакта в кнопке ' "Возврат защиты" |
Заменить вставку, почистить контакт в кнопке, восстановить БВ с клеммовой рейки (провода 15—7), проверить переключатель ППТ |
|
Не восстанавливается защита на одном из вагонов, лампа "ЪВ" не гаснет |
Перегорели вставки Пр21 Пр23, Пр31. Неисправен блок БЗ, обрыв катушки БВ и КЗ Повреждение аппаратов защиты БВ или КЗ, попадание грязи, льда, посторонних частиц под якорь аппарата. Неисправен вентиль БВ |
Заменить вставки. Убедиться в наличии напряжения на проводах 66, 67 и в том, что контактор КЗ включен по свето-диоду ПП41. Проверить резистор 1169, реле РК31 и его блокировки, контакты РУН 7—7А |
|
Цепи управления тягой и торможением |
||
|
Не собираются цепи тягового режима. Лампа "ЛК и Т" не загорается, вспомогательные машины перестали работать |
Перегорел предохранитель Пр54 или неисправен выключатель ВУ |
Заменить предохранитель. Осмотреть выключатель ВУ |
Продолжение таблицы 25
|
Неисправность |
Причина |
Способ устранения |
|
Не собираются цепи режима тяги, вспомогательные машины работают. Лампа "ЛК и Т" не загорается |
Потеря контакта в разеъ-мах цепи питания контроллера машиниста, контакт ППР 22—22Д, КМЗ 22А—22В, КМ7 22Г—22У, КМ9 22В—22Г, в ключе ЭПК, реле РПТ. Неисправна кнопка "Возврат защиты" (подгар контактов, обрыв шунта и т.д.), не включился контактор КВХ |
Выключить и через 25 — 30 с вновь включить выключатель ВУ, восстановить защиту. Бели при этом: а) лампа БВ погасла, передернуть реверсивную рукоятку для восстановления контакта 22А—22В,если контактор КВХ не включился, затормозить поезд и кратковременно включить КВХ вручную. Поставить перемычку ЗОЛ (30К) — 30 в шкафу №2. В пункте оборота проверить контакты ключа ЭПК и реле РПТ; б) лампа БВ не гаснет, проверить контакты ШТТ 22—22Д и кнопку "Возврат зашиты". Восстановить зашиту с рейки зажимов, поставить перемычку с плюсовой шины предохранителей на пульте управления на плюсовую шину главного вала контроллера 15-22Г |
|
Цепи режима тяги не собираются, лампа "ЛК и Т" загорелась и погасла |
Постороннее питание провода 7 |
Положить изоляцию под контакты РУМ 7 — 7А на всех моторных вагонах. Если при этом в нуги следования произойдет снятие напряжения, изоляцию убрать и подложить вновь |
|
Вместо цепей тяги собираются цепи тормозного режима (слышен характерный звук работы преобразователя), лампа "ЛК и Т" загорается и гаснет |
Замыкание между собой проводов 2 и 40 |
Выявить неисправный вагон с помощью разъединителя РУМ и отключить его |
Продолжение таблицы 25
|
Неисправность |
Причина |
Способ устранения |
|
Цепи режима тяги не собираются, лампа "ЛК и Т" не гаснет |
Обрыв провода 2 или 11 в междувагоином соединении, ни один из реостатных контроллеров не возвратился в 1-ю позицию |
Проверить включение реле РКБ (на слух) и контактора КВХ. Затормозить поезд, перевести реверсивную рукоятку назад и кратковременно включить контроллер. Если поезд пришел в движение, поставить перемычку 2 — 11 на моторном вагоне (в пункте оборота перемычку снять) проверить вставку Р1 в БРУ |
|
Поезд медленно увеличивает скорость, "везут" моторные вагоны в головной части поезда. Постоянно горит лампа "ЛК и Т" |
Обрыв провода 2 или 11 |
В хвостовом вагоне поставить перемычку 2 — 12 |
|
Ускорение поезда с максимальной уставкой. Переключатель уставок не действует |
Перегорел предохранитель Пр 400, нарушена целость проводов 33 или 34 |
Заменить предохранитель, проверить провода 33, 34 |
|
Не увеличивается скорость в положениях контроллера 1 — 4 |
Нарушен контакт в контроллере в проводах 1, 3, 5, 6 |
Зачистить контакты или в хвостовом вагоне развернуть реверсивный вал "Назад", главную рукоятку установить в одно из рабочих положений |
|
Не собираются цепи тягового режима на одном из моторных вагонов. Горит лампа "ЛК и Т" |
Сработало реле РРБ и разобрало схему. Нарушены цепи питания вентилей тормозного переключателя, реверсора, реостатного контроллера, контакторов ЛК и ЛКТ. Неисправны вентили данных аппаратов |
Восстановить защиту, поставить контроллер в положение ЗТ, и если тормозная схема не соберется (горит лампа) на стоянке проверить возврат реостатного контроллера, цепь реверсора, ЛКГ. Если тормозная схема собралась (лампа погасла), проверить переход тормозного переключателя в положение тяги и включение контактора ЛК. При невозможности устранить неисправность отключить вагон и в пункте оборота убедиться, что тормозной переключатель находится в положении "Тормоз" или подложить изоляцию под губки реверсора |
Продолжение таблицы 25
|
Неисправность |
Причина |
Способ устранения |
|
На одном из вагонов не собирается схема тяги. Лампа "ЛК и Т" не горит |
Обрыв в пуско-тормоз-ных резисторах, перегорел вывод тягового двигателя в соединительной коробке, не включился ЛКТ, не замкнулись главные контакты БВ |
Устранить неисправность силовой, цепи |
|
Реостатный контроллер на одном из вагонов не возвращается в 1-ю позицию |
Обрыв цепи возврата, неисправны вентили, перегорела вставка Р1 блока реле ускорения БРУ |
Попытаться привести во вращение пневмодвигатель контроллера, кратковременно установив перемычку 15 — 1Ф в шкафу №3. При неисправности блока в БРУ установить контроллер в 1-ю позицию вручную и снять провод 614 на рейке зажимов |
|
В режиме тяги сработал БВ |
Резкое повышение напряжения в контактной сети, пробой изоляции в силовой схеме |
Восстановить защиту. В пункте оборота осмотреть тяговые двигатели. При повторном срабатывании отключить РУМ. В пункте оборота убедиться, что тормозной переключатель находится в положении "Тормоз" |
|
На всем поезде не включается электрическое торможение, после чего происходит срыв эпк |
Не включился контактор КВТ |
Найти и устранить причину невключения контактора КВТ |
|
Не включается электрическое торможение на одном из вагонов |
Тормозной переключатель не развернулся в положение "Тормоз", реостатный контроллер не вернулся в 1-ю позицию, неисправна цепь включен контакторов Т, ЛКТОВДВ. Ш |
Обрыв силовой цепи. Перегорели предохранители ПрЗ, Пр5, Пр28 — ПрЗО |
Продолжение таблицы 25
|
Неисправность |
Причина |
Способ устранения |
|
Не включается электрическое торможение на одном из вагонов |
Тормозной переключатель не развернулся в положение "Тормоз", реостатный контроллер не вернулся в 1-ю позицию, неисправна цепь включен контакторов T, ЛКТ, OB, KB, Ш Обрыв силовой цепи, перегорели предохранители ПрЗ, Пр5, Пр28— ПрЗО Неисправны блоки БРУ или САУТ, сработало тепловое реле TP5 или реле боксования РРБ, что привело к размыканию цепи. Неисправен трансформатор (оборван конец) |
Определить неисправный вагон. Если не собирается цепь в тяговом режиме, заменить предохранитель f1 в БРУ или сам блок. На стоянке проверить цепи питания вентилей тормозного переключателя и указанных контакторов. Проверить ток возбуждения, заменить перегоревшие предохранители. Заменить блок САУТ. Восстановить TP5. Если неисправность не найдена, отключить кнопку В8 Торможение |
|
Сработала зашита при торможении |
Нарушена изоляция двигателя или в силовой цепи. Резкий бросок напряжения в контактной сети Неправильная регулировка реле PC В Неисправны контакторы т, ЛКТ, лк |
Восстановить защиту, и если в режиме тяги защита не срабатывает, отключить кнопку В8 Торможение. Если защита срабатывает и в режиме тяги, отключить РУМ. Убедиться, что тормозной переключатель находится в положении Тормоз |
|
Срабатывает защита при переходе на самовозбуждение |
Перегорели предохранители ПрЗ, Пр5. Неправильная регулировка реле РСВ или неисправен блок САУТ, трансформатор возбуждения |
Заменить предохранители, проверить ток возбуждения и включение реле РСВ. Отключить кнопку В8 Торможение |
|
Срабатывает БВ с маневрового положения |
Нарушена изоляция силовых контакторов ЛК, ЛКТ, T или тяговых двигателей Может быть постоянно замкнута блокировка ПТПМ 2Б — 2В |
Осмотреть контакторы и двигатели (выводные коробки), проверить блокировку ПТПМ 2Б — 2В |
|
Срабатывает БВ с положения 1 |
Неисправен блок БРУ, неисправен реостатный контроллер |
Проверить работу блока БРУ и вращение реостатного контроллера |
Продолжение таблицы 25
|
Неисправность |
Причина |
Способ устранения |
|
Срабатывает БВ со 2 положения |
Возможен обрыв цепи обмоток возбуждения (подложена изоляция под реверсор), короткое замыкание в резисторах Rll — R15, контакторе Ш |
Проверить изоляцию цепи |
|
Срабатывает КЗ в 3-м тормозном положении |
Неисправен блок САУТ, велик ток якорей. Изношены щетки тягового двигателя |
Заменить блок САУТ, проверить якорный ток. Заменить щетки |
|
Срабатывает КЗ при переходе на самовозбуждение с загоранием лампы "РБ" |
Неисправен блок САУТ, возможно раннее включение реле РСВ |
Заменить блок САУТ |
|
Сигнальная лампа "РБ" |
||
|
Лампа "РБ" загорается сразу после включения контроллера и гаснет после его установки в положение "0" |
Перегорели резисторы в цепи катушки РБ Неправильно соединены выводы тягового двигателя |
Отыскать неисправный вагон, поочередно отключая разъединители РУМ на моторных вагонах. Заменить резистор, присоединить выводы тягового двигателя |
|
При переводе контроллера в любое рабочее положение с небольшой выдержкой времени загорается сигнальная лампа "РБ" |
Боксование колесных пар на одном или нескольких моторных вагонах, заклинивание колесной пары, возникновение генераторного режима. Разрушена тяговая передача между колесной парой и тяговым двигателем, т.е. двигатель идет вразнос |
Попробовать перевести рукоятку КМ в вышестоящее положение на 3 — 4 с. Если буксует один вагон, за счет ускорения "здоровых" вагонов бок-совка может прекратиться. Если она не прекращается, сбросить рукоятку КМ в положение 0. При заклинивании колесной пары и при возникновении генераторного режима действия локомотивной бригады определены в местных инструкциях |
Продолжение таблицы 25
|
Неисправность |
Причина |
Способ устранения |
|
Отопление, вентиляция, освещение |
||
|
При включении отопления не работают мотор-вентиляторы. Горит лампа "Вспомогательные цепи" |
Перегорел предохранитель Пр53 на головном вагоне, перегорели предохранители Пр34, Пр35, Пр39 на одном из вагонов |
Заменить предохранители |
|
На одном из вагонов не работает отопление |
Выключена кнопка В22 "Отопление", перегорели термозащитные вставки Т31 — Т38, сработала тепловая зашита Неисправны терморегулятор, контакторы KOI, КОЗ, ртутные термодатчики |
Включить В22, заменить вставки, восстановить тепловые реле. Проверить включение ПРО, ПР1, ПР2, РКВ, целостность высоковольтных предохранителей Пр1, Пр2 (а также на соседнем моторном вагоне), состояние контакторов KOI, КОЗ |
|
Не включается главное освещение |
Перегорели предохранители Пр56, Пр8. Пр9, термозащитные вставки Т310, Т311 |
Заменить предохранитель и вставки |
|
Не включается главное освещение |
Перегорел предохранитель Пр48 на головном вагоне |
Заменить предохранитель |
|
На одном из вагонов нет главного освещения |
Перегорели предохранители ПрЗб — Пр38 или неисправен контактор ОС |
Заменить предохранители, устранить неисправность контактора ОС |
|
Нет дежурного освещения |
Перегорел предохранитель Пр40 |
Заменить предохранитель |
|
|