Работой^ тиристорного импульсного регулятора моторного вагона управляет электронная САР. Под ее контролем тиристорный регулятор обеспечивает поддержаине тока тяговых двигателей на заданном уровне (на уровне «тока уставки») как в режиме тяги, так и в режиме электрического торможения.
В связи с разным темпом изменения регулируемого тока в начале и конце регулирования (вследствие изменения э. д. с. двигателей с изменением скорости движения) используют два способа управления коммутирующими тиристорами регулятора. Процесс смены способа управления называют сменой структуры САР.
Рассмотрим последовательность работы элементов САР при межступенчатом регулировании тока тяговых двигателей в процессе реостатного пуска.
В начале пуска на первой Стадии регулирования (на первой структуре) после открытия главных тиристоров регулятора, пока скорость движения мала, происходит быстрое нарастание тока в обмотке якоря, а после закрытия тиристоров—медленное его спадание (рис. 61). Момент открытия тиристоров регулятора на этой стадии регулирования определяется поступлением управляющего импульса. Управляющие импульсы следуют один за другим с постоянной частотой и синхронно для всех регуляторов электропоезда. Закрывают тиристоры на этой стадии регулирования релейным способом в тот момент, когда ток в обмотке якоря достигнет значения тока уставки с превышением примерно на 5%.
Так как в начале пуска ток тяговых двигателей растет быстро, время открытого состояния тиристорного регулятора за период подачи управляющих импульсов мало и коэффициент у = 0,2. По мере увеличения скорости движения и, следовательно, увеличения э. д. с. тяговых двигателей темп нарастания регулируемого тока при открытом регуляторе снижается. Поэтому момент закрытия регулятора, определяемый током уставки, постепенно отдаляется, т. е. коэффициент у повышается.
В ко її це первой стадии регулирования темп нарастания регулируемого тока становится равным темпу спадания (у = 0,5).
Далее регулируемый ток будет нарастать медленнее, чем спадать. Поэтому при у « 0,6%осуществляют переход на вторую структуру. Теперь тиристоры регулятора открывают релейным способом, когда ток в обмотке якоря снизится до значения тока уставки и станет меньше ее примерно на 5%, а закрывлют с постоянной частотой (подают импульсы синхронизации) в конце каждого периода. Благодаря автоматическому изменению структуры устранен основной недостаток релейно-импульсной системы—зависимость максимально возможной частоты регулирования от электромагнитных параметров цепи якоря тягового двигателя (для двигателя 1ДТ-001 указанная частота составляет примерно 200 Гц). Поэтому регулирование ведется с весьма высокой частотой 400 Гц по алго-

ритму, обеспечивающему достижение регулируемым током уровня тока уставки по более ^крутым участкам его нарастания и' спада (см. рис. 61). Использованная на электропоезде ЭР200 двухстадий-ная САР сохраняет важное преимущество широтно-импульсного регулирования — постоянство частоты пульсаций регулируемого тока, но она имеет такой недостаток, как повышение среднего значения регулируемого тока при смене структуры. Однако практически при смене структуры средний ток увеличивается всего на 3—4Л), что весьма незначительно нарушает плавность процесса регулирования.
По мере увеличения скорости движения коэффициент у продолжает расти на второй структуре, достигая значения, равного 0,8, после чего автоматически уменьшают сопротивление пускового реостата (закорачиванием ступени) и процесс двухстадийного регулирования возобновляется на следующей позиции, реостата с изменением коэффициента у вновь от 0,2 до 0,8.
В процессе регулирования возбуждения тяговых двигателей при разгоне или при поддержании заданного уровня скорости движения дополнительно вступают в работу вспомогательные тиристоры регулятора. Последовательность поступления импульсов на включение главных, коммутирующих и вспомогательных тиристоров изменяется на обратную по сравнению с режимом реостатного пуска.
Изменение алгоритма регулирования вызвано тем, что при переходе на регулирование возбуждения изменяется на обратную последовательность достижения регулируемым током уровня уставки по более крутым участкам кривых его нарастания и спада: в начале регулирования возбуждения ток в обмотке якоря медленнее нарастает и быстрее спадает, а в конце—быстрее нарастает и медленнее спадает.
При электрическом торможении в обеих его фазах (при регулировании возбуждения двигателей и сопротивления тормозного реостата) последовательность поступления импульсов на включение главных и коммутирующих тиристоров аналогична описанной выше
Т а б л і л 8
Элементы САР

последовательности для режима межступенчатого регулирования сопротивления пускового реостата.
В САР (рис. 62 см. на вкладке) использованы двоичные логические элементы Э типа «Логика Т» (табл. 8). *
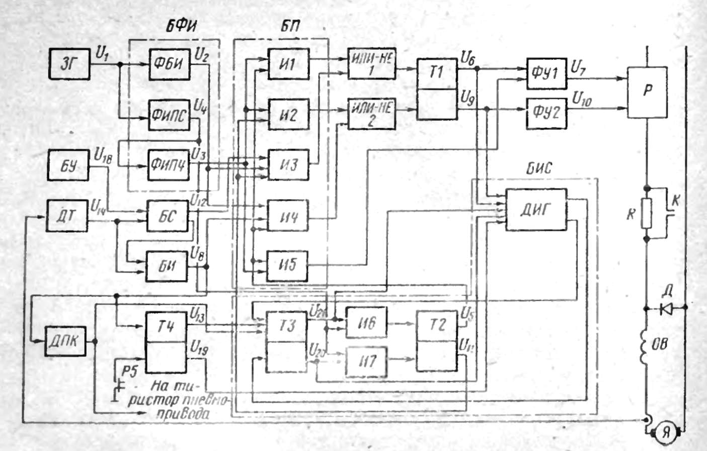
Функциональные связи элементов системы иллюстрирует структурная схема рис. 63. Блок питания САР (на рис. 63 не показан) выполнен по схеме транзисторного ключа, на выходе которого поддерживается постоянное напряжение. Этим напряжением питается мультивибратор (транзисторы и трансформатор). С его выхода снимаются напряжения +6, —12, —24 и —40 В, которые после выпрямления и фильтрации поступают в схемы управления. Вы-

Рис. 03. Структурная схема САР

Рис. С4. Элементы СЛР, работающие па первой структуре
ходное напряжение — 12 В регулируют потенциометром обратной связи. По выходному напряжению —12 В соответствующим подбором резисторов регулируют остальные перечисленные выше выходные напряжения.
Элементы блоков САР питаются в основном напряжением —12 В, усилители—напряжением —24 В, элементы блока уставок—напряжением —40 В. Напряжение источника смещения 4 6 В.
Для удобства рассмотрения работы САР отдельно на рис. 64 и 65 показаны участки схемы, используемые только на первой и на второй структуре. Блоки, которые состоят из нескольких элементов, обведены на схеме рис. 63 штриховой линией. Буквами «с7» с индексами обозначены импульсы напряжений, поступающие от соответствующих блоков, генераторов и датчиков. Диаграмма рис. 66 иллюстрирует форму и частоту этих импульсов напряжений.
Принцип действия САР реализуется следующим образом. Установленный на головном вагоне задающий генератор ЗГ (синхронизатор) генерирует однополярные импульсы напряжения их

Рис. 05. Элеменпл СЛР,работающие на второй структуре
прямоугольной формы с постоянной частотой 400 Гц п амплитудой 24 В. Эти ішпульсы поступают по поездным проводам на вход блока формирователей импульсов БФИ моторных вагонов (см. рис. 6о).
В схеме синхронизатора использованы логические элементы серии Т. Синхронизатор представляет собой ЬС— генератор, питается он от бортовой сети напряжением 220 В, частотой 400 Гц. Катушка индуктивности синхронизатора" выполнена с тороидальным сердечником из ферромагнитного материала (альсифера), который обладает жестко нормированным температурным коэффициентом магнитной проницаемости.
От генератора прямоугольные импульсы с частотой 800 Гц поступают на вход триггера синхронизатора, который" включен по схеме делителя частоты. С выхода триггера сигналы с частотой 400 Гц поступают на усилители. Затем по поездным проводам 48, 54 и 59 «прямоугольные импульсы частотой 400 Гц и амплитудой 24 В передаются от синхронизатора на блок управления БУ САР моторного вагона. Здесь эти импульсы преобразуются входным трансформатором и сглаживающим элементом в импульсы частотой 400 Гц и амплитудой 12 В.
Помимо задающего генератора головного вагона (блока синхронизации), имеется собственный задающий генератор каждого моторного вагона, который используется для наладки блоков САР, а также в случае выхода из строя синхронизатора. Для переключения САР от синхронизатора на собственный задающий генератор предназначен переключатель. Собственный задающий генератор выполнен на базе транзисторной задержки на элементе Т302. Импульсы с/ь посылаемые ЗГ, принимает в формирователе импульсов ФИ входной трансформатор с согласующим элементом и преобразует их в прямоугольные импульсы частотой 400 Гц и амплитудой 12 В.
В состав блока формирователей импульсов БФИ входят: формирователь блокировочных импульсов ФБИ, формирователь импульсов постоянной частоты ФИПЧ и формирователь импульсов перемены структуры ФИ ПС. ФБИ формирует импульсы напряжения с/2, ФИПЧ — импульсы напряжения с/3, а ФИ ПС — импульсы напряжения и4.
Блок изменения структуры БИС вырабатывает команды на изменение структуры в зависимости от относительной продолжительности включения тиристорного регулятора (от коэффициента) у. БИС состоит из датчика изменения у ЛИГ, исполнительного триггера Т2, командного триггера ТЗ и двух ячеек И6 и И7. На первой структуре блок изменения структуры БИС подает напряжение Иь на входы И1 — 115 блока переключений БП.
Рассмотрим работу САР на первой структуре (см. рис. 64). Импульсы постоянной частоты Ц3 проходят от формирователя импульсов постоянной частоты ФИПЧ через схему И1 и поступают на вход основного триггера 77. Триггер ТІ меняет свое состояние. С первого плеча триггера ТІ снимается напряжение с/с, по перед-
нему фронту которого формирователь-усилитель ФУ1 <|юрмирует импульс напряжения с/7. Этот импульс поступает на коммутирующий тиристор регулятора Р. Регулируемый ток / увеличивается и при достижении им значения тока уставки /у блок инверсии БП начинает генерировать импульсы 1/й. Следует отметить, что ток уставки /у задается блоком уставок БУ в зависимости от команды, поступающей из цепей внутренней автоматики электропоезда. БУ обеспечивает две различные уставки регулируемого тока тяговых двигателей в тяговом режиме и три уставки в тормозном режиме по командам, поступившим по цепям управления. Предусмотрена возможность снижения уставки на заданное значение при возникновении боксоваиия или юза по командам устройства обнаружения боксоваиия и юза. Для изменения уставки меняют амплитуду напряжения, которым через резистор блока уставок заряжается конденсатор, формирующий пилообразные напряжения.
Три значения амплитуды напряжения заряда конденсатора, соответствующие нормальной, пониженной и минимальной уставкам, определяются соответствующими положениями движков трех потенциометров блока уставок. Плавное изменение уставки регулируемого тока достигается зарядом двух конденсаторов, подсоединенных к движкам указанных потенциометров. Быстрое уменьшение уставки при возникновении боксоваиия или юза достигается замыканием соответствующего контакта Р6 и разрядом конденсаторов на стабилитрон.
Фактическое значение регулируемого тока тяговых двигателей измеряется частотным датчиком тока ДТ. Датчик выполнен на базе мультивибратора Роэра, основными преимуществами которого являются быстродействие и высокая чувствительность.
При увеличении тока тяговых двигателей пропорционально растет частота выходного напряжения ДТ, имеющего прямоугольную форму. При увеличении тока моторного вагона от 0 до 500 А частота выходного напряжения ДТ ии изменяется приблизительно от 3 до 10 кГц.
Импульсы напряжения Ци поступают с выхода ДТ на входы блоков сравнения БС и инверсии БИ. Если регулируемый ток ниже уровня тока уставки, то работает только блок сравнения и напряжение на выходе блока инверсии с/8 = 0. Когда регулируемый ток становится больше тока уставки, включается в работу блок инверсии БИ и напряжение на его выходе становится с/8 = 1 (за единицу принят отрицательный потенциал коллектора закрытого транзистора ячейки элемента). Время запаздывания между срабатыванием блоков сравнения и инверсии сокращено до минимума. Это время не более полупериода частоты напряжения датчика тока якоря. Импульсы напряжения с/8 проходят через схему И4 и поступают на второе плечо триггера 77, при этом триггер снова меняет свое состояние. Со второго плеча триггера 77 снимается напряжение і/9, по переднему фронту которого формирователь-усилитель ФУ2 формирует импульс напряжения і/і0. Этот импульс
поступает па коммутирующие тиристоры регулятора Я и в результате происходит запирание главных тиристоров. Регулируемый ток силовой цепи благодаря этому начинает уменьшаться. Процесс снижения тока тяговых двигателей продолжается некоторое время и заканчивается в тот момент, когда вновь на первое плечо триггера 77 поступит импульс постоянной частоты с/3 и триггер изменит свое состояние.
Далее описанный цикл работы САР на первой структуре повторяется многократно до тех пор, пока у, увеличиваясь по мере роста скорости движения электропоезда, не станет больше 0,5.
Следует отметить, что если в начале работы исходное состояние триггера 77 такое, что с/в = 0, а Ц9 = 1, то импульсы постоянной частоты с/3, приходящие па верхнее плечо триггера 77, не меняют его состояние. Однако для открывания тиристоров регулятора имеется другая цепь, по которой импульсы и3 поступают через схему 115 непосредственно па формирователь-усилитель ФУ1 н последний формирует импульсы сУ7, поступающие на регулятор Р. После появления с блока инверсии импульсов напряжения Ц8 триггер 77 начинает работать так, как было описано выше, с той только разницей, что на вход формирователя-усилителя" ФУ1 будут поступать одновременно импульсы напряжения ие и и3 с совпадающими по времени передними фронтами.
При у = 0,6 напряжение 1)ъ от блока изменения структуры БИС становится равным нулю. Это приводит к тому, что схемы 111, 114, 115 перестают пропускать импульсы напряжения, которые поступают на их входы. На выходах этих схем устанавливается нулевой потенциал, что соответствует изменению структуры.
В момент появления на одном из выходов блока изменения структуры напряжения иь = 0 на втором выходе этого блока напряжение с/ц становится равным единице, поскольку указанные выходы БИС являются плечами одного исполнительного триггера Т2 (см. рис. 63), которые не могут иметь одинаковый потенциал. Благодаря этому вводятся в работу (становятся «открытыми» для прохождения импульсов напряжения) схемы 112 и ИЗ, т. е. наступает вторая стадия регулирования (вторая структура САР).
На второй структуре (см. рис. 65) импульсы постоянной частоты У3 проходят через схему 112 и поступают на второе плечо триггера 77. Триггер 77 меняет свое состояние и по переднему фронту напряжения С10 формирователь-усилитель ФУ2 формирует импульсы напряжения с/10. Эти импульсы поступают на коммутирующие тиристоры регулятора Р. Главные тиристоры регулятора закрываются и регулируемый ток уменьшается. Когда ток тяговых двигателей достигнет уровня тока уставки, блок сравнения БС начнет посылать импульсы напряжения с/12 через схему 113 на верхнее плечо триггера 77. Последит"! меняет свое состояние н формирователь-усилитель ФУ1 по переднему фронту напряжения с/б формирует импульс напряжения Ц7, который поступает на комму*
тирующие тиристоры регулятори Р. Главные тиристоры регулятора открываются. Регулируемый ток / перестает снижаться и снова возрастает до тех нор, пока на второе плечо триггера 77 не поступит импульс напряжения постоянной частоты с/3.
На второй структуре цикл работы САР повторяется многократно по мере увеличения у до значення, равного 0,8.
Контроль состояния САР (работает ли она на первой или второй структуре) осуществляют при наладке оборудования посредством светодиодов, которые подключены к выходам исполнительного триггера Т2.
Следует отметить, что импульсы напряжения, поступающие па тиристорный регулятор (открывающие и закрывающие главные тиристоры), связаны по времени действия с.импульсами синхронизации 0\ посредством блокировочных импульсов напряжения и2 при наличии бесконтактного переключающего устройства, состоящего из схем ИЗ и //■/. Указанная связь обеспечивается тем, что формирователь блокировочных импульсов ФБИ формирует импульсы напряжения и2 по заднему фронту напряжения За время действия блокировочных импульсов напряжения і/г (время /б на рис. 66) исключается возможность прохождения через схемы И4 (первая структура) и ИЗ (вторая структура) каких-либо иных импульсов. Благодаря такой блокировке импульсы, поступающие на тиристорный регулятор Р, не могут располагаться относительно друг друга ближе, чем на 0,5 /б. Этим достигается надежная работа тиристорного ключа.
Длительность импульсов напряжения V\ устанавливают потенциометром равной 1000 мке, что соответствует максимальному времени заряда (перезаряда) коммутирующего конденсатора тиристорного регулятора.
Чтобы исключить срывы коммутации тиристорною регулятора в моменты переключения структуры, предусмотрен формирователь импульсов перемены структуры ФИ ПС, который формирует импульсы напряжения и4 по заднему фронту напряжения ЬА: Импульсы напряжения с/4. действуя* на блок изменения структуры, обеспечивают возможность переключения структуры только во время действия блокировочного импульса и2.
По заднему фронту импульсов напряжения 1)% формирователь импульсов постоянной частоты ФИПЧ формирует импульсы напряжения с/3, поэтому они расположены в центре блокировочных импульсов напряжения І!2- Длительность импульсов напряжения с73 и с/4 равна приблизительно 60 мкс.
САР содержит также датчик перехода контроллера ДИК (см. рис. 63), который дает команды на переключение режимов работы (переключение с режима межступеичатого регулирования сопротивления пуско-тормозного реостата на режим регулирования возбуждения тяговых двигателей) посредством воздействия па тиристор привода контроллера и одновременно дает команды на блок изменения структуры БИС, переводя его в начале каждого
режима в исходное состояние, соответствующее раооте на ш ,ии структуре, т. е. при у < 0,5.
Контакт реле Рб замкнут при положении Сбрис и триггер сброса Т4 при этом зафиксирован в одном устойчивом состоянии. Па-пряжение с/13 поступает с плеча триггера сброса Т4 па командный триггер ТЗ блока изменения структуры БИС и фиксирует этот триггер в положении, соответствующем работе блока на первой структуре. При включении режима тяги или режима торможения контакт Р5 размыкается. Это позволяет изменить состояние триггера, если на его вход с блока инверсии поступят импульсы напряжения и6. Далее САР работает по алгоритму первой стр ктуры и импульсы напряжения сУ9 поступят, как было описано выше, на

Рнс. СС. Диаграмма импульсов напряжении на виходе элементов САР
вход САР только после Достижения регулируемым током уровня уставки.
Для выполнения команд, поступающих в -САР из цепей внутренней аптомптпкн электропоезда, предусмотрен отдельный блок из шести реле Р2 — Р7 (см. рнс. 02). Реле Р2 и Р6 используются совместно для кратковременного понижения уставки регулируемого тока тяговых двигателей, чтобы в момент перехода из режима регулирования сопротивления в режим регулирования возбуждение мгновенно возрастающий ток не достигал бы чрезмерно большого значения.
ч Эти реле выполняют понижайте уставки перёд отключением тока силовой цепи моторного вагона (перед Сбросом). Для этой цели реле Р6 получает питание через контакт реле /V, который замыкается при снятии питания с провода 1С.
При подаче команды Спрос питание с провода 1С снимается и реле Р7 отключается. Его блокировочный контакт, включая реле Р2, осуществляет снижение уставки, а другой контакт снимает импульсы открывания с тиристоров, обеспечивая закрывание регулятора при сбросе.
Реле Р6У кроме указанных выше функций, выполняет понижение уставки регулируемого тока при срабатывании устройства обнаружения боксовання и юза, получая в этом случае сигнал на включение по проводу 97К.
В момент перехода с режима межступенчатого регулирования сопротивления пускового реостата на режим регулирования возбуждения, а также при обратном переходе посредством реле РЗ выполняется переключение импульсов,управления с одной группы тиристоров на другую. Для переключения тиристорного регулятора из режима межступенчатого регулирования сопротивления пускового реостата в режим регулирования возбуждения используют реле Р4, которое получает питание по проводу 30ДА. При повороте реостатного контроллера с позиций полного возбуждения "и последовательного соединения на позиции ослабленного возбуждения питание с этого провода снимается, что приводит к отключению реле Р4. Блокировочный контакт Р4 снимает импульс гашения и переход из одного режима в другой происходит при открытом регуляторе. Такие же переключения посредством реле Р4 выполняются при переходе реостатного контроллера с позиций полного возбуждения на ослабленное возбуждение при параллельном соединении.
Для возврата САР на первую структуру при поступлении команды Сброс (отключение силовой цепи) используют, как было сказано выше, реле Р5У которое получает питание по проводу 11 Д. При подаче команды Сброс напряжение с этого провода снимается, что приводит к отключению реле Р5. Блокировочный контакт Р5 замыкается, возвращая триггер сброса Т4 (см. рис. 63) в исходное состояние.
|
|