В тяговых двигателях 1ДТ-003.3 изоляция главных и дополнительных полюсов усилена (применена изоляция «Монолит-2» класса Г). Сердечник дополнительных полюсов шихтуют параллельно оси якоря. Это снижает вихревые токи в сердечнике и позволяет лучше компенсировать реактивную э.д.с. в обмотке якоря.
Якорь двигателя состоит из коллектора 2 (рис. 56), сердечника /.обмотко-держателей 9 и //, установленных на напрессованную на вал 12 втулку 3, и обмотки 10. Гайка 4 служит для крепления втулки.
Коллектор 2 набран из пластин 7. Пластины изолированы коллекторным миканитом и зажаты болтами 5 между втулкой 6 и нажимным конусом. Манжеты 8 служат для изоляции медных пластин от нажимных конусов и втулок.
Вал якоря изготовляют из легированной Стали с расчетом максимальных нагрузок от ударов и воздействий от скручивающего момента. Поверхность вала обрабатывают с точностью высокого класса и шлифуют. Переходы вала от одного диаметра к другому должны быть плавными, без резких кромок и уступов.
Тщательная обработка вала необходима для снижения концентрации напряжений. Высокие требования к частям вала предъявляют и потому, что неисправность его непосредственно угрожает безопасности движения поездов.
Втулка якоря представляет собой трубу с буртиком, двумя шпоночными пазами и резьбой со стороны коллектора.
Втулка якоря позволяет заменять вал без разборки якоря, так как на ней сконцентрированы все основные детали якоря. При замене вала двигателя все насаженные на втулку детали не снимают. Поверхность втулки обрабатывают после запрессовки ее на вал, так как в процессе запрессовки ее поверх-

Рис. 56. Якорь тягового двигателя УРТ-ПОБ
ность деформируется. Внутри* втулки поверхность обрабатывают с тремя посадочными диаметрами, отличающимися на 1—2 мм, это облегчает выпрессов-ку вала.
Сердечник якоря представляет собой часть магнитной системы тягового двигателя, вращающуюся относительно остальных элементов магнитной цепи. Перемагничивание сердечника при вращении в магнитном поле вызывает в нем потери на гистерезис. Кроме того, от наводимых в нем э. д. с. появляются вихревые токи, которые приводят к потерям энергии, т. е. к уменьшению к. п. д. тягового двигателя. Для уменьшения этих потерь сердечник якоря набирают из отдельных штампованных листов электротехнической стали толщиной 0,5 мм. Листы с обеих сторон покрывают лаком и через каждые 50 мм длины пакета прокладывают лист электрокартона. На наружной поверхности листы имеют штампованные пазы для размещения обмотки. Для охлаждения якоря внутри листов сердечника делают вентиляционные каналы диаметром 20—30 мм.
Листы сердечника спрессованы между обмоткодержателями. Сердечник не должен иметь ослабших листов и распушения отдельных крайних листов стали. Для лучшего сжатия листов сердечника крайние листы делают толщиной 1 мм с постепенно уменьшающимся диаметром и более широким пазом. Уширение пазов крайних листов необходимо для укладки дополнительной изоляции из электронита, которая предохраняет от повреждения изоляцию якорных катушек на выходе из паза якоря. Обмоткодержатель (со стороны вентилятора) упирается в буртик втулки якоря, а со стороны коллектора обмоткодержатель и коллектор запирают специальной гайкой.
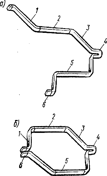
Обмотка якоря тягового двигателя УРТ-ПОБ волновая (рис. 57, а). Она состоит из семи одинаковых секций. Волновая обмотка проста в изготовлении. В пазах сердечника якоря укладывают якорные катушки, выполненные из шинной меди прямоугольного сечения.
Обмотка якоря двигателя 1ДТ-003.3 выполнена петлевой (рис. 57, б). При такой обмотке и увеличении числа коллекторных пластин межламельное напряжение уменьшается примерно на 45%, а реактивная э. д.с.—на 18%, соответственно повышается коммутационная надежность двигателя.
Для выравнивания токов параллельных ветвей петлевой обмотки, вызываемых разницей сопротивлений щеток или э. д. с, применяют уравнительные соединения, которые располагают со стороны коллектора перед передней лобовой частью обмотки; их концы впаивают в те же шлицы петушков, в которые введены и концы проводников обмотки якоря. На концы уравнительных соединений надевают чулки из стекловолокна, а сами уравнительные соединения крепят стеклобандажной лентой.
Междувитковую изоляцию обмоток выполняют из стеклоткани толщиной 0,09 мм в пазовой части и 0,15 мм в лобовой части, корпусную изоляцию — из стеклослюди-нитовой ленты толщиной 0,11 мм, намотанной в шесть слоев вполуперекрышу, поверх которой наматывают один слой

Рис. 57. Одиовитковые катушки обмотки якоря двигателей УРТ-ИОБ (с) и 1ДТ-003.3 (б):
/ — передняя лобовая часть: 2 — верхняя пазовая сторона; 3 — задняя лобовая часть; 4 — неразрезная задняя головка; 5 — нижняя пазовая сторона; 6" — концы секции, прикасаемые к пластинам коллектора
стеклоленты. Концы секций со стороны коллектора укладывают на обмоткодержатель, а проводники вставляют в шлицы коллекторных пластин, после чего припаивают. К каждой коллекторной пластине припаивают два проводника. На лобовых частях обмотку крепят стеклобандажами, в пазах —, клиньями из текстолита или текстостеклолита. Для повышения прочности якорь пропитывают в лаке ФЛ-98 вакуумно-нагревательным способом.
Коллектор, как известно из курса «Электрические машины», служит для изменения направления тока в проводниках якоря при переходе их под главный полюс другой полярности. Коллектор относится к тем основным узлам тягового двигателя, от которого зависит стабильность его работы. В тяговых двигателях применяют коллектор арочного типа. Основными деталями такого коллектора являются коллекторные пластины, которые осуществляют скользящий контакт между вращающимися вместе с якорем секциями обмотки и неподвижными щетками; изоляционные пластины, которыми коллекторные пластины изолируют друг от друга; пластмассовый корпус, укрепленный ар-мировочными кольцами, на котором производится сборка коллектора; многорядный бандаж; стальной каркас; стальная коробка.
Коллекторные пластины изготовляют из холоднотянутой электротехнической меди. Они должны иметь одинаковую твердость, чтобы не было неравномерного износа рабочей поверхности коллектора.
Для изоляции между коллекторными пластинами используют коллекторный, миканит. Износостойкость его выше, чем меди. Если бы коллекторные изоляционные пластины имели одинаковый уровень рабочей поверхности, то при работе двигателя на поверхности коллектора образовывались бы выступы изоляции, препятствующие нормальному контакту щеток с пластинами. Поэтому изоляцию между пластинами фрезеруют на глубину 0,8—1,5 мм, т. е. делают продорожку коллектора.
Наиболее распространенные повреждения коллекторов связаны с дугооб-разованием и круговыми огнями. Поэтому локомотивные бригады должны выполнять все рекомендации по правильной эксплуатации тяговых двигателей, особенно в зимнее время года. Интенсивное выделение тепла, наличие неизолированных частей, находящихся под высоким напряжением (коллекторные пластины, щетки, щеткодержатели), и возможное искрение под щетками создают условия, способствующие ионизации воздуха, окружающего коллектор. Учитывая это, все изоляционные детали коллектора выбирают с учетом повышенной ионизации воздуха в коллекторном пространстве.
|
|