Электродвигатели компрессоров. Для вращения вала компрессора, обеспечивающего сжатым воздухом пневматическую сеть электропоезда, применяют электродвигатель компрессора. На электропоезде ЭР2 установлен электродвигатель ДК-409В, а на электропоезде ЭР2Р 548А.
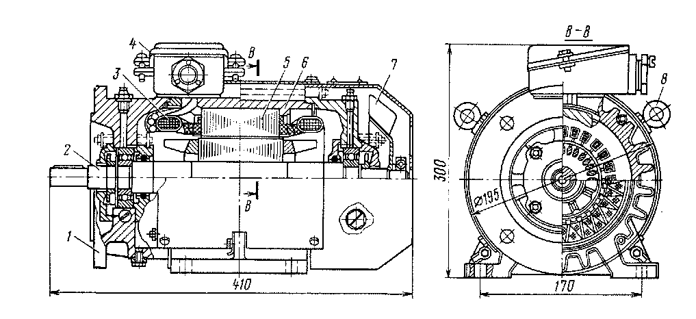
Электродвигатель ДК-409В постоянного тока, последовательного возбуждения, с четырьмя главными полюсами, дополнительных полюсов нет, Корпус электродвигателя литой, круглый; внутри него на шпильках укреплены Главные полюсы. Сердечники главных полюсов набраны из отдельных изолированных стальных листов, скрепленных под прессом заклепками. Катушки изготовлены из изолированного круглого провода НДБ. Корпусная изоляция выполнена из одного слоя тафтяной, шести слоев лакотканевой и одного слоя киперной ленты. Катушки в процессе изготовления компаундируют и покрывают лаком. На сердечниках полюсов они удерживаются пружинными фланцами,
К корпусу электродвигателя со стороны коллектора шестью болтами крепят подшипниковый щит сложной формы счетырьмя ребрами жесткости. Закрывают его снаружи кожухом, который крепят специальным замком. Кожух имеет войлочное уплотнение. В подшипниковый щит устанавливают шариковый подшипник № 408. Снаружи подшипник закрыт глухой крышкой, а со стороны коллектора — крышкой с лабиринтным уплотнением. Со стороны компрессора в корпусе электродвигателя имеется отверстие,в котором находится роликовый подшипник № 32310. Со стороны якоря подшипник закрыт крышкой с лабиринтным уплотнением, а также войлочным кольцом; со стороны компрессора — крышкой треугольной формы, которая обхватывает вал якоря электродвигателя. В крышке имеется резиновое уплотнение. Конец вала якоря конусной формы. На нем шпонкой укреплена цилиндрическая косо-зубая шестерня, служащая для привода компрессора.
К кольцевому выступу подшипникового щита двумя болтами крепят поворотную траверсу, при помощи которой можно регулировать положение щеткодержателей с целью улучшения коммутации.
Электродвигатель имеет два щеткодержателя, расположенных под углом 90° (на электродвигателях прежних выпусков было четыре щеткодержателя). Корпус щеткодержателя изготовлен из бронзы и имеет обойму для установки щеток, а также прижимной палец с пружиной. В каждую обойму вставляют по одной щетке ЭГ-2А размерами 10x25x40 мм. Кронштейн щеткодержателя выполнен из пластмассы и имеет с одной стороны гребенку для болтового соединения с корпусом щеткодержателя. Другой стороной кронштейн крепят к приливу поворотной траверсы.
Сердечник якоря набирают из отдельных листов электротехнической стали и зажимают между передней и задней нажимными шайбами, которые одновременно служат опорой для лобовых частей обмотки якоря. Сердечник якоря, а также нажимные шайбы удерживают на валу якоря шпонкой. Обмотка якоря волновая, уложена в 39 пазах. В каждом пазу расположены стороны семи шес-тивитковых секций, изготовленных из такого же провода, что и обмотки главных полюсов, и имеющих такую же изоляцию. При укладке в пазы секции, изолированные лакотканью и тафтяной лентой, дополнительно изолируют электрокартоном. Обмотку якоря в пазах крепят текстолитовыми клиньями, а на лобовых частях — бандажной проволокой.
Схема соединения обмоток электродвигателя компрессора поясняется рис. 71.
Коллектор состоит из 273 пластин, зажат между двумя втулками (конусной и нажимной) и стянут гайкой. Коллекторные пластины изолированы друг от друга миканитовыми прокладками, а от втулок — миканитовым цилинд-
ром и манжетами. На валу коллектор удерживается шпонкой. Вентилятора электродвигатель не имеет, так как при повторно-кратковременном режиме его работы достаточно естественного охлаждения.
Технические данные »лектродвигателя компрессора
Номинальное напряжение, В...... 1500
Номинальный ток, А.......... 4,66
Мощность двигателя, кВт....... 5
Частота вращения, об/мин....... 1020
Число главных полюсов . ..... 4
> витков обмотки главного полюса .... 642 (0 1,74 мм) » пазов........... 39
> проводников в пазу....... (16X7)2
» витков в секции......... 6 *
> сторон секций в пазу....... 7X2
Шаг по пазам........... 1_Ю
» » коллектору......... 1—137
Число коллекторных пластин....... 273
» щеткодержателей........ 2
> щеток в щеткодержателе ,..... 1
Сопротивление обмоток двигателя при 20 °С, Ом . 19,76
Электродвигатель 548А асинхронный, трехфазный, переменного тока, с короткозамкнутым ротором. Ротор со специальным валом и сердечник статора встроены в корпус от электродвигателя постоянного тока ДК-409В. Это сделано потому, что как на электропоездах ЭР2, так и на электропоездах ЭР2Р эксплуатируется компрессор ЭК-7Б, который легко монтируется с корпусом электродвигателя ДК-409В.
Статор электродвигателя 548А выполнен из листов электротехнической стали, изолированных лаком. В пазах статора уложены три обмотки, сдвинутые друг относительно друга на 120°. Проводники трехфазной однослойной обмотки состоят из секций, изготовленных из круглого обмоточного провода ПСДКТ. Обмотка статора соединена в звезду, и шесть концов ее выведены в зажимную коробку.
Ротор также выполнен из отдельных листов электротехнической стали и имеет обмотку в виде беличьей клетки.
Принцип действия электродвигателя: если по обмотке статора пропускать трехфазный переменный ток, который создает вращающееся магнитное поле, то в стержнях ротора будет индуктироваться э. д. с, под влиянием которой по стержням ротора потечет ток. В результате взаимодействия тока стержней ротора с вращающимся магнитным полем статора возникают силы, образующие вращающий момент.
Электродвигатель полностью закрыт и защищен от попадания влаги во внутреннюю полость. Вал ротора вращается в двух роликовых подшипниках, один из которых установлен в подшипниковый щит, а другой (со стороны компрессора) — в корпус электродвигателя. Подшипники закрыты крышками, внутренние из которых имеют лабиринтное уплотнение. Со стороны компрессора в корпусе электродвигателя установлен роликовый подшипник № 32310, а с противоположной стороны — шариковый № 408. Режим работы повторно-кратковременный. Охлаждение воздушное, естественное.

Электродвигатели вентиляторов. Для принудительной подачи воздуха в пассажирское помещение (летом — для вентиляции, зимой — для обогрева) применяют электродвигатель вентилятора.
Электродвигатель постоянного тока П-41, применяемый на электропоездах ЭР2, имеет четыре главных полюса 7 (рис. 72) с катушками параллельного возбуждения и четыре дополнительных 9 с катушками последовательного возбуждения.
Якорь вращается в двух шариковых подшипниках 14, один из которых со стороны, противоположной коллектору, допускает осевое перемещение до

Рис. 72. Электродвигатель П-41:
1 ~ панель для крепления; 2 — винт заземления; 3, 13 — подшипниковые щиты; 4 -■ траверса; 5 — коллекторная пластина; 6' — якорь; 7- главный полюс; 8 — кольцо; 9 — дополнительный полюс: 10 — остов; // — обмотка якоря; 12 — вентилятор; 14 ■ шариковый подшипник; 15 — выводная коробка: 1в — панель зажимов

Рис. 73. Электродвигатель АОМ-32-4:
/ — подшипниковый щит; 2 — вал ротора; 3 — обмотка статора; 4 — выводная коробка; 5 — сердечник статора; 6 — корпус статора; 7 — наружный вентилятор; 8 — рым-болт
1 мм. На вал якоря 6 насажен наборный сердечник, в котором уложена петлевая обмотка; на валу он удерживается шпонкой.
Коллектор имеет пластмассовый корпус. Два щеткодержателя крепят к траверсе, закрепленной в строго определенном положении. Из-за неправильного положения траверсы может возникать искрение, и коллектор может быть выведен из строя. Нажатие щеток ЭГ-4 на коллекторные пластины 5 регулируют в пределах 1,5 —2 Н. Зазор между нижней кромкой обоймы щеткодержателя и поверхностью коллекторных пластин составляет 1,5—2,5 мм.
На конические свободные концы вала насажены крыльчатки вентилятора. Направление вращения двигателя левое, если смотреть со стороны коллектора. Холодный воздух с чердачного помещения засасывается вентилятором и прогоняется через калорифер. Режим работы двигателя продолжительный, с самовентиляцией. Частоту вращения меняют регулировочным резистором, установленным в цепи обмотки параллельного возбуждения.
Трехфазный асинхронный электродвигатель АОМ-32-4 с короткозамкну-тым ротором, применяемый на электропоездах ЭР2Р, по конструкции аналогичен электродвигателю 548А.
Электродвигатель АОМ-32-4 (рис. 73) полностью закрыт и защищен от попадания воды во внутреннюю полость. В выводной коробке 4 предусмотрено сальниковое водонепроницаемое уплотнение.
* В электродвигателе применена аксиальная (осевая) система вентиляции, для чего на вал ротора 2 насажен вентилятор внешнего обдува со стороны, противоположной свободному концу вала.
Корпус статора 6 и подшипниковые щиты / выполнены из алюминиевого сплава АЛ-9. Посадка подшипников на вал плотная. Со стороны вентилятора установлен шариковый подшипник П306Ш1 (внутренняя обойма его закреплена на валу пружинным кольцом, а наружная — подшипниковой крышкой). Подшипник со стороны свободного конца вала двигателя может перемещаться в ступице щита и тем самым компенсировать линейное расширение вала при нагревании.
В подшипниковых щитах имеются отверстия для спуска конденсата. На свободный конец вала насажен вентилятор 7 ЦВМ. Подача его составляет 10 ООО м3/ч летом и 5000 м3/ч зимой (с рециркуляцией).
Технические данные асинхронных электродвигателей
Тип электродвигателя....... 548А АОМ-32-4 АОМ-22-2
Номинальная мощность, кВт ... 5 15 10
Напряжение, В .......... 220 220 220
Номинальный ток, А ....... 28 7 62 4 4
Частота сети, Гц......... 50 50 50
Частота вращения, об/мин ..... 975 1390 2820
К- п. д, %........... 80 70 78
С0«Ф.............. 0,87 0,74 0,88
Буквы и цифры обозначают: А—асинхронный, О—обдуваемый, М —морской; первая цифра после букв указывает номер диаметра статора, вторая — номер длины статора, третья — число полюсов.
Вспомогательные электродвигатели. На моторных вагонах электропоезда ЭР2 для^ подъема токоприемника установлен вспомогательный компрессор КБ-1В. Это поршневой прямоточный одноступенчатый компрессор, который приводится в действие электродвигателем постоянного тока П-11. Такой же двигатель служит для привода вентилятора кабины машиниста. Электродвигатель П-11 по устройству аналогичен электродвигателю вентилятора П-41. Свободный конец вала якоря электродвигателя служит для насадки шкива (муфты), который связан с валом компрессора. Несоосность осей компрессора и двигателя должна быть не более 1 мм. Электродвигатель защищенного исполнения, возбуждение смешанное. Режим работы продолжительный.
На моторных вагонах электропоезда ЭР2Р установлен вспомогательный компрессор А70.000. Он приводится в действие электродвигателем постоянного тока П-31, аналогичным по устройству двигателю П-41.
Технические данные электродвигателей постоянного тока
Тип электродвигателя....... П-П П-31 П-41
Номинальная мощность, кВт .... 0,5 0,7 12
Напряжение, В......... 50 по 50
Частота вращения, об/мин ..... 2800 1000—2000 900—1200
Число главных полюсов ...... 2 2 4
» дополнительных полюсов ... 1 ] 4
Масса, кг............ 18,5 54,5 78
Для привода вентилятора кабины машиниста электропоезда ЭР2Р служит электродвигатель АОМ-22-2. по устройству аналогичный электродвигателю АОМ-32-4.
|
|