Быстродействующий выключатель (БВ) предназначен для защиты силовой цепи тяговых двигателей от токов к. з. и перегрузок.
Конструкция БВ обеспечивает настолько быстрое отключение, что при к.з. ток не успевает достигнуть наибольшего значения. Это значительно повышает защитные свойства выключателей. Следует иметь в виду, что время нарастания тока к.з. составляет сотые доли секунды, поэтому собственное время выключателя (время от момента достижения током уставки до начала расхождения контактов) должно быть не более 0,002—0,005 с. Это требование определяет конструкцию БВ. Он не должен иметь механических фиксаторов включенного положения, выключение должно осуществляться сильными пружинами, способными создать достаточную скорость движения контактов, подвиж--ные части должны быть легкими, чтобы меньше сказывалась их инерция. Ду-гогасящее устройство выключателя должно быть способным разрывать возникающую между контактами дугу.
Быстродействующий выключатель БВП-105А (рис. 78) поляризованный, т. е. срабатывает при прохождении тока по размагничивающему витку только в определенном направлении. Он состоит из рамы, магнитной системы, главных контактов, дугогасительного устройства, пневматического привода 8 и блокировочного устройства 15.
Рама имеет два основания: верхнее и нижнее, которые соединены четырьмя стойками, две из которых являются изолированными. На изолированных стойках монтируют магнитную систему, контактную систему, пневматический привод. К раме также крепят текстолитовую панель, на которой установлено ду-гогасительное устройство. Магнитная система состоит из магнитопровода 1, набранного из листовой стали, удерживающей катушки 16 и размагничивающего силового витка 14, который находится внутри магнитопровода. Система главных контактов имеет два подвижных контакта 5 с рычагами и два неподвижных 4. Неподвижный контакт устанавливают в специальном держателе, закрепленном на изоляционной плите. Подвижный контакт крепят на конце рычага подвижного механизма. Рычаги подвижных контактов соединены последовательно гибким медным шунтом.
Дугогасительное устройство включает в себя две дугогасительные катушки 3, полюсы 2 и две дугогасительные камеры. Дугогасительные катушки намотаны проводом ПС-3000 сечением 70 мм'2. Полюсы набраны из листовой стали.
Двукратная дугогасительная камера (рис. 79) состоит из обычной камеры, разделенной продольной асбоцементной перегородкой 5 на две щели. Два ду-гогасительных рога 2, расположенных на стенках камеры, соединяются контактными ножами / с силовой цепью, а два других рога, расположенных с обеих сторон перегородки, соединены между собой. В торцах камеры поставлены набранные из отдельных элементов металлические пластинки, которые образуют деионную решетку 4. Она предотвращает выхлоп пламени наружу.
Пневматический привод состоит из пневматического цилиндра, диска со штоком, системы рычагов и электропневматического вентиля. Пневматический цилиндр представляет собой замкнутую камеру, разделенную резиновой диафрагмой на две полости. В рабочую полость камеры подают сжатый воздух, который воздействует на диафрагму, деформирует ее и тем самым переме-
щает шток привода, связанный с подвижной контактной системой. Блокировочные контакты включаются рычагом, связанным с подвижной системой.
Включение Б В происходит в такой последовательности. Вначале замыкают цепь тока удерживающей катушки. При этом магнитопровод намагничивается, но никакого движения подвижных частей не происходит, так как сила электромагнита недостаточна для притяжения якоря. Затем подают напряжение на катушку электропневматического вентиля. Он возбуждается и впускает сжатый воздух в пневматический привод выключателя. Начинается движение диска, который своим штоком воздействует на рычаги подвижной системы и вместе с якорем подводит их к магнитопроводу, растягивая при этом выключающие пружины. Шток своим валиком нажимает на рычаги подвижных контактов и вызывает их поворот, в результате которого якорь прочно притянется к магнитопроводу, но силовые контакты еще не замкнутся, хотя и сблизятся. Лишь когда прекратится питание электропневматического вентиля и его шток опустится вниз, под действием пружин произойдет поворот рычагов главных контактов вокруг своего шарнира и подвижные контакты замкнутся с неподвижными.

Рис. 78. Быстродействующий выключатель БВП-105А:
/ — магнитопровод: 2 — полюс; 3 — дугогасительная катушка; 4 — неподвижный контакт; 5—подвижной контакт; б ткорь; 7— отключающая пружина; 8 — пневматический привод; 9 —- воздухопро-юд; 10— электропневматический вентиль; // — шунт; 12 — рычаг подвижного контакта; 13 — рычаг; 14 — размагничивающий виток; 15 — блокировочное устройство; 16 — удерживающая катушка
Следует отметить,что поскольку блок-контакты связаны рычагом с подвижной системой, то они меняют свое положение в момент соприкосновения якоря с магнитопроводом магнитной системы. Таким образом, сигнальные лампы, связанные с блок-контактами, указывают не на замыкание силовых контактов выключателя, а лишь на притяжение якоря к магнитопроводу.
Выключение Б В может происходить при служебном выключении по воле машиниста, при срабатывании дифференциального реле, при перегрузке или коротком замыкании в силовой цепи. В первом случае отключение осуществляют обесточиванием удерживающей катушки (рис. 80). При этом отключающие пружины 8 (рис. 81) с силой оттягивают рычаги подвижных контактов и якорь от размагниченного магнитолровода. Подвижные части отходят вниз до упора в валик штока пневматического цилиндра.
При срабатывании дифференциального реле размыкается блок-контакт удерживающей катушки и ВВ отключается, При перегрузке или к.з. в цепи тяговых двигателей выключение ВВ происходит под воздействием тока размагничивающего витка, создающего в якоре магнитный поток, направленный против потока удерживающей катушки. Когда сила притяжения якоря станет меньше усилия отключающих пружин, якорь отрывается и главные контакты размыкаются. Это происходит при достижении силовым током уставки.
Во всех случаях выключения БВ под нагрузкой между его расходящимися контактами возникает электрическая дуга. При этом в зоне контактов создается сильное магнитное поле, пересекающее дугу. Происходит взаимодействие

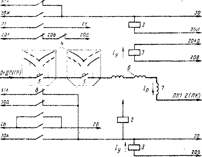
Рис, 80, Электрическая
схема быстродействующего выключателя:
.', 8 — блокировочные кон такты (соответственно НП элек гропоімдах »P2P и ЭР2; 1 — катушка VK-ктро-пневматического вентиля: •1 — удерживающая катущ-кн; .( • дугогисительные камеры; .1 • главные контакты: а .- дугш-яентольныг на-тушки: 7 РЯЗМНІЧШЧИВ.ІЮ. і ц и я катушка

тока дуги с магнитным потоком дугогасительных катушек, в результате чего дуга стремительно выбрасывается на рога, расположенные над подвижным и неподвижным контактами, а средняя часть дуги попадает в лабиринтные щели дугогасительной камеры. Там происходит быстрое и значительное увеличение ее длины. При достижении ею критического значения дуга рвется. Раскаленные газы, образующиеся в это время в дугогасительной камере, выбрасываются наружу, но размещенная на краях камеры деионная решетка охлаждает эти газы, вызывая их деионизацию и предотвращая выброс пламени за пределы дугогасительной камеры.
Регулировку Б В осуществляют в аппаратном цехе во время его ремонта. При этом обеспечивают определенные значения нажатия силовых контактов и тока в размагничивающем витке, при котором выключающие пружины оторвут якорь от магиитопровода. Нажатие контактов регулируют изменением натяжения выключающих пружин, которое должно быть в пределах 90—100 Н (9—10 кгс), что соответствует 35—38,5 Н (3,5—3,85 кгс) на динамометре, при-

Рис. 81. Кинематическая схема быстродействующего выключателя;
и - выключенное положение; б-- промежуточное положение; в — включенное положение- / -пневматический привод; г - рычаг якоря; 3 — регулировочные винты; 4 — неподвижный контакт; * подвиж.іоіі контакт; Ь- б\фер; 7 — размагничивающий виток; 8 — отключающая пружина; }- якорь; 10 — точка приложения силы при измерении контактного иажатия; Фу - магнитный ноток удерживающей катушки; фр магнитный поток размагничивающего витка
ложенном к концу рычага подвижного контакта. Натяжение динамометра должно увеличиваться постепенно до момента, когда из-под подвижного контакта можно будет вынуть предварительно помещенный туда лист бумаги.
Технические данные БВ
Номинальное напряжение, кВ...... 3
Предельный отключаемый ток, кА..... 20
Номинальное напряжение удерживающей катушки, В 50/110
Раствор силовых контактов, мм...... 30±5
Ширина силовых контактов, мм ..... 11-п.и
Номинальное давление воздуха, МПа (кгс/см2) . . 0,5 I" Число витков катушки:
дугогасительной ......... 9
размагничивающей........ 3
удерживающей........ 4305/9500
Ток уставки, А......... 575±25/600±30
Сопротивление удерживающей катушки при 20 °С,
Ом.............32,5±*:«/161+_1?
Примечание. В числителе — данные для электропоезда ЭР2. в заменителе — для ЭР2Р.
После регулировки пружин по силовой цепи БВ пропускают ток от специального генератора и производят настройку на заданный ток уставки путем поворачивания регулировочных винтов в магнитопроводе. Если выключатель отключается при слишком малом токе, регулировочные винты должны быть дополнительно ввернуты в магнитолровод. Если выключение происходит при слишком большом токе, регулировочные винты несколько вывинчивают из магнитопровода. После завершения регулировки винты пломбируют.
|
|