Реверсивные и тормозные переключатели относят к групповым контакторам с двухпозиционным приводом, которые производят переключения при отсутствии тока в силовых цепях. Эти аппараты имеют пневматический привод и выполнены без дугогашения.
На электропоезде ЭР2 применяют реверсивный переключатель ПР-320А, а на электропоезде ЭР2Р— реверсивно-тормозной переключатель 1П.004. Реверсивный переключатель предназначен для изменения направления тока "в обмотках возбуждения тяговых двигателей с целью изменения направления движения поезда, тормозной переключатель — для переключения силовой цепи из тягового режима работы в тормозной.
Реверсивный переключатель ПР-320А представляет собой металлическую конструкцию, состоящую из двух поперечных алюминиевых рам 1, 7 (рис. 93) и двух продольных уголков 2. Между поперечными рамами установлены две текстолитовые рейки 10, на которые крепят восемь силовых кулачковых контакторов 4 типа КЭ-4Д. Два кулачковых контактора 6 цепи управления КР-ЗА установлены на кронштейне. В рамы запрессованы подшипники 11, ъ которых вращается кулачковый вал 5 с насаженными на него шестью кулачковыми'шайбами 3, четыре из которых служат для переключения восьми силовых контакторов 4, а две — для переключения двух контакторов управления 6. (На реверсивных переключателях прежних выпусков одна шайба переключала два контактора управления.) Шайбы имеют квадратные отверстия для крепления на стальном квадратном валу.

Рис. 93. Реверсивный переключатель ПР-320А:
1,7 — поперечные рамы: 2 — продольные уголки; 3 — кулачковые шайбы; 4 — силовые контакторы; 5 — кулачковый вал; 6 — контактор управления; « — пневматический привод; 9 — электропиев-матический вентиль; 10 — рейка; // — подшипник
На верхней раме расположен пневматический привод, состоящий из цилиндра / (рис. 94), в котором находятся два поршня 4, жестко связанных общим штском 2. В средней части штока размещен сухарь 3 со вставленным в него поводком 6, при помощи которого происходит поворот кулачкового вала 7. На крышках 5 цилиндра установлены два электропневматических вентиля ВВ-2А. При возбуждении соответствующего вентиля воздух поступает в одну из полостей пневматического цилиндра, перемещая при этом поршни в одно из крайних положений, а шток в это время поворачивает связанный с ним поводок и кулачковый вал в заданное фиксированное положение. Кулачковые шайбы при этом замыкают или размыкают соответствующие контакторы. Реверсор имеет два положения (вперед и назад), в каждом из которых замкнуты четыре силовых контактора и один контактор управления.
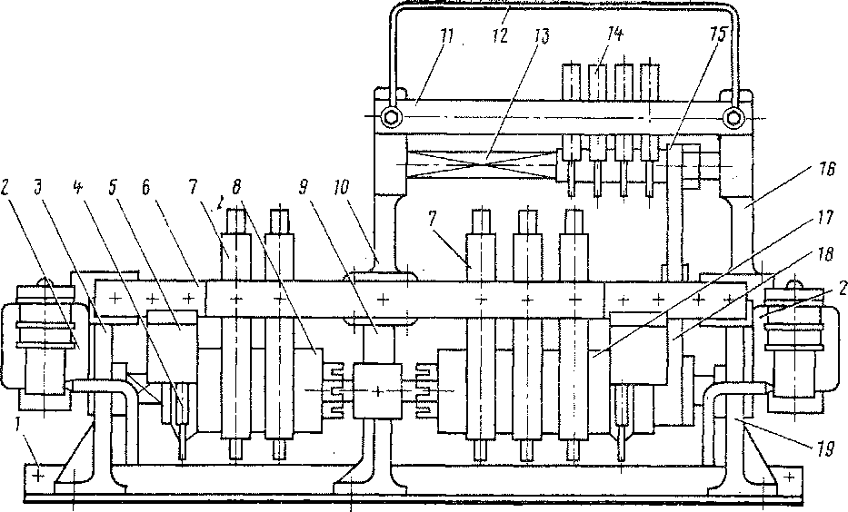
Реверсивно-тормозной переключатель 1П.004 (рис. 95) объединяет в себе реверсивный и тормозной переключатели, каждый из которых имеет самостоятельный двухпозиционный поршневой электропневматический привод. Блочная конструкция переключателя 1П.004 состоит из двух стальных продольных уголков / и трех поперечных литых рам 3, 9, 19, средняя 9 из которых является общей для обоих аппаратов. Сверху установлены еще две поперечные рамы 10, 16, принадлежащие низковольтной части тормозного переключателя. Между нижними поперечными рамами установлены две текстолитовые рейки
6, 11, к которым крепят силовые кулачковые контакторы 7 типа КЭ-4Д (восемь для тормозного переключателя и четыре для реверсивного). Шесть контакторов управления 14 типа КЭ-42А тормозного переключателя установлены на стальных рейках верхней части конструкции, а два контактора 4 реверсивного переключателя — на кронштейнах в нижней части конструкции.
Кулачковый вал реверсивного переключателя представляет собой сталь-


Рис. 95. Реверсивно-тормозной переключатель 1П.004:
/ — уголок; 2 — электропневматнческий привод; 3, 9, 10, 16, 19 — поперечные рамы; 4, /4 — контакторы управления; 5 —кронштейн; 6, // — рейки; 7 — контакторы силовые; 8, 17 — кулачковые валы; 12 — скоба; 13 — кулачковый вал контакторов управления; 15, 18 — поводки
ной квадрат с насаженными на него изоляционными кулачковыми шайбами. Кулачковый вал тормозного переключателя аналогичен реверсивному, только на нем еще закреплен стальной поводок 18, который поворачивает кулачковый вал контакторов управления. Каждая кулачковая шайба размыкает и замыкает два контактора. В средней раме, являющейся общей, установлены шариковые подшипники, а в крайних рамах — игольчатые подшипники кулачковых валов. Кулачковый вал верхней части конструкции также вращается в шариковых подшипниках, установленных в рамах.
Передача вращающего момента от кулачкового вала тормозного переключателя на кулачковый вал контакторов управления осуществляется двумя стальными поводками, один из которых закреплен на главном валу, а другой — на валу управления.
Техническне данные переключателей
Тип переключателя......... ПР-320А Ш.004
Номинальное напряжение, кВ....... 3 3
» » цепи управления, В 50 110
Число фиксированных положений..... 2 2
Угол поворота кулачкового вала, град .... 45 45/40*
Диаметр пневматического цилиндра, мм ... 58 58
Ход поршня, мм ........ 40 40
Номинальное давление ' сжатого воздуха, МПа
(кгс/см2)............ 0,5(5) 0,5(5)
Число силовых контакторов....... 8 4/8
» контакторов управления ...... 2 2/6
* В числителе — для реверсивного, в знаменателе — для тормозного переключа теля.
Электропневматические приводы реверсивного и тормозного переключателей по своему устройству и работе аналогичны электропневматическому приводу реверсора электропоезда ЭР2.
|
|