Междувагонные соединения. Коммутирующие устройства устанавливают в силовых цепях и цепях управления. К коммутирующим устройствам можно отнести междувагонные соединения, разъединители цепей управления, различного рода выключатели, рейки зажимов, заземляющие устройства, рубильники.
Междувагонные соединения служат для соединения высоковольтных и низковольтных электрических цепей между сцепленными вагонами. В комплект междувагонных соединений входят розетка и штепсель.
Розетки РСБ-20-16Б, РСБ-20-16В и штепселя ШС-20-16Б, ШС-20-16В предназначены для соединения вспомогательных цепей напряжением 3000 В моторного и прицепного вагонов электропоезда ЭР2, а на ЭР2Р — для соединения цепей отопления и преобразователя,"
Розетка (рис. 132, а) имеет стальной литой корпус /, в цилиндрической части которого укреплена круглая изоляционная панель 2 с одним контактным бронзовым штырем 3. В верхней части розетки в закрытой коробке 6 размещен блок-контакт барабанного типа. Высокое напряжение на штырь подается только после замыкания этого блок-контакта.
Штепсель (рис. 132, б) имеет круглый корпус, внутри которого размещена изоляционная панель с контактным латунным гнездом 9. На цилиндрической части корпуса имеется прилив 5, который входит в паз 5 (см. рис. 132. а) цилиндрической части розетки и в вилку, укрепленную на блокировочном барабане // (рис. 132, в). На блокировочном барабане закреплены сегменты 10, на которые находят пальцы 13. Поворачивая вставленный штепсель, поворачивают барабан, включая при этом блокировочное устройство. Паз сделан фигурным, поэтому, чтобы вытащить штепсель, его необходимо повернуть в пазу. Одновременно при помощи вилки 12 поворачивается и барабан, размыкая блок-контакты. Таким образом, размыкание силовых контактов происходит при обесточенной цепи, а при вынутом штепселе не может быть подано напряжение. Вставленный и повернутый штепсель удерживается пружинной защелкой 4 (см. рис. 132, а) и выступом на крышке 7 розетки.
Междувагонные высоковольтные соединения имеют исполнения Б и В.Исполнение В отличается наличием фиксирующего винта на розетке входящего в соответствующий паз штепселя. Конструкции исполнений Б и В не позволяют осуществить соединение разноименных цепей, что предотвращает включение


машин и аппаратов на неправильную полярность. Продолжительный ток силового контакта 45 А, а блок-контакта—5 А. На электропоездах последних выпусков применяют комплект из розетки штепсельной 1РШ-006 и вилки 1ВШ-006. Эти соединения отличаются от показанных на рис. 132 РСБ-20-16Б, РСБ-20-16В и ШС-20-16Б, ШС-20-16В только утолщенными уплотнениями розетки и штепселя, обеспечивающими пыле-, брызго-, влагонепроницаемость и наличием запорного замка, который удерживает штепсель (вилку), включенный в розетку, а при выключенном штепселе—крышку розетки. Выключенный штепсель вставляется в холостой приемник Сочленение и расчленение штепсельного соединения необходимо выполнять только при снятом напряжении.
Низковольтные розетки РУ-101А и штепселя ШУ-101А служат для соединения проводов цепей4 управления между вагонами электропоезда ЭР2.
Розетка (рис. 133, а) имеет чугунный корпус 4, в котором находится изоляционная панель 5 с контактными гнездами. Сзади панели в гнезда ввернуты контактные зажимы, в которые впаяны провода цепей управления.
Штепсель (рис. 133, б) имеет крышку 7, алюминиевый корпус 8. В нем укреплена изоляционная панель 9 с контактными штырями из бронзы, в которые ввернуты контактные зажимы.
При соединении штепсель вставляется боковыми приливами 6 в ползун 3 (см. рис. 133, а) рычажного механизма 2 розетки. Рычаг находится в верхнем положении. При повороте рычага вниз ползуны 3 направляют штепсель в розетку, и в положении, при котором все штыри плотно вставлены в гнезда, рычажный механизм запирает штепсель.
Для крепления свободного штепселя на торце вагона устанавливают холостые приемники, конструкция которых аналогична конструкциям розеток, но они не имеют пластмассовой панели с контактными гнездами. Крышка 1 закрывает розетку при выключенном штепселе. Включение штепселя в розетку должно происходить при небольшом усилии. Продолжительный ток через соединения составляет 20 А.
На электропоездах ЭР2Р для междувагонного соединения цепей управления используют штепсельное соединение 2СШ.001 (рис. 134). Оно состоит из розетки 2РШ.001 и штепселя 2ВШ.001, имеется держатель 2ДШ.001. Розетка и штепсель выполнены из алюминиевого сплава. На двух сочлененных изоляционных панелях из пенопласта собраны гнезда 6 розетки и штыри 5 штепселя. Панели между собой соединены тремя,винтами 7. Гнезда и штыри изготовлены из латуни и закреплены в изоляционных панелях свободно, следовательно, допускается их свободное продольное и поперечное незначительное перемещение до 0,3 мм и угловое — до 5°. Это обеспечивает лучшее соединение контактов и уменьшает их износ, а также электрическое сопро-
тивление. Розетка и штепсель, так же как и на электропоезде ЭР2, имеют 34 контакта, рассчитанные на продолжительный ток 25 А и напряжение 220 В. Рычажный механизм 4 разъема и соединение розетки со штепселем такие же, как у РУ-101А и ШУ-101А.
На электропоездах ЭР2Р для междувагонного соединения трехфазных вспомогательных цепей напряжением 380 В применяют штепсельное соединение 2СШ.005. По конструкции оно отличается от соединения 2СШ.001 размером гнезд розетки и штырей штепселя, а также и их числом. Междувагонное соединение 2СШ.005 служит для соединения только трех силовых и одного нулевого провода. Продолжительный ток силовых проводов допускается до 150 А, а нулевого провода — 50 А.
Разъединитель цепей управления (РУМ). Он предназначен для отключения цепей управления неисправного моторного вагона. РУМ состоит из секций 3 (рис. 135), стянутых шпильками 2. Через все секции проходит центральный кулачковый вал /, который при помощи рукоятки 4 вращается в двух рамах. На двух изолированных шпильках между рамами закреплены 24 кулачковых кон тактора, по 12 с каждой стороны. Каждая кулачковая шайба 7 воздействует на один кулачковый контактор.
Неподвижные контакты 5 размещены в текстолитовой рейке 9, соединяющей обе рамы, и выполнены в виде стальных скоб с серебряными контактами. Подвижные контакты 6, 10 сделаны в виде стальных пальцев с серебряными напайками. Они оборудованы контактными пружинами и гибкими ленточными" шунтами 11, присоединенными к выводным зажимам 12. Каждая секция изолирована от других пластмассовыми перегородками 5. Переключатель устроен так, что скоба с неподвижными контактами является средним выводом каждой пары кулачковых контакторов.

Рис. 136. Выключатель управления ВУ-223

Между передней рамой и пластмассовой накладкой размещен фиксирующий механизм, состоящий из рычага с. роликом, фиксирующей пружины и храповика. Переключатель имеет одно выключенное и два включенных положения. Во включенном положении один верхний контактор разомкнут, а остальные замкнуты. Замыкание и размыкание контактов каждой секции осуществляется кулачковыми шайбами, две из которых служат для включения двух подвижных контактов, а одна общая — для отключения.
Рейки зажимов. Они служат для соединения проводов низкого напряжения и представляют собой планки с зажимами-болтами Мб. Для изготовления реек используют древесину, текстолит, пластмассу или гетинакс. На болты надевают наконечники проводов междувагонных соединений и аппаратов. На одной рейке может быть установлено до 16 болтовых зажимов. Если площадь сечения подключаемых проводов 2,5—4 мм2, то допускается применение четырех наконечников на зажим, а если площадь сечения 6—50 мм2, — двух наконечников.
Рубильник открытого исполнения. Он служит для ручного отключения аккумуляторной батареи при предварительно обесточенных цепях и имеет два полюса. Рубильник устанавливают вертикально. Он рассчитан на напряжение ПО В и ток ПО А.
Выключатель управления ВУ-2233тот однополюсный выключатель рычажного типа с мгновенным разрывом дуги служит для коммутации цепей управления, имеет пластмассовый корпус 10 (рис. 136), два неподвижных контакта 2 и дугогасительную асбоцементную камеру 3. Выключатель закрывается пластмассовой крышкой //. Подвижной перекидной контакт 4, выполненный в виде стальной пластины, в верхней части имеет напаянные полосы из листовой- латуни. Подвижной контакт гибким медным шунтом 5 соединен с вводным зажимом 7. Он входит в призматический вырез рукоятки 9 и прижимается к ней пружиной 6. Пружина закреплена одним концом на подвижном контакте, а другим — на оси 8 рукоятки. Рукоятка имеет два положения: ««Включено» и «Выключено». При повороте рукоятки в положение «Включено», когда осевая линия рукоятки пересечет продольную ось пружины, подвиж-
ной контакт мгновенно перекинется и замкнется с неподвижным контактом, который соединен с выводным зажимом 1, подключенным к цепи управления.
Выключатель имеет встроенный предохранитель. Ток продолжительного режима равен 30 А. В служебном тамбуре для управления дверями установлен выключатель, имеющий два положения. При замыкании перекидного подвижного контакта подается питание поочередно на неподвижные контакты, подключенные к выводным зажимам, на которых закреплены провода управления дверями.
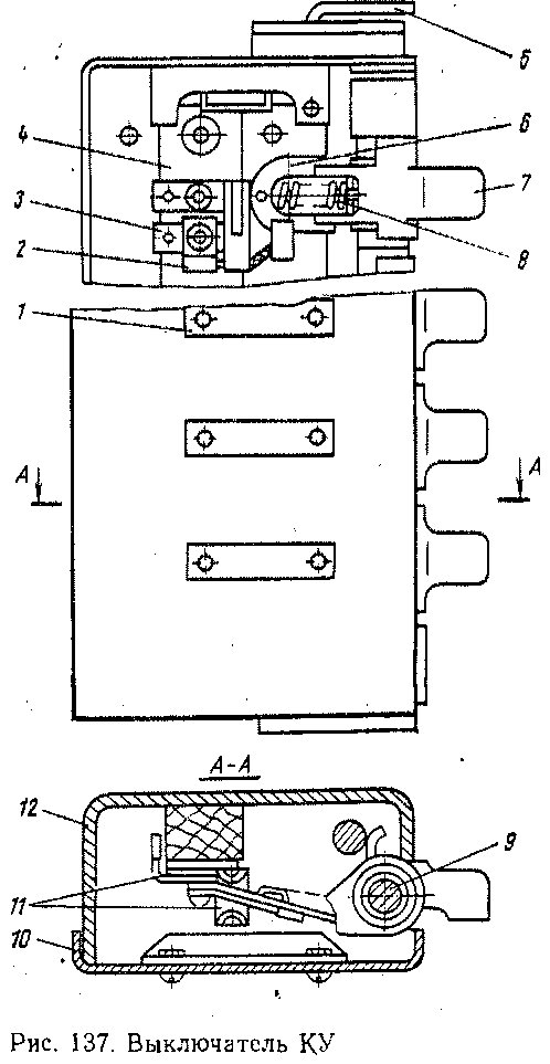
Выключатели КУ (кнопочные).Они служат для коммутации низковольтных цепей поезда (освещение, отопление, подъем и опускание токоприемника, включение защиты и др.). Выключатель КУ имеет набор рукояток включения 7 (рис. 137), укрепленных на общем валике 9, их можно переводить независимо друг от друга. В прорезях рукояток укреплены подвижные контакты, прижимаемые пружиной. Подвижные контакты 6 соединены с выводами гибкими проводниками 2. На изоляционной рейке 4 укреплены неподвижные контакты 11 и выводы 3.
Контактное нажатие создается пружиной 8. Все рукоятки находятся в корпусе 12, закрытом крышкой 10. Против каждой кнопки имеется табличка 1 с надписью о назначении этой кнопки.
Кнопки можно заблокировать в определенном положении блокирующей рукояткой 5, находящейся в торце выключателя.
Выключатели В К-300. Согласно правилам техники безопасности лестницы
подъема на крышу моторного вагона должны быть сблокированы с цепями управления токоприемником.
Для предотвращения попадания на крышу при поднятом токоприемнике при открытой лестнице токоприемник автоматически должен опускаться. Для этого предназначен выключатель В К-300 (рис. 138). Он имеет электрически не связанные контакты (один замыкающий и один размыкающий), которые обеспечивают двойной разрыв цепи.
Выключатель устроен следующим образом. В корпусе 5 расположены неподвижные контакты 4. Они установлены на колодках, изолированных от корпуса прокладками из электрокартона. На стальной оси 14 между колодками помещен рычаг 2, на котором расположены подвижные контакты 3 в сборе с контактной пружиной. Сверху на шлицевой валик 10 установлен приводной рычажный механизм, имеющий рычаг 7 с роликом 6. Валик 10 имеет уплотнение 9. Шлицы на валике 10 позволяют устанавливать рычаг 7 в разных положениях по отношению к валику. Рычаг фиксируется в определенном положении пробкой 20. Валик 10 скреплен штифтами с сухарем, который входит в разрез свободно вращающегося на ва-


лике поводка 12. Поводок 12 [имеет пружину 11 и шарик 13, опирающийся на поверхность планки 22.
Срабатывание выключателя осуществляется следующим образом. При нажатии на рычаг 7 усилие передается на поводок, который, перемещаясь, нажи-мает на одну из защелок 23, выводя ее из зацепления с планкой 22, а пружи-на И через шарик 13 поворачивает планку и с ней рычаг 2 с контактными мостиками. Происходит мгновенное срабатывание выключателя, разрываются цепи управления электропоездом и подается питание на вентиль опускания токоприемника. В новом положении система удерживается второй защелкой 23.
Для того чтобы систему вернуть в исходное положение, необходимо снять усилие с рычага 7. Пружина 21 возвратит систему в исходное положение. Корпус 5 крепится иа основании 16 винтами 24. Аппарат закрывается крышкой 18, которая закреплена винтами 8. Между корпусом и крышкой помещена прокладка 19, а между корпусом и основанием — .прокладка 15.
Выключатель заземляется через винт заземления 25. Провода подводятся через отверстие 17 и подсоединяются к зажимам /.
Технические даииые выключателя ВК-300
Номинальное напряжение, В........., 220
Номинальный ток, А............ б
Ход, град:
рабочий.............. 12
полный.......\ \ 22±2
Масса, кг............' \ 035
Выключатели ВПК-2112. Устанавливают их на крышках подвагонных ящиков с высоким напряжением и дверях высоковольтных шкафов. Имеются блокировки с цепями токоприемника, с целью предотвращения попадания в ящик или высоковольтный шкаф при- поднятом токоприемнике. Применяют их также для блокировки наружных входных дверей. Выключатели ВПК-2112 имеют один замыкающий и один размыкающий контакты мостикового типа с двойным разрывом цепи, прямого действия с самовозвратом.
Технические данные выключателя ВПК-2112
Номинальный ток, А............ 4
Номинальное напряжение, В.......... 220
Механическая износостойкость переключений, не менее ... 107 Усилие, необходимое для обеспечения полного хода подвижной
системы аппарата, не менее, Н (кгс)....... 10(1)
Рабочий ход, мм............. 7,5±|;|
Максимально допустимый полный ход, мм...... 10,5
Масса, кг............... 0,433
Переключатели мгновенного действия ТВ1. Переключатели ТВ1 служат для коммутации электрических цепей управления и сигнализации. Их подразделяют на ТВ 1-1 и ТВ 1-2 (рис. 139, а и б). Переключатели ТВ 1-1 установлены в кабине машиниста на блоке Б для включения освещения скоростемера, на блоке ВВ в цепях «Освещение», «Дежурное освещение», «Буферные фонари», «Сигналы верхние и нижний», «Сигнальные лампы», «Маршрутный фонарь», «Освещение кабины» и на блоке Р — для включения освещения расписания, переключатели ТВ 1-2 — на блоке ВВ в цепях «ЭПТ» и «Радиосвязь», кроме этого, на панелях системы АЛСН для переключения «Дз» и «В» («Дз» служит для переключения периодичности свистка ЭПК на неко-дированных участках; «В» — тумблер двух положений переключения огней локомотивного светофора).
Технические данные переключателей
Тип переключателя......... ТВ 1-1 ТВ 1-2
Номинальный ток, А......... 5 2
Номинальное напряжение, В....... 220 220
Отключаемая мощность, Вт....... 250 220
Число контактов:
размыкающих.......... 1 2
замыкающих.......... 1 2
Износостойкость (число переключений) . . . 10 000
Масса, кг............ 0,035
Кнопки. На электропоездах применяют кнопки различных типов для кратковременной подачи напряжения в цепях низкого напряжения. Кнопку КЕ-011 (рис: 140) устанавливают на головном вагоне в блоке ДВ в .цепи ЩТ, на моторном вагоне — для управления токоприемником этого вагона. Номинальное напряжение кнопки 220 В, номинальный ток 6 А, масса 0,15 кг.
Кнопка НАЗ.604.022 имеет два размыкающих и два замыкающих контакта, ее монтируют на панели системы АЛСН («ВК» — кнопка переключения ог-

Рнс. 139. Общий вид переключателей ТВ1-1 (а), ТВ1-2 (б) и схемы их коммутации (соответственно в, г)

Рис. 140. Кнопка КЕ-011:
/ — фланец; 2 — возвратная пружина; 3 — толкатель; 4 — фронтальное кольцо; 5 — панель; 6 — ориентирующее кольцо; 7 —гайка; 8, 12 — пружины; « — неподвижные контакты; 10 — скобы; 11 — вннты; 13 — траверсы; 14 — пластмассовый корпус; 15 — контакты мостикового типа; 16 — нажимная шайба
ней светофора с красного на белый) на задней стенке кабины. Эта кнопка служит для зажигания белого огня на локомотивном светофоре.
Кнопка И АЗ.604.016 имеет один замыкающий контакт, ее устанавливают ня блоке регулирования и защиты генератора.
Технические данные кнопок НАЗ.604.016 н НАЗ.604.022
Номинальное напряжение, В.......... 220
Номинальный ток, А............ 4
Отключаемая мощность, Вт.......... 250
Максимальное число включений......... 10 000
Масса кнопки НАЗ.604.016, кг.......... 0,021
» » НАЗ.604.022 ».......... 0,125
Кнопка КМЗ (рис. 141) имеет два замыкающих и два размыкающх контакта, устанавливается в подвагонном ящике ЯК-104Б и служит для возврата РПД и РПК. На пластмассовой колодке / установлены неподвижные контакты 2. Кнопка имеет стержень 6, головку 3, возвратную пружину 4, контактный мостик 5 и контактную пружину 7.
Рис. 141. Кнопка КМЗ
|
|